TOP
|
特許
|
意匠
|
商標
特許ウォッチ
Twitter
他の特許を見る
公開番号
2025137679
公報種別
公開特許公報(A)
公開日
2025-09-19
出願番号
2025121811,2021070056
出願日
2025-07-21,2021-04-18
発明の名称
販売システム
出願人
株式会社アスタリスク
代理人
個人
,
個人
主分類
G07G
1/00 20060101AFI20250911BHJP(チェック装置)
要約
【課題】RFタグを付すことができない商品であっても効率的に会計処理を行うことができる販売システムを提供する。
【解決手段】本発明の販売システム100は、カメラ10によって生成された画像に基づいて顧客を認識する認識部と、前記顧客によってピックアップされた商品Gを特定する特定部と、前記認識された顧客に対して、前記特定された商品の会計情報を提示するレジ装置40と、を備えることを特徴とする。
【選択図】図2
特許請求の範囲
【請求項1】
カメラによって生成された画像に基づいて顧客を認識する認識部と、
前記顧客によってピックアップされた商品を特定する特定部と、
前記認識された顧客に対して、前記特定された商品の会計情報を提示する会計処理装置と、
を備えることを特徴とする販売システム。
続きを表示(約 110 文字)
【請求項2】
前記認識部は複数の顧客を認識し、
前記会計処理装置は、一の前記顧客の会計情報と、当該一の顧客に連続する他の顧客の会計情報を提示することを特徴とする、
請求項1に記載の販売システム。
発明の詳細な説明
【技術分野】
【0001】
本発明は、店鋪における商品販売に用いられる販売システムに関するものである。
続きを表示(約 1,300 文字)
【背景技術】
【0002】
商品販売における会計処理の効率化を図るために、例えば特許文献1に記載の技術が提案されている。特許文献1に記載された技術は、イベント会場等での商品販売を、RFID技術を用いて効率化する販売システムであって、イベント会場の出入り口に配置されるゲートを備えている。ゲートは、商品の各々に付されたRFタグやユーザが有するIDカードから商品IDやユーザIDを読み取る読取部と、読み取った商品IDおよびユーザIDをサーバに送信する送信部と、を備えている。サーバは、ゲートから受信した商品IDおよびユーザIDを購入情報としてメモリに記憶するとともに、当該購入情報に基づいて生成した決済情報をレジ装置へと送信する。
【先行技術文献】
【特許文献】
【0003】
特開2020-191042号公報
【発明の概要】
【発明が解決しようとする課題】
【0004】
しかしながら、上記特許文献の販売システムでは、販売されている商品の全てにRFタグを付す必要があり、RFタグを付すことができない商品を取り扱っている店鋪、例えば、店舗において調理された食品をそのままピックアップして会計する店鋪では上記の販売システムを用いることが困難である。
【0005】
本発明は、RFタグなどの識別媒体を付すことができない商品であっても効率的に会計処理を行うことができる販売システムを提供することを目的とする。
【課題を解決するための手段】
【0006】
上記目的を達成するため、本発明の販売システムは、カメラによって生成された画像に基づいて顧客を認識する認識部と、前記顧客によってピックアップされた商品を特定する特定部と、前記認識された顧客に対して、前記特定された商品の会計情報を提示する会計処理装置と、を備えることを特徴とする。
【0007】
また、前記認識部は複数の顧客を認識し、前記会計処理装置は、一の前記顧客の会計情報と、当該一の顧客に連続する他の顧客の会計情報を提示することを特徴とする。
【発明の効果】
【0008】
本発明の販売システムは、RFタグを付すことができない商品であっても効率的に会計処理を行うことができる。
【図面の簡単な説明】
【0009】
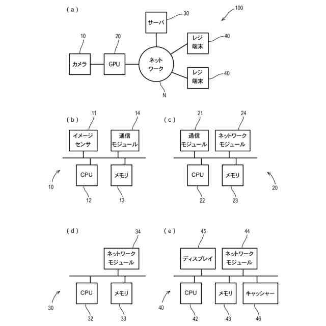
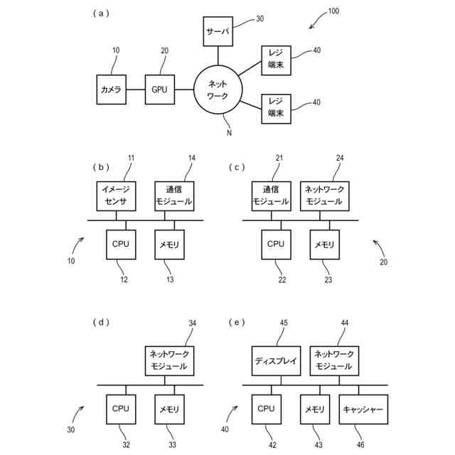
本発明の第1実施形態に係る販売システムが用いられる店鋪の概略図
(a)上記販売システムが有するハードウェア構成図、(b)当該販売システムが有するカメラのハードウェア構成図、(c)当該販売システムが有するGPUのハードウェア構成図、(d)当該販売システムが有するサーバのハードウェア構成図、(e)当該販売システムのレジ装置のハードウェア構成図
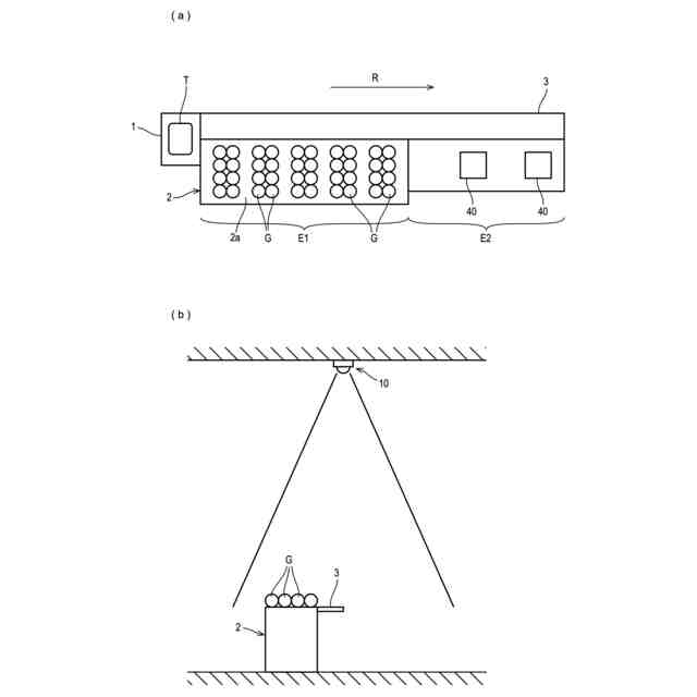
(a)本発明の第2実施形態に係る販売システムが有する陳列装置の正面図、(b)当該陳列装置の側面断面図
上記陳列装置のハードウェアの構成を示す図
【発明を実施するための形態】
【0010】
以下、図面に基づいて本発明の実施形態にかかる販売システムを説明する。
(【0011】以降は省略されています)
この特許をJ-PlatPat(特許庁公式サイト)で参照する
関連特許
株式会社アスタリスク
搬送装置
8日前
株式会社イシダ
商品処理装置
2日前
株式会社バンダイ
物品供給装置
2か月前
株式会社バンダイ
物品供給装置
2か月前
株式会社バンダイ
物品供給装置
2か月前
株式会社バンダイ
物品供給装置
2か月前
富士電機株式会社
通貨識別装置
2か月前
沖電気工業株式会社
紙幣処理装置
1か月前
沖電気工業株式会社
媒体処理装置
1か月前
沖電気工業株式会社
媒体処理装置
1か月前
沖電気工業株式会社
媒体処理装置
1か月前
株式会社ライト
情報処理装置
1か月前
株式会社ライト
情報処理装置
1か月前
富士電機株式会社
自動販売機
1か月前
株式会社ライト
情報処理装置
2か月前
富士電機株式会社
金銭処理装置
2か月前
株式会社デンソー
車載器
今日
グローリー株式会社
物品投出装置
24日前
グローリー株式会社
硬貨処理装置
2か月前
株式会社トイスピリッツ
景品提供システム
1か月前
日本金銭機械株式会社
硬貨処理装置
4日前
日本金銭機械株式会社
硬貨処理装置
4日前
ユニティガードシステム株式会社
入館監視システム
1か月前
沖電気工業株式会社
媒体処理装置
28日前
旭精工株式会社
紙葉類処理装置および紙葉類処理方法
14日前
沖電気工業株式会社
棒金収納装置
1か月前
沖電気工業株式会社
現金処理装置及び印字装置
14日前
沖電気工業株式会社
現金処理装置
1か月前
沖電気工業株式会社
棒金収納装置
1日前
沖電気工業株式会社
媒体識別装置及び媒体処理装置
1か月前
株式会社東芝
ドア構造
1か月前
沖電気工業株式会社
硬貨処理装置及び貨幣取扱装置
1か月前
中井銘鈑株式会社
商品見本取付け構造
1か月前
独立行政法人 国立印刷局
画像観察装置及び画像観察方法
1か月前
株式会社寺岡精工
施設管理システム
1か月前
グローリー株式会社
紙幣処理方法
2か月前
続きを見る
他の特許を見る