TOP
|
特許
|
意匠
|
商標
特許ウォッチ
Twitter
他の特許を見る
10個以上の画像は省略されています。
公開番号
2025138841
公報種別
公開特許公報(A)
公開日
2025-09-25
出願番号
2025113485,2024124191
出願日
2025-07-04,2021-04-09
発明の名称
香味吸引器及び喫煙システム
出願人
日本たばこ産業株式会社
代理人
個人
,
個人
,
個人
,
個人
主分類
A24F
40/40 20200101AFI20250917BHJP(たばこ;葉巻たばこ;紙巻たばこ;喫煙具)
要約
【課題】チャンバに挿入された喫煙物品に対する十分な把持力を確保することができる香味吸引器及び喫煙システムを提供する。
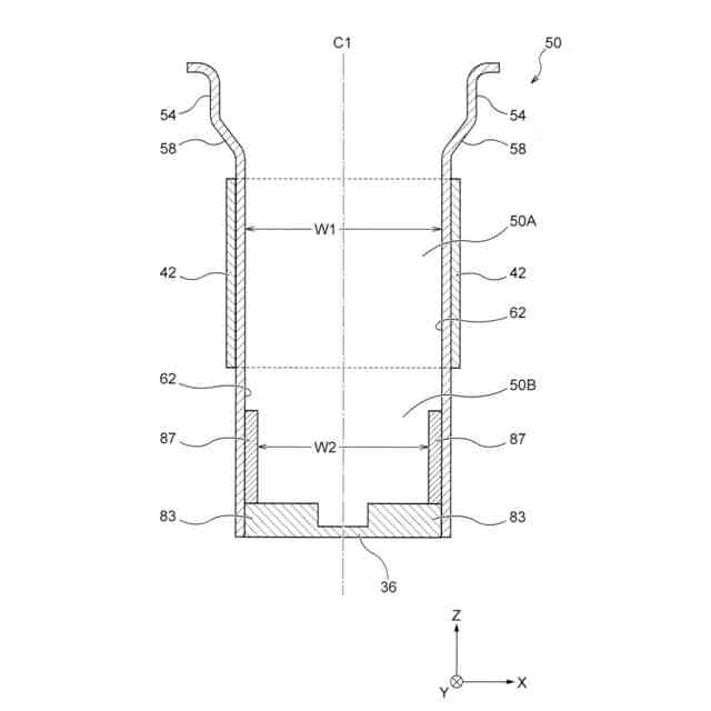
【解決手段】喫煙物品を挿入可能な開口が一端に形成され、前記喫煙物品を収容する収容部と、前記収容部の軸方向に沿って配置され、前記収容部に収容された前記喫煙物品を加熱する加熱部と、前記収容部に収容された前記喫煙物品の側面を把持する把持部87と、を有し、前記収容部の内側面は、前記収容部の軸方向と直交する断面視において、前記加熱部と重なる第1領域50Aと、前記第1領域以外の領域であって、前記収容部の軸方向に沿って、前記収容部の他端と前記加熱部の前記他端側の端部との間に存在する第2領域50Bと、を含み、前記把持部は、前記第2領域に設けられている、香味吸引器、が提供される。
【選択図】図9
特許請求の範囲
【請求項1】
喫煙物品を挿入可能な開口が一端に形成され、前記喫煙物品を収容する収容部と、
前記収容部の軸方向に沿って配置され、前記収容部に収容された前記喫煙物品を加熱する加熱部と、
前記収容部に収容された前記喫煙物品の側面を把持する把持部と、
を有し、
前記収容部の内側面は、
前記収容部の軸方向と直交する断面視において、前記加熱部と重なる第1領域と、
前記第1領域以外の領域であって、前記収容部の軸方向に沿って、前記収容部の他端と前記加熱部の前記他端側の端部との間に存在する第2領域と、
を含み、
前記把持部は、前記第2領域に設けられている、
香味吸引器。
続きを表示(約 1,100 文字)
【請求項2】
請求項1に記載の香味吸引器であって、
前記収容部の中心軸に沿って切断した断面であって、前記把持部を通る断面視において、
(1)式及び(2)式を満たし、
W1≧W2 ・・・ (1)
W3≧W2 ・・・ (2)
前記(1)式及び前記(2)式において、
W1は、前記第1領域の径方向長さであり、
W2は、前記第2領域の径方向長さであり、
W3は、前記第1領域に対応する前記喫煙物品の径方向長さである、
香味吸引器。
【請求項3】
請求項2に記載の香味吸引器であって、
前記把持部は、前記第2領域において、前記収容部の内側に突出する凸部である、
香味吸引器。
【請求項4】
請求項3に記載の香味吸引器であって、
前記収容部の前記他端には、前記収容部の底部を構成する底部材が設けられており、
前記底部材は、前記収容部と一体または別部材として構成されており、
前記凸部は、前記底部近傍に設けられている、
香味吸引器。
【請求項5】
請求項4に記載の香味吸引器であって、
前記凸部は、前記収容部の前記底部から前記一端へ向かって延在している、
香味吸引器。
【請求項6】
請求項5に記載の香味吸引器であって、
前記凸部は、前記収容部の前記一端側の端部近傍に、前記一端に近づくに従い、前記収容部の中心軸から離間するように傾斜する傾斜部を有する、
香味吸引器。
【請求項7】
請求項3~6のいずれか一項に記載の香味吸引器であって、
前記凸部は、一対の突条部を有する、
香味吸引器。
【請求項8】
請求項7に記載の香味吸引器であって、
前記凸部は、前記収容部の前記他端から離れるに従い、前記収容部の中心軸に向かうように傾斜している、
香味吸引器。
【請求項9】
請求項1~8に記載の香味吸引器であって、
前記把持部は、前記収容部の中心軸を通る断面視において、前記加熱部から前記収容部の軸方向に沿って前記収容部の前記他端部側に離間した位置に設けられている、
香味吸引器。
【請求項10】
請求項1~9に記載の香味吸引器であって、
前記喫煙物品は、香味源が充填された香味源充填部を備えており、
前記把持部は、前記収容部に収容された前記喫煙物品の前記香味源充填部を把持する、
香味吸引器。
(【請求項11】以降は省略されています)
発明の詳細な説明
【技術分野】
【0001】
本開示は、香味吸引器及び喫煙システムに関する。
続きを表示(約 1,600 文字)
【背景技術】
【0002】
従来、スティック等の喫煙物品を用いる香味吸引器において、香味吸引器のチャンバに挿入されたスティックを脱落しないよう把持する機構を設けることが知られている。例えば、特許文献1を参照。特許文献1では、チャンバの内部ヒータと鉛直方向に沿って重なる位置に、喫煙物品を把持する突起を設けている。
【先行技術文献】
【特許文献】
【0003】
特表2020-516268号
【発明の概要】
【発明が解決しようとする課題】
【0004】
香味吸引器においてエアロゾルを生成するために、チャンバに挿入された喫煙物品は、加熱要素によって加熱される。この場合、喫煙物品のうち加熱要素の近傍の被加熱領域付近は、加熱によって局所的に痩せ細ることがあり得る。よって、被加熱領域近傍で喫煙物品を把持すると、十分な把持を実行できない場合がある。
【0005】
本開示は、チャンバに挿入された喫煙物品に対する十分な把持力を確保することができる香味吸引器及び喫煙システムを提供する。
【課題を解決するための手段】
【0006】
本開示の第1の態様は、喫煙物品を挿入可能な開口が一端に形成され、前記喫煙物品を収容する収容部と、前記収容部の軸方向に沿って配置され、前記収容部に収容された前記喫煙物品を加熱する加熱部と、前記収容部に収容された前記喫煙物品の側面を把持する把持部と、を有し、前記収容部の内側面は、前記収容部の軸方向と直交する断面視において、前記加熱部と重なる第1領域と、前記第1領域以外の領域であって、前記収容部の軸方向に沿って、前記収容部の他端と前記加熱部の前記他端側の端部との間に存在する第2領域と、を含み、前記把持部は、前記第2領域に設けられている、香味吸引器である。
【0007】
上記第1の態様では、収容部内で喫煙物品を把持する把持部が、収容部の軸方向に沿って加熱部が配置された第1領域とは区別される第2領域に設けられる。よって、上記第1の態様によれば、加熱部と接触しない非加熱領域において喫煙物品を把持することにより、収容部に収容された喫煙物品に対する十分な把持力を確保することができる。
【0008】
本開示の第2の態様は、上記第1の態様において、前記収容部の中心軸に沿って切断した断面であって前記把持部を通る断面視において、(1)式及び(2)式を満たし、
W1≧W2 ・・・ (1)
W3≧W2 ・・・ (2)
前記(1)式及び前記(2)式において、W1は、前記第1領域の径方向長さであり、W2は、前記第2領域の径方向長さであり、W3は、前記第1領域に対応する前記喫煙物品の径方向長さである、香味吸引器である。
【0009】
上記第2の態様では、収容部の中心軸に沿って切断した断面であって前記把持部を通る断面視において、把持部が設けられている第2領域の径方向の長さは、把持部が径方向内
側に突出しているために、把持部が設けられていない第1領域の径方向の長さよりも小さい。また、同断面視において、把持部が設けられている第2領域の径方向の長さは、把持部によって押圧されていない第1領域における喫煙物品の径方向の長さよりも小さい。よって、上記第2の態様によれば、加熱部と接触しない非加熱領域において収容部の内部空間が径方向内側に圧縮されていることにより、収容部に収容された喫煙物品に対する十分な把持力を確保することができる。
【0010】
本開示の第3の態様は、上記第2の態様において、前記把持部は、前記第2領域において、前記収容部の内側に突出する凸部である、香味吸引器である。
(【0011】以降は省略されています)
この特許をJ-PlatPat(特許庁公式サイト)で参照する
関連特許
日本たばこ産業株式会社
香味供給物品用の容器の検査装置及び検査方法
10日前
日本たばこ産業株式会社
香味吸引器及び喫煙システム
13日前
日本たばこ産業株式会社
飽和脂肪酸系添加剤を含むたばこ組成物
5日前
日本たばこ産業株式会社
エアロゾル生成装置の電源ユニット、カートリッジ、及びエアロゾル生成装置
6日前
日本たばこ産業株式会社
情報処理装置、情報処理システム、情報処理端末、情報処理方法及びプログラム
5日前
株式会社ルック
携帯用灰皿
6か月前
個人
ヒートスティック除去具
3か月前
日本たばこ産業株式会社
香味吸引物品
1か月前
個人
電子タバコの加熱素子
3か月前
個人
フレーバ用ブースター器具およびシーシャ装置
3か月前
日本たばこ産業株式会社
喫煙システム
2か月前
日本たばこ産業株式会社
口腔用組成物
2か月前
日本たばこ産業株式会社
香味発生物品
1か月前
東莞市佳かい精密金属制品有限公司
充電可能な電子タバコケース
3か月前
日本たばこ産業株式会社
香味吸引システム
2か月前
日本たばこ産業株式会社
香味吸引システム
2か月前
Future Technology株式会社
エアロゾル吸引カートリッジ
1か月前
エム・クリエイト株式会社
灰皿装置及び灰皿管理システム
4か月前
日本たばこ産業株式会社
低香味原料を含むたばこセグメント
1か月前
日本たばこ産業株式会社
非燃焼加熱型香味吸引物品用フィルタ
5か月前
日本たばこ産業株式会社
たばこ原料の製造方法およびたばこ原料
6か月前
日本たばこ産業株式会社
粒状再生セルロースを含有する口腔用組成物
2か月前
日本たばこ産業株式会社
香味発生物品および香味吸引システム
2か月前
Future Technology株式会社
エアロゾル吸引カートリッジ用のエアロゾル形成部材
6か月前
日本たばこ産業株式会社
電子装置
2か月前
Future Technology株式会社
芳香基材
3か月前
Future Technology株式会社
喫煙器具
1か月前
日本たばこ産業株式会社
吸引器
2か月前
日本たばこ産業株式会社
たばこ材料、その製造方法、および非燃焼加熱型喫煙物品
1か月前
Future Technology株式会社
芳香カートリッジ
3か月前
Future Technology株式会社
芳香カートリッジ
5日前
Future Technology株式会社
芳香カートリッジ
6か月前
Future Technology株式会社
芳香カートリッジ
4か月前
Future Technology株式会社
芳香カートリッジ
3か月前
Future Technology株式会社
芳香カートリッジ
5か月前
Future Technology株式会社
タバコ充填物集積体
1か月前
続きを見る
他の特許を見る