TOP
|
特許
|
意匠
|
商標
特許ウォッチ
Twitter
他の特許を見る
10個以上の画像は省略されています。
公開番号
2025156644
公報種別
公開特許公報(A)
公開日
2025-10-14
出願番号
2025135705,2022566758
出願日
2025-08-18,2021-07-09
発明の名称
エアロゾル生成装置の電源ユニット、カートリッジ、及びエアロゾル生成装置
出願人
日本たばこ産業株式会社
代理人
弁理士法人航栄事務所
主分類
A24F
40/40 20200101AFI20251002BHJP(たばこ;葉巻たばこ;紙巻たばこ;喫煙具)
要約
【課題】カートリッジと収容部との電気的接続の維持と短絡防止を実現することのできるエアロゾル生成装置を提供する。
【解決手段】エアロゾル吸引器(1)の電源ユニット(10)は、エアロゾル源(22)を貯留する柱状の第1カートリッジ(20)を収容するカートリッジ収容部CSを備え、第1カートリッジ(20)の下面には、板電極(261、262)を含む第一電極部が設けられ、カートリッジ収容部CSは、第1カートリッジ(20)の下面と対面する領域に第二電極部を有し、第二電極部は、第一電極部に含まれる各電極に接触可能且つ上記第一電極部に含まれる電極の総数よりも多い数の電極(突電極(411、412、413))を含む。
【選択図】図5
特許請求の範囲
【請求項1】
エアロゾル源を貯留する柱状のカートリッジを収容する収容部と、
前記収容部に収容された前記カートリッジのエアロゾル流路に連通可能なマウスピースと、を備え、
前記カートリッジの端面には、複数の電極を含む第一電極部が設けられ、
前記収容部は、前記端面と対面する領域に第二電極部を有し、
前記第二電極部は、前記第一電極部に含まれる各電極に接触可能な電極を、前記第一電極部に含まれる電極の総数よりも多く含む、エアロゾル生成装置の電源ユニット。
続きを表示(約 2,100 文字)
【請求項2】
請求項1に記載の電源ユニットであって、
前記マウスピースは、着脱可能に構成される、エアロゾル生成装置の電源ユニット。
【請求項3】
請求項2に記載の電源ユニットであって、
前記収容部に前記カートリッジが収容された状態で前記マウスピースを装着することにより、前記エアロゾル流路と前記マウスピースが連通する、エアロゾル生成装置の電源ユニット。
【請求項4】
請求項1から3のいずれか1項記載のエアロゾル生成装置の電源ユニットであって、
前記第二電極部は、前記収容部にて前記カートリッジが回転した場合でも、前記第一電極部の各電極に、前記第二電極部の電極が少なくとも1つ接触するように配置されている、エアロゾル生成装置の電源ユニット。
【請求項5】
請求項4記載のエアロゾル生成装置の電源ユニットであって、
前記第二電極部に含まれる全ての電極から選ぶことができる全ての電極ペア間の電気抵抗値を測定する抵抗測定部と、
前記抵抗測定部により測定された電気抵抗値に基づいて、前記第二電極部に含まれる電極から前記第一電極部の電極と同数の電極を選択し、選択した電極に通電する制御を行う制御部と、を備える、エアロゾル生成装置の電源ユニット。
【請求項6】
請求項5記載のエアロゾル生成装置の電源ユニットであって、
前記制御部は、前記電気抵抗値が閾値以上となる前記電極ペアを選択する、エアロゾル生成装置の電源ユニット。
【請求項7】
請求項5又は6記載のエアロゾル生成装置の電源ユニットであって、
前記抵抗測定部は、前記エアロゾル源の霧化が行われていない期間において前記電極ペアの電気抵抗値を測定するエアロゾル生成装置の電源ユニット。
【請求項8】
請求項4記載のエアロゾル生成装置の電源ユニットであって、
前記第二電極部は、第一電極、第二電極、及び第三電極からなり、
電源及びグランドの一方と前記第一電極との間に接続された第一並列回路と、
前記電源及び前記グランドの一方と前記第二電極との間に接続された第二並列回路と、を備え、
前記第一並列回路は、抵抗素子と第一スイッチの直列回路と、第二スイッチとが並列接続され、
前記第二並列回路は、抵抗素子と第四スイッチの直列回路と、第三スイッチとが並列接続され、
前記電源及び前記グランドの他方と前記第三電極との間に接続された第五スイッチと、
前記電源及び前記グランドの他方と前記第二電極との間に接続された第六スイッチと、
前記第一電極の電圧と前記第二電極の電圧を測定する電圧測定回路と、
前記第一スイッチ、前記第二スイッチ、前記第三スイッチ、前記第四スイッチ、前記第五スイッチ、及び前記第六スイッチを含むスイッチ群を開閉制御し、且つ、前記電圧測定回路により測定された電圧に基づいて、前記第二電極部に含まれる全ての電極から選ぶことができる全ての電極ペア間の電気抵抗値を取得するコントローラと、を更に備える、
エアロゾル生成装置の電源ユニット。
【請求項9】
請求項8記載のエアロゾル生成装置の電源ユニットであって、
前記コントローラは、
前記第一スイッチと前記第六スイッチのみを閉じた状態で前記電圧測定回路により測定される前記第一電極の電圧に基づいて、前記第一電極と前記第二電極間の第一電気抵抗値を取得する処理と、
前記第一スイッチと前記第五スイッチのみを閉じた状態で前記電圧測定回路により測定される前記第一電極の電圧に基づいて、前記第一電極と前記第三電極間の第二電気抵抗値を取得する処理と、
前記第四スイッチと前記第五スイッチのみを閉じた状態で前記電圧測定回路により測定される前記第二電極の電圧に基づいて、前記第二電極と前記第三電極間の第三電気抵抗値を取得する処理と、を時分割にて行い、
前記第一電気抵抗値が所定条件を満たした場合には、前記第一電極と前記第二電極にのみ通電可能となるよう前記スイッチ群を開閉制御し、
前記第二電気抵抗値が前記所定条件を満たす場合には、前記第一電極と前記第三電極にのみ通電可能となるよう前記スイッチ群を開閉制御し、
前記第三電気抵抗値が前記所定条件を満たす場合には、前記第二電極と前記第三電極にのみ通電可能となるよう前記スイッチ群を開閉制御する、
エアロゾル生成装置の電源ユニット。
【請求項10】
請求項1から7のいずれか1項記載のエアロゾル生成装置の電源ユニットであって、
前記第一電極部は、前記カートリッジの中心を挟んで対向配置された2つの第一サブ電極からなり、
前記第二電極部は、前記収容部の中心を中心とする円上に等間隔で配置された3つ以上の第二サブ電極からなる、エアロゾル生成装置の電源ユニット。
(【請求項11】以降は省略されています)
発明の詳細な説明
【技術分野】
【0001】
本発明は、エアロゾル生成装置の電源ユニット、カートリッジ、及びエアロゾル生成装置に関する。
続きを表示(約 2,200 文字)
【背景技術】
【0002】
特許文献1には、エアロゾル源を収容するカートリッジと、前記カートリッジを収容する有底筒状のカートリッジ収容部と、前記カートリッジ収容部に螺着し、前記エアロゾル源が霧化したエアロゾルを吸引する吸引口が形成された吸口部と、前記吸口部の前記カートリッジ収容部に対する螺着に連動して、前記カートリッジを前記カートリッジ収容部に対して位置決めする位置決め機構と、を有するエアロゾル生成装置が記載されている。
【先行技術文献】
【特許文献】
【0003】
日本国特許第6552028号
【発明の概要】
【発明が解決しようとする課題】
【0004】
エアロゾル源を収容するカートリッジをカートリッジ収容部に装着する際の操作性を向上させるために、特許文献1に例示されるような位置決め機構を無くすことが想定される。しかし、位置決め機構がなくなると、カートリッジ収容部に対するカートリッジの挿入位置が固定されないことになる。このため、この挿入位置の違いによる、カートリッジとカートリッジ収容部の電気的接続の維持や短絡防止が課題となる。また、位置決め機構を無くすことができれば、電極形状の異なる複数タイプのカートリッジを装着することも容易となる。この場合にも、各タイプのカートリッジとカートリッジ収容部との電気的接続の維持や短絡防止が課題となる。
【0005】
本発明の目的は、カートリッジの挿入位置が変化する場合や異なるタイプのカートリッジが挿入された場合であっても、カートリッジと収容部との電気的接続の維持と短絡防止を実現することのできるエアロゾル生成装置を提供することにある。
【課題を解決するための手段】
【0006】
本発明の一態様のエアロゾル生成装置の電源ユニットは、エアロゾル源を貯留する柱状のカートリッジを収容する収容部と、前記収容部に収容された前記カートリッジのエアロゾル流路に連通可能なマウスピースと、を備え、上記カートリッジの端面には、複数の電極を含む第一電極部が設けられ、上記収容部は、上記端面と対面する領域に第二電極部を有し、上記第二電極部は、上記第一電極部に含まれる各電極に接触可能な電極を、上記第一電極部に含まれる電極の総数よりも多く含む、ものである。
【発明の効果】
【0007】
本発明によれば、カートリッジの挿入位置が変化する場合や異なるタイプのカートリッジが挿入された場合であっても、カートリッジと収容部との電気的接続の維持と短絡防止を実現することのできるエアロゾル生成装置を提供することができる。
【図面の簡単な説明】
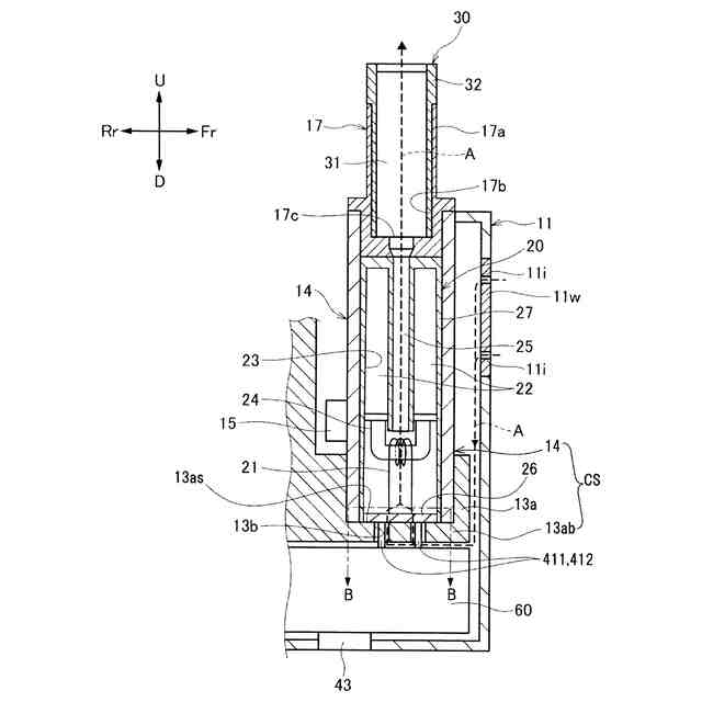
【0008】
本発明の一実施形態のエアロゾル吸引器の斜視図である。
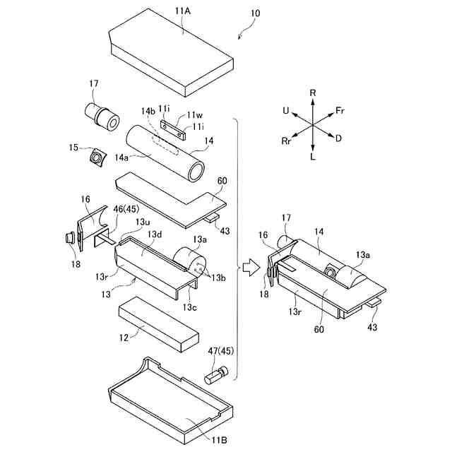
図1のエアロゾル吸引器の分解斜視図である。
図1のエアロゾル吸引器の断面模式図である。
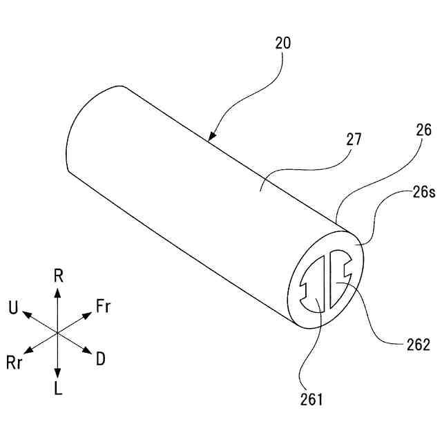
図1のエアロゾル吸引器における第1カートリッジの斜視図である。
図3のB-B矢視の断面模式図である。
図5の状態から第1カートリッジが時計回りに回転した状態を示す模式図である。
図6の状態から第1カートリッジが時計回りに回転した状態を示す模式図である。
図6の状態から第1カートリッジが時計回りに回転した状態を示す模式図である。
図2のエアロゾル吸引器の回路基板に搭載される回路の模式図である。
図3のカートリッジ収容部の第一変形例を示す模式図である。
図3のカートリッジ収容部の第二変形例を示す模式図である。
図3のカートリッジ収容部の第三変形例を示す模式図である。
図3のカートリッジ収容部の第四変形例を示す断面模式図である。
図13のB-B矢視の断面模式図である。
図13のカートリッジ収容部の底部の分解斜視を模式的に示した図である。
図14のC-C矢視断面の変形例を示す断面模式図である。
図14のC-C矢視断面の別の変形例を示す断面模式図である。
回路基板60に形成された電気回路の好ましい構成例を示す模式図である。
【発明を実施するための形態】
【0009】
以下、本発明の一実施形態であるエアロゾル生成装置の電源ユニットについて説明する。先ず、本実施形態の電源ユニットを備えるエアロゾル生成装置の一例であるエアロゾル吸引器について、図1~図3を参照しながら説明する。
【0010】
(エアロゾル吸引器)
エアロゾル吸引器1は、燃焼を伴わずに香味が付加されたエアロゾルを生成し、生成したエアロゾルを吸引するための器具であり、手中におさまるサイズであることが好ましく、略直方体形状を有する。なお、エアロゾル吸引器1は、卵型形状、楕円形状等であってもよい。以下の説明では、略直方体形状のエアロゾル吸引器において、直交する3方向のうち、長さの長い順から、上下方向、前後方向、左右方向と称する。また、以下の説明では、便宜上、図1~図3に記載したように、前方、後方、左方、右方、上方、下方を定義し、前方をFr、後方をRr、左側をL、右側をR、上方をU、下方をD、として示す。
(【0011】以降は省略されています)
この特許をJ-PlatPat(特許庁公式サイト)で参照する
関連特許
Future Technology株式会社
芳香カートリッジ
5日前
Future Technology株式会社
喫煙具用カートリッジ
19日前
Future Technology株式会社
加熱式タバコ用カートリッジ
19日前
ケーティー アンド ジー コーポレイション
エアロゾル生成システム
5日前
日本たばこ産業株式会社
香味吸引器及び喫煙システム
13日前
日本たばこ産業株式会社
飽和脂肪酸系添加剤を含むたばこ組成物
5日前
ケーティー アンド ジー コーポレイション
エアロゾル生成装置
5日前
日本たばこ産業株式会社
加熱アセンブリ及びこれを備えた香味吸引器
19日前
ケーティー アンド ジー コーポレイション
エアロゾル生成装置
19日前
日本たばこ産業株式会社
エアロゾルをデリバリーする加熱式物品、加熱式製品
14日前
ケーティー アンド ジー コーポレイション
低発火性エアロゾル発生物品
19日前
ケーティー アンド ジー コーポレイション
エアロゾル生成装置、その制御方法、及びそれを含む充電システム
19日前
ジェイティー インターナショナル エスエイ
エアロゾル発生装置及びそのための加熱チャンバ
19日前
日本たばこ産業株式会社
エアロゾル生成装置の電源ユニット、カートリッジ、及びエアロゾル生成装置
6日前
日本たばこ産業株式会社
情報処理装置、情報処理システム、情報処理端末、情報処理方法及びプログラム
5日前
1293473 オンタリオ リミテッド
水煙草サブアセンブリおよびサブアセンブリの構成部品
17日前
フィリップ・モーリス・プロダクツ・ソシエテ・アノニム
供給要素を備えるエアロゾル発生器
19日前
フィリップ・モーリス・プロダクツ・ソシエテ・アノニム
エアロゾル発生物品用の安定したラッパー
5日前
ニコベンチャーズ トレーディング リミテッド
エアロゾル生成
19日前
フィリップ・モーリス・プロダクツ・ソシエテ・アノニム
保持機構を有するエアロゾル発生装置
20日前
ニコベンチャーズ トレーディング リミテッド
エアロゾル生成デバイス
19日前
ニコベンチャーズ トレーディング リミテッド
エアロゾル供給デバイス
19日前
フィリップ・モーリス・プロダクツ・ソシエテ・アノニム
軽い中空セグメントを含むエアロゾル発生物品
5日前
ニコベンチャーズ トレーディング リミテッド
インダクタコイル
13日前
深せん市合元科技有限公司
エアロゾル発生装置
19日前
フィリップ・モーリス・プロダクツ・ソシエテ・アノニム
たばこ材料を処理するための方法および処理されたたばこ材料
3日前
フィリップ・モーリス・プロダクツ・ソシエテ・アノニム
上流くぼみを有するマウスピースを有するエアロゾル発生物品
5日前
ジュール・ラブズ・インコーポレイテッド
低温電子気化デバイスおよびその方法
5日前
ジュール・ラブズ・インコーポレイテッド
質量出力制御された気化器
19日前
ニコベンチャーズ トレーディング リミテッド
エアロゾル供給デバイス及びそのための消耗品
5日前
ニコベンチャーズ トレーディング リミテッド
エアロゾル供給システムで使用するための物品
19日前
ニコベンチャーズ トレーディング リミテッド
不燃式エアロゾル供給システムで使用するための物品
6日前
フィリップ・モーリス・プロダクツ・ソシエテ・アノニム
複数の温度プロファイルで誘導加熱エアロゾル発生システムを動作させる方法
5日前
アール・エイ・アイ・ストラテジック・ホールディングス・インコーポレイテッド
接続性、空気流、およびエアロゾル経路が改善されたエアロゾル送達装置
5日前
ニコベンチャーズ トレーディング リミテッド
エアロゾル供給デバイス用のユーザインターフェースモジュール
5日前
ニコベンチャーズ トレーディング リミテッド
エアロゾル供給システムで使用するためのマウスピース及び物品
19日前
続きを見る
他の特許を見る