TOP
|
特許
|
意匠
|
商標
特許ウォッチ
Twitter
他の特許を見る
公開番号
2025140046
公報種別
公開特許公報(A)
公開日
2025-09-29
出願番号
2024039194
出願日
2024-03-13
発明の名称
リニア振動モータ
出願人
ニデックプレシジョン株式会社
代理人
弁理士法人筒井国際特許事務所
主分類
B06B
1/04 20060101AFI20250919BHJP(機械的振動の発生または伝達一般)
要約
【課題】弾性部材の振動に伴う応力の集中を抑制できるリニア振動モータを提供する。
【解決手段】リニア振動モータは、マグネット及びバックヨークを有する可動子と、固定子と、を有するアクチュエータと、可動子をハウジングに対して振動可能に支持する弾性部材40と、を備える。弾性部材は、第1方向に沿って延伸する一対の第1延伸部410、411と、第2方向に沿って延伸する一対の第2延伸部412、413と、第1延伸部と連結する固定部42と、を有する。固定部は、一対の第1延伸部及び一対の第2延伸部の間に位置し、弾性部材の中央部と重複する位置に設けられる。固定部は、バックヨークと複数の固定点で固定される。複数の固定点は、中央部を通り第1方向と平行な第1基準線に対して対称な位置に設けられ、かつ、中央部を通り第2方向と平行な第2基準線に対して対称な位置に設けられる。
【選択図】図4
特許請求の範囲
【請求項1】
マグネット及びバックヨークを有する可動子と、固定子と、を有するアクチュエータと、
前記アクチュエータを収容するハウジングと、
前記可動子と前記ハウジングとに固定され、前記可動子を前記ハウジングに対して振動可能に支持する弾性部材と、を備え、
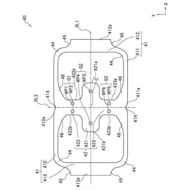
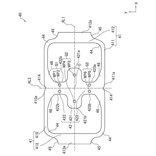
前記弾性部材は、前記可動子が振動する振動方向と交差する第1方向に沿って延伸する一対の第1延伸部と、前記第1方向及び前記振動方向と交差する第2方向に沿って延伸する一対の第2延伸部と、前記第1延伸部と連結する固定部と、を有し、
前記固定部は、一対の前記第1延伸部及び一対の前記第2延伸部の間に位置し、前記弾性部材の中央部と重複する位置に設けられ、
前記固定部は、前記バックヨークと複数の固定点で固定され、
複数の前記固定点は、前記中央部を通り前記第1方向と平行な第1基準線に対して対称な位置に設けられ、かつ、前記中央部を通り前記第2方向と平行な第2基準線に対して対称な位置に設けられる、リニア振動モータ。
続きを表示(約 730 文字)
【請求項2】
請求項1に記載のリニア振動モータにおいて、
前記固定部には、前記第1方向に沿って設けられた2つの前記固定点を含む固定点群が前記第2方向に沿って複数設けられている、リニア振動モータ。
【請求項3】
請求項2に記載のリニア振動モータにおいて、
前記固定部は、前記第2方向に沿った一対の端辺を有し、
前記固定点群に含まれる一方の前記固定点と前記固定部の一方の前記端辺との間の距離と、前記固定点群に含まれる他方の前記固定点と前記固定部の他方の前記端辺との間の距離とが等しい、リニア振動モータ。
【請求項4】
請求項3に記載のリニア振動モータにおいて、
前記固定部は、前記中央部を中心として前記第1方向に沿って延伸する主固定部と、前記主固定部と一対の前記第1延伸部のそれぞれとを連結する一対の連結部と、を有し、
前記主固定部と、一対の前記連結部とのそれぞれには前記固定点群が設けられている、リニア振動モータ。
【請求項5】
請求項4に記載のリニア振動モータにおいて、
前記第1延伸部は、前記第2延伸部及び前記連結部と湾曲部を介して連結する、リニア振動モータ。
【請求項6】
請求項5に記載のリニア振動モータにおいて、
前記第1延伸部の外縁には、前記第2基準線と交わる位置に円弧状の切欠き部が設けられる、リニア振動モータ。
【請求項7】
請求項1から6までの何れか一項に記載のリニア振動モータにおいて、
前記第1延伸部の前記第2方向に沿った幅は、前記固定部の前記第2方向に沿った幅よりも細い、リニア振動モータ。
発明の詳細な説明
【技術分野】
【0001】
本発明は、リニア振動モータに関する。
続きを表示(約 1,300 文字)
【背景技術】
【0002】
従来から、ユーザによる操作が行われるスイッチ等に設けられ、ユーザによる操作が行われると振動を発生させるリニア振動モータが知られている。
【0003】
特許文献1には、可動子を弾性支持する弾性支持体が、フレームの上部に設けられたリニア振動モータが開示されている。
【先行技術文献】
【特許文献】
【0004】
特開2022-88960号公報
【発明の概要】
【発明が解決しようとする課題】
【0005】
しかしながら、弾性支持体と可動子との接続によっては、振動時に弾性支持体の特定の箇所に応力が集中し、弾性支持体が破損する虞がある。
【課題を解決するための手段】
【0006】
本発明の態様によるリニア振動モータは、マグネット及びバックヨークを有する可動子と、固定子と、を有するアクチュエータと、前記アクチュエータを収容するハウジングと、前記可動子と前記ハウジングとに固定され、前記可動子を前記ハウジングに対して振動可能に支持する弾性部材と、を備える。前記弾性部材は、前記可動子が振動する振動方向と交差する第1方向に沿って延伸する一対の第1延伸部と、前記第1方向及び前記振動方向と交差する第2方向に沿って延伸する一対の第2延伸部と、前記第1延伸部と連結する固定部と、を有する。前記固定部は、一対の前記第1延伸部及び一対の前記第2延伸部の間に位置し、前記弾性部材の中央部と重複する位置に設けられる。前記固定部は、前記バックヨークと複数の固定点で固定される。複数の前記固定点は、前記中央部を通り前記第1方向と平行な第1基準線に対して対称な位置に設けられ、かつ、前記中央部を通り前記第2方向と平行な第2基準線に対して対称な位置に設けられる。
【発明の効果】
【0007】
本開示によれば、弾性部材の振動に伴う応力の集中を抑制できる。
【図面の簡単な説明】
【0008】
図1は、実施の形態のリニア振動モータの外観斜視図である。
図2は、リニア振動モータの分解斜視図である。
図3は、ハウジングの外観斜視図である。
図4は、弾性部材の平面図である。
【発明を実施するための形態】
【0009】
<実施の形態>
以下、実施の形態のリニア振動モータについて、図面を参照しながら詳細に説明する。
【0010】
リニア振動モータは、例えばユーザによる操作が行われる各種の操作スイッチに設けられる。リニア振動モータが設けられる操作スイッチとしては、自動車の車内に配置されたエアコン等のスイッチパネルや、パワーウィンドウを操作する操作スイッチが挙げられる。ユーザによって上記のスイッチが操作されると、リニア振動モータが振動することによりスイッチを振動させる。すなわち、リニア振動モータは、ユーザによる操作が行われると、ユーザに対して振動によるフィードバックを行う。
(【0011】以降は省略されています)
この特許をJ-PlatPat(特許庁公式サイト)で参照する
関連特許
ニデックプレシジョン株式会社
リニア振動モータ
11日前
ニデックプレシジョン株式会社
リニア振動モータ
11日前
ニデックプレシジョン株式会社
振動アクチュエータ
21日前
株式会社超音波機器システム
超音波ホーン、超音波発生器、並びに消泡装置
1日前
テーデーカー エレクトロニクス アーゲー
装置
1か月前
株式会社AESCジャパン
全固体電池
1日前
株式会社遠藤照明
光源ユニット及び照明器具
29日前
信越化学工業株式会社
ペリクルフレーム及びペリクル
1か月前
東レ株式会社
多孔質炭素シート
1か月前
株式会社クラレ
ポリビニルアセタール樹脂フィルム
7日前
大日本印刷株式会社
賦形シート、賦形シートの製造方法および物品の製造方法
1か月前
株式会社トクヤマ
窒化ケイ素基板
8日前
他の特許を見る