TOP
|
特許
|
意匠
|
商標
特許ウォッチ
Twitter
他の特許を見る
公開番号
2025140043
公報種別
公開特許公報(A)
公開日
2025-09-29
出願番号
2024039191
出願日
2024-03-13
発明の名称
リニア振動モータ
出願人
ニデックプレシジョン株式会社
代理人
弁理士法人筒井国際特許事務所
主分類
B06B
1/04 20060101AFI20250919BHJP(機械的振動の発生または伝達一般)
要約
【課題】可動子とともに振動する弾性部材がハウジングに衝突することが抑制されるリニア振動モータを提供する。
【解決手段】リニア振動モータは、マグネットを有する可動子と、固定子と、を有するアクチュエータと、アクチュエータを収容するハウジング20と、可動子をハウジングに対して振動可能に支持する弾性部材と、を備える。ハウジングは、第1方向に沿って延伸する第1側壁板202と、第2方向に沿って延伸する第2側壁板204と、底面板201とを有する。弾性部材は、第1延伸部と、第2延伸部と、を有し、第2延伸部にて第2側壁板の振動方向における他方端に固定される。第1側壁板の第1方向に沿う長さと第1延伸部の第1方向に沿う長さは等しく、第2側壁板の第2方向に沿う長さと第2延伸部の第2方向に沿う長さは等しい。振動方向に沿った方向において、底面板からの第1側壁板の長さは、底面板からの第2側壁板の長さよりも短い。
【選択図】図3
特許請求の範囲
【請求項1】
マグネットを有する可動子と、固定子と、を有するアクチュエータと、
前記アクチュエータを収容するハウジングと、
前記可動子と前記ハウジングとに固定され、前記可動子を前記ハウジングに対して振動可能に支持する弾性部材と、を備え、
前記ハウジングは、前記可動子が振動する振動方向と交差する第1方向に沿って延伸する第1側壁板と、前記第1方向及び前記振動方向と交差する第2方向に沿って延伸する第2側壁板と、前記第1側壁板及び前記第2側壁板の前記振動方向における一方端と連接し、前記固定子が設けられる底面板とを有し、
前記弾性部材は、前記第1方向に沿って延伸する第1延伸部と、前記第2方向に沿って延伸する第2延伸部と、を有し、前記第2延伸部にて前記第2側壁板の前記振動方向における他方端に固定され、
前記第1側壁板の前記第1方向に沿う長さと前記第1延伸部の前記第1方向に沿う長さは等しく、前記第2側壁板の前記第2方向に沿う長さと前記第2延伸部の前記第2方向に沿う長さは等しく、
前記振動方向に沿った方向において、前記底面板からの前記第1側壁板の長さは、前記底面板からの前記第2側壁板の長さよりも短い、リニア振動モータ。
続きを表示(約 340 文字)
【請求項2】
請求項1に記載のリニア振動モータにおいて、
前記振動方向に沿った前記第1側壁板と前記第2側壁板との長さの差は、前記弾性部材の最大振幅よりも大きい、リニア振動モータ。
【請求項3】
請求項2に記載のリニア振動モータにおいて、
前記第2側壁板の前記振動方向における前記他方端には、前記振動方向と交差する表面を有する接続板が設けられ、
前記弾性部材は、前記接続板と接合されている、リニア振動モータ。
【請求項4】
請求項1から3までの何れか一項に記載のリニア振動モータにおいて、
前記振動方向に沿った前記第1側壁板と前記第2側壁板との長さの差は、0.8mmから1.2mmである、リニア振動モータ。
発明の詳細な説明
【技術分野】
【0001】
本発明は、リニア振動モータに関する。
続きを表示(約 1,400 文字)
【背景技術】
【0002】
従来から、ユーザによる操作が行われるスイッチ等に設けられ、ユーザによる操作が行われると振動を発生させるリニア振動モータが知られている。
【0003】
特許文献1には、可動子を弾性支持する弾性支持体が、フレームの上部に設けられたリニア振動モータが開示されている。
【先行技術文献】
【特許文献】
【0004】
特開2022-88960号公報
【発明の概要】
【発明が解決しようとする課題】
【0005】
しかしながら、特許文献1のリニア振動モータでは、可動子の振動のストロークによっては、弾性支持体がフレームと衝突するという問題がある。
【課題を解決するための手段】
【0006】
本発明の態様によるリニア振動モータは、マグネットを有する可動子と、固定子と、を有するアクチュエータと、前記アクチュエータを収容するハウジングと、前記可動子と前記ハウジングとに固定され、前記可動子を前記ハウジングに対して振動可能に支持する弾性部材と、を備える。前記ハウジングは、前記可動子が振動する振動方向と交差する第1方向に沿って延伸する第1側壁板と、前記第1方向及び前記振動方向と交差する第2方向に沿って延伸する第2側壁板と、前記第1側壁板及び前記第2側壁板の前記振動方向における一方端と連接し、前記固定子が設けられる底面板とを有する。前記弾性部材は、前記第1方向に沿って延伸する第1延伸部と、前記第2方向に沿って延伸する第2延伸部と、を有し、前記第2延伸部にて前記第2側壁板の前記振動方向における他方端に固定される。前記第1側壁板の前記第1方向に沿う長さと前記第1延伸部の前記第1方向に沿う長さは等しく、前記第2側壁板の前記第2方向に沿う長さと前記第2延伸部の前記第2方向に沿う長さは等しい。前記振動方向に沿った方向において、前記底面板からの前記第1側壁板の長さは、前記底面板からの前記第2側壁板の長さよりも短い。
【発明の効果】
【0007】
本開示によれば、可動子とともに振動する弾性部材がハウジングに衝突することが抑制される。
【図面の簡単な説明】
【0008】
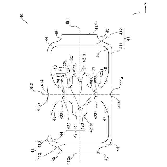
図1は、実施の形態のリニア振動モータの外観斜視図である。
図2は、リニア振動モータの分解斜視図である。
図3は、ハウジングの外観斜視図である。
図4は、弾性部材の平面図である。
【発明を実施するための形態】
【0009】
<実施の形態>
以下、実施の形態のリニア振動モータについて、図面を参照しながら詳細に説明する。
【0010】
リニア振動モータは、例えばユーザによる操作が行われる各種の操作スイッチに設けられる。リニア振動モータが設けられる操作スイッチとしては、自動車の車内に配置されたエアコン等のスイッチパネルや、パワーウィンドウを操作する操作スイッチが挙げられる。ユーザによって上記のスイッチが操作されると、リニア振動モータが振動することによりスイッチを振動させる。すなわち、リニア振動モータは、ユーザによる操作が行われると、ユーザに対して振動によるフィードバックを行う。
(【0011】以降は省略されています)
この特許をJ-PlatPat(特許庁公式サイト)で参照する
関連特許
本多電子株式会社
超音波放射ユニット
4か月前
ニデックインスツルメンツ株式会社
アクチュエータ
2か月前
ニデックプレシジョン株式会社
リニア振動モータ
13日前
ニデックプレシジョン株式会社
リニア振動モータ
13日前
ニデックプレシジョン株式会社
振動アクチュエータ
4か月前
ニデックプレシジョン株式会社
振動アクチュエータ
23日前
ニデックプレシジョン株式会社
振動アクチュエータ
2か月前
国立大学法人 東京大学
振動変換器及び噴霧器
4か月前
任天堂株式会社
情報処理方法、情報処理システムおよびプログラム
3か月前
株式会社超音波機器システム
超音波ホーン、超音波発生器、並びに消泡装置
3日前
任天堂株式会社
温度推定システム、制御システム、プログラム、および、方法
3か月前
テーデーカー エレクトロニクス アーゲー
装置
1か月前
ミネベアミツミ株式会社
振動提示装置
4か月前
ミネベアミツミ株式会社
振動アクチュエータ及び振動呈示装置
3か月前
デンカ株式会社
放熱部材および電子装置
2日前
株式会社AESCジャパン
全固体電池
3日前
リンテック株式会社
積層体及び配線シート
2日前
株式会社遠藤照明
光源ユニット及び照明器具
1か月前
株式会社リコー
画像形成装置
3か月前
信越化学工業株式会社
ペリクルフレーム及びペリクル
2か月前
東レ株式会社
多孔質炭素シート
1か月前
東レ株式会社
織物およびその製造方法ならびにアルカリ水電解用隔膜、アルカリ水電解用電解槽
2か月前
株式会社イノアックコーポレーション
表面加工発泡体の製造方法及びポリオレフィン系樹脂架橋発泡体
3か月前
MAアルミニウム株式会社
アルミニウム合金製の板状部材と皮膜付板状部材とそれらを用いた複合品及びアルミニウム製の板状部材の製造方法、並びに皮膜付板状部材の製造方法
3か月前
株式会社日立ハイテクアナリシス
試料容器及び熱分析装置
2か月前
東レ株式会社
プリプレグ、繊維強化樹脂成形体、及びそれらの製造方法
2日前
株式会社クラレ
ポリビニルアセタール樹脂フィルム
9日前
住友電工ハードメタル株式会社
切削工具
3か月前
ラブ ダイアグノスティクス アーセー
癌の診断および治療
4か月前
デンカ株式会社
放熱部材および電子装置
2日前
大日本印刷株式会社
賦形シート、賦形シートの製造方法および物品の製造方法
1か月前
株式会社トクヤマ
窒化ケイ素基板
10日前
他の特許を見る