TOP
|
特許
|
意匠
|
商標
特許ウォッチ
Twitter
他の特許を見る
公開番号
2025131912
公報種別
公開特許公報(A)
公開日
2025-09-09
出願番号
2025107107,2023573149
出願日
2025-06-25,2022-05-13
発明の名称
装置
出願人
テーデーカー エレクトロニクス アーゲー
代理人
弁理士法人ITOH
主分類
B06B
1/06 20060101AFI20250902BHJP(機械的振動の発生または伝達一般)
要約
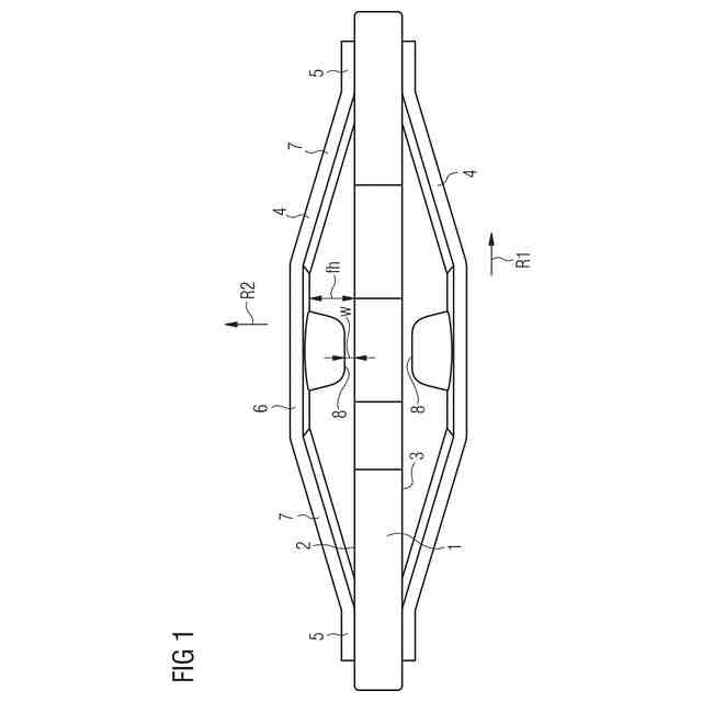
【課題】破損の危険性が低減された装置を提供する。
【解決手段】本発明は、装置に関し、装置は上面(2)を有し、印加された電圧にしたがって第1方向(R1)に広がりを変化するように設計された圧電多層要素(1)と、圧電多層要素(1)の上面(2)に取り付けられた端部領域、及び、圧電多層要素(1)に対して可動な作用領域を有する機械的補強要素(4)と、を備え、機械的補強要素(4)は、圧電多層要素(1)の広がりが変化するときに、作用領域(6)が第1方向(R1)に対して垂直な第2方向(R2)において可動であるように設計されており、第2方向(R2)は上面(2)の面法線に対して平行であり、装置は、作用領域(6)が上面(2)へ可動である移動経路(w)を制限する機械的アンカー(8)を備える。
【選択図】図1
特許請求の範囲
【請求項1】
装置であって、
上面を有し、印加された電圧にしたがって第1方向に広がりが変化するように設計された圧電多層要素と、
前記圧電多層要素の前記上面に取り付けられた端部領域、及び、前記圧電多層要素に対して可動な作用領域を有する機械的補強要素と、
を備え、
前記機械的補強要素は、前記圧電多層要素の前記広がりが変化するときに、前記作用領域が前記第1方向に対して垂直な第2方向に可動であるように設計されており、
前記第2方向は前記上面の面法線に対して平行であり、
前記装置は、前記作用領域が前記上面へ可動である移動経路を制限する機械的アンカーを備え、
前記装置は同時にアクチュエータ及びセンサとして使用される、
装置。
発明の詳細な説明
【技術分野】
【0001】
本発明は、圧電多層要素と機械的補強要素とを備える装置に関する。このような装置は、例えば、触覚的に知覚可能な信号を生成するためのアクチュエータとして使用することができる。
続きを表示(約 940 文字)
【背景技術】
【0002】
2つの補強要素の間に圧電要素を有するアクチュエータは、DE10 2019 120 720A1、AT15 914U1、DE10 2015 117 262A1及びDE10 2016 116 763A1から公知であり、電気電圧が印加されると、要素は第1方向にその広がりを変化させ、補強要素は、要素の膨張の結果として、部分領域が第1方向に対して実質的に垂直な第2方向において、要素に対して相対的に移動するように変形する。かかるアクチュエータでは、例えば落下や衝突の結果としての強い力や変形によって、補強要素やアクチュエータ、あるいは補強要素とアクチュエータ間の接続部が損傷し、アクチュエータ機能の故障につながる可能性がある。
【0003】
DE196 25 921A1は、パケット状に相互に配列されたピエゾ要素を有するアクチュエータを備えた電歪駆動装置を示している。
【0004】
WO2014/096 565A1は、触覚信号を生成する圧電要素と金属構造とを有する装置を示している。
【0005】
DE10 2004 002 249B4は、運動増幅を有する圧電アクチュエータを示す。
【0006】
US6,402,499B1には、圧電要素がピストンを駆動する装置が示されており、スプリングシステムが圧電要素の振動運動をピストンに伝達している。
【0007】
WO2020/011 526A1には、圧電アクチュエータを有するスタイラスが示されている。
【0008】
DE100 17 334A1は、アンカー装置を有する圧電作動装置を示している。
【0009】
WO2010/094 520A1は、圧電ジェネレータに関するもので、特に車両のタイヤ監視システムで使用される。
【0010】
US8,154,177B1は、「エネルギーハーベスティング(Energy Harvesting)」のための装置を示している。
【発明の概要】
(【0011】以降は省略されています)
この特許をJ-PlatPat(特許庁公式サイト)で参照する
関連特許
本多電子株式会社
超音波放射ユニット
4か月前
ニデックインスツルメンツ株式会社
アクチュエータ
2か月前
ニデックプレシジョン株式会社
リニア振動モータ
14日前
ニデックプレシジョン株式会社
リニア振動モータ
14日前
ニデックプレシジョン株式会社
振動アクチュエータ
24日前
ニデックプレシジョン株式会社
振動アクチュエータ
2か月前
任天堂株式会社
情報処理方法、情報処理システムおよびプログラム
3か月前
株式会社超音波機器システム
超音波ホーン、超音波発生器、並びに消泡装置
4日前
任天堂株式会社
温度推定システム、制御システム、プログラム、および、方法
3か月前
ミネベアミツミ株式会社
振動提示装置
4か月前
テーデーカー エレクトロニクス アーゲー
装置
1か月前
ミネベアミツミ株式会社
振動アクチュエータ及び振動呈示装置
3か月前
デンカ株式会社
放熱部材および電子装置
3日前
株式会社AESCジャパン
全固体電池
4日前
リンテック株式会社
積層体及び配線シート
3日前
株式会社遠藤照明
光源ユニット及び照明器具
1か月前
株式会社リコー
画像形成装置
3か月前
信越化学工業株式会社
ペリクルフレーム及びペリクル
2か月前
東レ株式会社
多孔質炭素シート
1か月前
東レ株式会社
織物およびその製造方法ならびにアルカリ水電解用隔膜、アルカリ水電解用電解槽
2か月前
株式会社イノアックコーポレーション
表面加工発泡体の製造方法及びポリオレフィン系樹脂架橋発泡体
3か月前
MAアルミニウム株式会社
アルミニウム合金製の板状部材と皮膜付板状部材とそれらを用いた複合品及びアルミニウム製の板状部材の製造方法、並びに皮膜付板状部材の製造方法
3か月前
株式会社日立ハイテクアナリシス
試料容器及び熱分析装置
2か月前
東レ株式会社
プリプレグ、繊維強化樹脂成形体、及びそれらの製造方法
3日前
株式会社クラレ
ポリビニルアセタール樹脂フィルム
10日前
住友電工ハードメタル株式会社
切削工具
3か月前
ラブ ダイアグノスティクス アーセー
癌の診断および治療
4か月前
デンカ株式会社
放熱部材および電子装置
3日前
大日本印刷株式会社
賦形シート、賦形シートの製造方法および物品の製造方法
1か月前
株式会社トクヤマ
窒化ケイ素基板
11日前
他の特許を見る