TOP
|
特許
|
意匠
|
商標
特許ウォッチ
Twitter
他の特許を見る
公開番号
2025140393
公報種別
公開特許公報(A)
公開日
2025-09-29
出願番号
2024039764
出願日
2024-03-14
発明の名称
ゴムシート粉砕装置
出願人
株式会社大晃
代理人
弁理士法人三枝国際特許事務所
主分類
B02C
18/00 20060101AFI20250919BHJP(破砕,または粉砕;製粉のための穀粒の前処理)
要約
【課題】ゴムシートを粉砕することで粒状のゴムを生成できるゴムシート粉砕装置を提供する。
【解決手段】ゴムシート粉砕装置は、ゴムシートW1が投入される投入口21と、投入口21から投入されたゴムシートW1を粉砕し、粒状のゴムを生成する粉砕機3と、粉砕機3により生成された粒状のゴムを吐出する吐出口22と、を備える。粉砕機3は、固定刃34及び可動刃33を有し、固定刃34及び可動刃33によって、ゴムシートW1を粉砕する粉砕部31と、粉砕部31と吐出口22との間に配置され、所定の直径以下の粒状のゴムの通過を許容し、かつ所定の直径超の粒状のゴムの通過を妨げる多孔板35と、を有する。可動刃33と固定刃34との間の最小距離が1mm以上5mm以下である。
【選択図】図2
特許請求の範囲
【請求項1】
ゴムシートが投入される投入口と、
前記投入口から投入された前記ゴムシートを粉砕し、粒状のゴムを生成する粉砕機と、
前記粉砕機により生成された粒状のゴムを吐出する吐出口と、
を備え、
前記粉砕機は、
固定刃及び可動刃を有し、前記固定刃及び前記可動刃によって、前記ゴムシートを粉砕する粉砕部と、
前記粉砕部と前記吐出口との間に配置され、所定の直径以下の前記粒状のゴムの通過を許容し、かつ前記所定の直径超の前記粒状のゴムの通過を妨げる多孔板と、
を有し、
前記可動刃と前記固定刃との間の最小距離が1mm以上5mm以下である、
ゴムシート粉砕装置。
続きを表示(約 130 文字)
【請求項2】
前記粒状のゴムの平均粒径は、ミリオーダである、
請求項1に記載のゴムシート粉砕装置。
【請求項3】
前記可動刃と前記固定刃との間の最小距離が可変である、
請求項1又は請求項2に記載のゴムシート粉砕装置。
発明の詳細な説明
【技術分野】
【0001】
本発明は、ゴムシート粉砕装置に関する。
続きを表示(約 1,100 文字)
【背景技術】
【0002】
特許文献1には、従来の粉砕機が記載されている。特許文献1に記載の粉砕機は、タイヤのゴム片を微小片に粉砕するタイヤ粉砕機である。
【0003】
タイヤ粉砕機は、固定刃と、固定刃に対向する回転刃部とを備える。タイヤ粉砕機は、粒径が30mm程度のゴム片を、固定刃と回転刃部とによって粉砕することで、粒径が8mm程度の粉砕片を生成することができる。
【先行技術文献】
【特許文献】
【0004】
特開2003-220347号公報
【発明の概要】
【発明が解決しようとする課題】
【0005】
しかしながら、上述したように、従前においては、特許文献1のような、粒径が30mm程度のゴム片を粉砕する粉砕機は存在するものの、ゴムシートを粉砕し、粒状のゴムを生成する粉砕装置は存在しない。
【0006】
本発明は、上記事情に鑑みてなされ、ゴムシートを粉砕することで粒状のゴムを生成できるゴムシート粉砕装置を提供することを目的とする。
【課題を解決するための手段】
【0007】
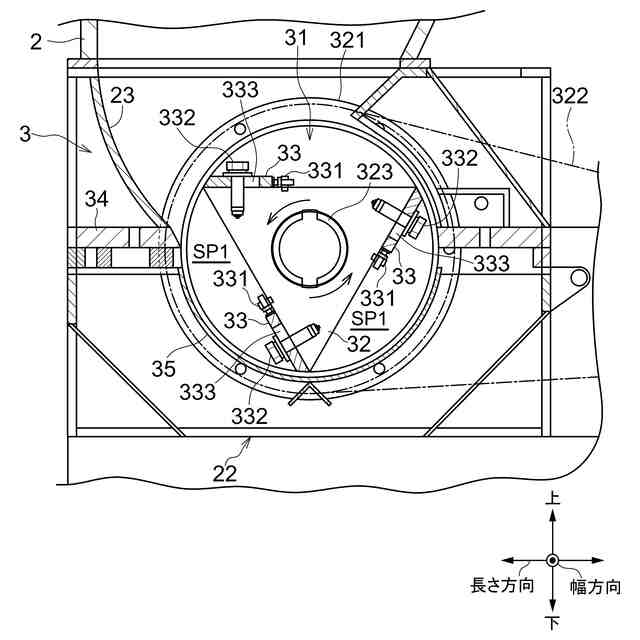
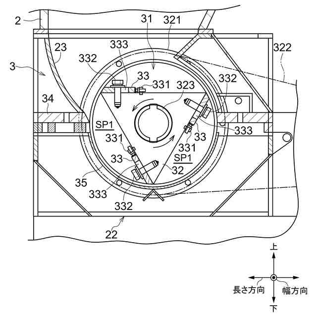
本発明に係る一態様のゴムシート粉砕装置は、ゴムシートが投入される投入口と、前記投入口から投入された前記ゴムシートを粉砕し、粒状のゴムを生成する粉砕機と、前記粉砕機により生成された粒状のゴムを吐出する吐出口と、を備え、前記粉砕機は、固定刃及び可動刃を有し、前記固定刃及び前記可動刃によって、前記ゴムシートを粉砕する粉砕部と、前記粉砕部と前記吐出口との間に配置され、所定の直径以下の前記粒状のゴムの通過を許容し、かつ前記所定の直径超の前記粒状のゴムの通過を妨げる多孔板と、を有し、前記可動刃と前記固定刃との間の最小距離が1mm以上5mm以下である。
【0008】
本発明に係るゴムシート粉砕装置によると、可動刃と前記固定刃との間の最小距離が1mm以上5mm以下であることで、可動刃と固定刃によってゴムシートを断裂できる。これにより、ゴムシートから粒ゴムを生成することができる。
【0009】
また、粒状のゴムの平均粒径は、好ましくは、ミリオーダである。このため、生成した粒状のゴムを、例えば、クッション材、防振材、吸音材、人工芝の充填材等に好適に用いることができる。
【0010】
また、可動刃と固定刃との間の最小距離は、好ましくは、可変である。このため、投入するゴムシートの厚さに応じて、可動刃と固定刃との間の距離を調整することができるうえに、所望の粒径のゴムを生成できる。
【発明の効果】
(【0011】以降は省略されています)
この特許をJ-PlatPat(特許庁公式サイト)で参照する
関連特許
株式会社大晃
ゴムシート粉砕装置
6日前
株式会社新居浜鉄工所
破砕機
16日前
古河ロックドリル株式会社
破砕機
6日前
古河ロックドリル株式会社
破砕機
6日前
株式会社大晃
ゴムシート粉砕装置
6日前
日本化学工業株式会社
湿式粉砕方法
6日前
株式会社トクヤマ
廃石膏粒体の貯蔵方法および貯蔵システム
1か月前
株式会社新居浜鉄工所
破砕機
16日前
三菱重工業株式会社
スピレージホッパ及び粉砕機並びにスピレージホッパの運転方法
9日前
竹本油脂株式会社
湿式粉砕用助剤およびそれを含有する水性スラリー組成物
24日前
テーエスエル リサイクリング ゲーエムベーハー ウント コー. カーゲー
不均質な投入材料から高純度のスクラップ材料を製造するプロセス
10日前
東京応化工業株式会社
レジスト組成物、レジストパターン形成方法、化合物、及び酸発生剤
10日前
東京応化工業株式会社
レジスト組成物、レジストパターン形成方法、化合物、及び酸発生剤
10日前
他の特許を見る