TOP
|
特許
|
意匠
|
商標
特許ウォッチ
Twitter
他の特許を見る
公開番号
2025141602
公報種別
公開特許公報(A)
公開日
2025-09-29
出願番号
2024041614
出願日
2024-03-15
発明の名称
熱分析装置
出願人
住友重機械工業株式会社
,
群馬県
代理人
アクシス国際弁理士法人
主分類
G01N
25/02 20060101AFI20250919BHJP(測定;試験)
要約
【課題】加熱により沸点の異なる複数の成分が揮発して発生する材料に対して有効に用いることができる熱分析装置を提供する。
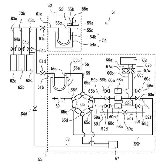
【解決手段】この発明の熱分析装置51は、加熱により相対的に沸点の低い低沸点成分及び、前記低沸点成分に比して相対的に沸点の高い高沸点成分が揮発して発生する材料を対象とし、該材料の温度変化に伴う物理的性質の確認に用いられるものであって、前記材料の試料を加熱し、それによる発生ガス中の高沸点成分を析出させ、分析用析出物を生成させる析出物生成部52と、前記材料の試料を加熱し、低沸点成分を含む分析用ガスを生成させるガス生成部53とを備えるものである。
【選択図】図2
特許請求の範囲
【請求項1】
加熱により相対的に沸点の低い低沸点成分及び、前記低沸点成分に比して相対的に沸点の高い高沸点成分が揮発して発生する材料を対象とし、該材料の温度変化に伴う物理的性質の確認に用いられる熱分析装置であって、
前記材料の試料を加熱し、それによる発生ガス中の高沸点成分を析出させ、分析用析出物を生成させる析出物生成部と、
前記材料の試料を加熱し、低沸点成分を含む分析用ガスを生成させるガス生成部と
を備える熱分析装置。
続きを表示(約 860 文字)
【請求項2】
前記析出物生成部が、
前記試料を加熱する加熱反応部と、
前記加熱反応部よりも前記発生ガスの流動方向の下流側に設けられ、前記発生ガスを冷却して前記高沸点成分を析出させる冷却部と
を有する請求項1に記載の熱分析装置。
【請求項3】
前記ガス生成部が、
前記試料を加熱する加熱反応部と、
前記加熱反応部よりも前記分析用ガスの流動方向の下流側に設けられ、前記分析用ガスを分析するガス分析部と
を有する請求項1に記載の熱分析装置。
【請求項4】
前記ガス分析部で、前記分析用ガス中の成分の同定及び定量が可能である請求項3に記載の熱分析装置。
【請求項5】
前記ガス生成部の前記加熱反応部における前記流動方向の下流側の箇所に、前記分析用ガス中の低沸点成分を通過させるとともに前記分析用ガス中の高沸点成分を析出させて捕捉する捕捉部が設けられている請求項3に記載の熱分析装置。
【請求項6】
前記ガス生成部が、前記流動方向にて前記加熱反応部よりも下流側であって前記ガス分析部よりも上流側に、複数のガス保管室を有する請求項3に記載の熱分析装置。
【請求項7】
前記析出物生成部及び/又は前記ガス生成部に、雰囲気ガスを供給することが可能なガス供給管を備える請求項1~3のいずれか一項に記載の熱分析装置。
【請求項8】
前記ガス供給管が、種類の異なる雰囲気ガスごとの複数のガス流路を含む請求項7に記載の熱分析装置。
【請求項9】
前記雰囲気ガスが、酸素、窒素、二酸化炭素、アルゴン、ヘリウム、キセノン、ネオンおよびクリプトンからなる群から選択される少なくとも一種を含む請求項7に記載の熱分析装置。
【請求項10】
前記材料として樹脂材料を対象とする請求項1~3のいずれか一項に記載の熱分析装置。
(【請求項11】以降は省略されています)
発明の詳細な説明
【技術分野】
【0001】
この発明は、熱分析装置に関するものである。
続きを表示(約 1,200 文字)
【背景技術】
【0002】
たとえば樹脂材料、金属材料又はセラミックス材料その他の種々の材料では、その材料からなる原料ないし素材、製品、部品又は部材等の使用時に加熱されることにより、その成分が揮発する場合がある。
【0003】
そのような場合における成分の揮発による種々の影響を事前に把握すること等を目的として、当該材料に対して熱分析装置を用いて分析を行い、材料の温度変化に伴う物理的性質を確認することがある。
【0004】
これに関連する技術として、たとえば、特許文献1には、「試料を包囲する保護管と、試料の温度を変化させる試料調温手段と、ガス導管を介して保護管に接続されたガス分析手段とを有するガス分析機能を備えた熱分析装置において、ガス導管の温度を変化させるガス導管調温手段と、試料の温度を検知する試料温度検知手段と、試料温度検知手段による温度検知結果に基づいてガス導管調温手段を制御する制御手段とを有しており、制御手段は、ガス導管の温度が試料の温度と等しくなるようにガス導管調温手段を制御することを特徴とする熱分析装置」が記載されている。
【先行技術文献】
【特許文献】
【0005】
特開平5-60709号公報
【発明の概要】
【発明が解決しようとする課題】
【0006】
ところで、上述した材料には、加熱すると、異なる温度域で異なる成分が揮発して発生するものがある。
【0007】
そのような材料では、たとえば比較的低い温度で加熱されたときに、特定の成分は揮発するも、他の成分は揮発せずに固体として残留し、このことが、当該材料からなる原料等の使用時に何らかの影響を及ぼすことがある。それ故に、上述したような材料の物理的性質を有効に確認できる熱分析装置が望まれている。
【0008】
この発明は、このような問題を解決することを課題とするものであり、その目的は、加熱により沸点の異なる複数の成分が揮発して発生する材料に対して有効に用いることができる熱分析装置を提供することにある。
【課題を解決するための手段】
【0009】
上記の課題を解決することができる一の熱分析装置は、加熱により相対的に沸点の低い低沸点成分及び、前記低沸点成分に比して相対的に沸点の高い高沸点成分が揮発して発生する材料を対象とし、該材料の温度変化に伴う物理的性質の確認に用いられる熱分析装置であって、前記材料の試料を加熱し、それによる発生ガス中の高沸点成分を析出させ、分析用析出物を生成させる析出物生成部と、前記材料の試料を加熱し、低沸点成分を含む分析用ガスを生成させるガス生成部とを備えるものである。
【発明の効果】
【0010】
上述した熱分析装置は、加熱により沸点の異なる複数の成分が揮発して発生する材料に対して有効に用いることができる。
【図面の簡単な説明】
(【0011】以降は省略されています)
この特許をJ-PlatPat(特許庁公式サイト)で参照する
関連特許
個人
メジャー文具
4日前
日本精機株式会社
位置検出装置
10日前
ユニパルス株式会社
ロードセル
3日前
日本精機株式会社
位置検出装置
10日前
日本精機株式会社
位置検出装置
10日前
大和製衡株式会社
組合せ秤
15日前
大和製衡株式会社
組合せ秤
15日前
アズビル株式会社
圧力センサ
9日前
エイブリック株式会社
磁気センサ回路
9日前
株式会社ヨコオ
ソケット
2日前
株式会社ヨコオ
ソケット
3日前
ダイキン工業株式会社
監視装置
1日前
株式会社ユーシン
操作検出装置
12日前
株式会社東芝
センサ
15日前
トヨタ自動車株式会社
検査装置
12日前
株式会社東芝
センサ
15日前
トヨタ自動車株式会社
監視装置
2日前
株式会社チノー
放射光測温装置
3日前
TDK株式会社
磁気センサ
2日前
株式会社東芝
重量測定装置
8日前
東レエンジニアリング株式会社
計量装置
12日前
TDK株式会社
ガスセンサ
9日前
TDK株式会社
ガスセンサ
8日前
TDK株式会社
ガスセンサ
3日前
日本特殊陶業株式会社
センサ
1日前
多摩川精機株式会社
冗長エンコーダ
2日前
三恵技研工業株式会社
融雪レドーム
2日前
日本特殊陶業株式会社
センサ
1日前
日本特殊陶業株式会社
センサ
1日前
日本特殊陶業株式会社
センサ
1日前
株式会社熊谷組
RI計測装置
10日前
日本特殊陶業株式会社
センサ
1日前
ダイハツ工業株式会社
移動支援装置
2日前
中国電力株式会社
電柱管理システム
1日前
三菱マテリアル株式会社
温度センサ
4日前
富士電機株式会社
エンコーダ
9日前
続きを見る
他の特許を見る