TOP
|
特許
|
意匠
|
商標
特許ウォッチ
Twitter
他の特許を見る
公開番号
2025142565
公報種別
公開特許公報(A)
公開日
2025-10-01
出願番号
2024042007
出願日
2024-03-18
発明の名称
RI計測装置
出願人
株式会社熊谷組
代理人
個人
,
個人
主分類
G01N
23/203 20060101AFI20250924BHJP(測定;試験)
要約
【課題】装置サイズを小型化することができる散乱型のRI計測装置を提供する。
【解決手段】RI計測装置(1)は、地中に放射線を放出し、地中からの散乱線に基づいて密度を計測する。RI計測装置には、直方体状に形成されて地表に設置されるケース(10)と、ケース内に設置されて放射線を放出する線源(23)と、ケース内に設置されて散乱線を検出する検出器(26)と、ケース内に設置されて放射線を遮蔽する遮蔽体(31)と、が設けられている。線源及び検出器がケースの対角位置に設置されており、線源と検出器の間で線源から検出器に向かう対角方向に遮蔽体が延びている。
【選択図】図2
特許請求の範囲
【請求項1】
地中に放射線を放出し、地中からの散乱線に基づいて密度を計測するRI計測装置であって、
直方体状に形成されて地表に設置されるケースと、
前記ケース内に設置されて放射線を放出する線源と、
前記ケース内に設置されて散乱線を検出する検出器と、
前記ケース内に設置されて放射線を遮蔽する遮蔽体と、を備え、
前記線源及び前記検出器が前記ケースの対角位置に設置されており、
前記線源と前記検出器の間で前記線源から前記検出器に向かう対角方向に前記遮蔽体が延びていることを特徴とするRI計測装置。
続きを表示(約 390 文字)
【請求項2】
前記遮蔽体が角棒状の複数の遮蔽バーから成り、
前記線源と前記検出器の間に前記複数の遮蔽バーが対角方向に並べられていることを特徴とする請求項1に記載のRI計測装置。
【請求項3】
前記複数の遮蔽バーが前記線源から前記検出器に向かって高くなるように積まれていることを特徴とする請求項2に記載のRI計測装置。
【請求項4】
前記遮蔽体がタングステン材で形成されていることを特徴とする請求項1又は請求項2に記載のRI計測装置。
【請求項5】
前記線源及び前記検出器は直方体状に形成されていることを特徴とする請求項1又は請求項2に記載のRI計測装置。
【請求項6】
前記ケースの周壁に装着されて放射線を遮蔽する遮蔽カバーを備えていることを特徴とする請求項1又は請求項2に記載のRI計測装置。
発明の詳細な説明
【技術分野】
【0001】
本発明は、RI計測装置に関する。
続きを表示(約 1,800 文字)
【背景技術】
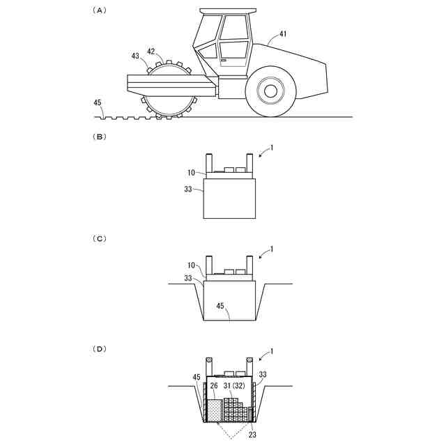
【0002】
一般に、ロックフィルダムの遮水材の密度管理には砂置換法が用いられ、河川や道路の土工作業の盛土の締固め管理には透過型RI(Radio Isotope)法が用いられる。砂置換法や透過型RI法では、試験孔、線源の挿入孔の削孔作業が必要になる。また、透過型RI法では、手作業による測定面の不陸整正、測定地点への計測装置の持ち運び等で作業負担が大きい。このため、削孔作業が不要になる散乱型RI法が提案されている(例えば、特許文献1参照)。散乱型RI法では線源と検出器が地表に設置され、線源から地中に放射線が放出され、地中からの散乱線が検出器で検出されて密度が計測されている。
【先行技術文献】
【特許文献】
【0003】
特開2009-053127号公報
【発明の概要】
【発明が解決しようとする課題】
【0004】
ところで、特許文献1に記載の散乱型RI法では、検出器に対する放射線の直射を防ぐために線源と検出器の間に遮蔽体が設けられている。このため、散乱型RI法で用いる計測装置の装置サイズが大型化するという問題がある。また、散乱型RI法は測定装置と測定面の密着性が重要になり、特に装置サイズが大型化すると測定面をフラットにすることが難しい。
【0005】
本発明はかかる点に鑑みてなされたものであり、装置サイズを小型化することができる散乱型のRI計測装置を提供することを目的とする。
【課題を解決するための手段】
【0006】
本発明の一態様のRI計測装置は、地中に放射線を放出し、地中からの散乱線に基づいて密度を計測するRI計測装置であって、直方体状に形成されて地表に設置されるケースと、前記ケース内に設置されて放射線を放出する線源と、前記ケース内に設置されて散乱線を検出する検出器と、前記ケース内に設置されて放射線を遮蔽する遮蔽体と、を備え、前記線源及び前記検出器が前記ケースの対角位置に設置されており、前記線源と前記検出器の間で前記線源から前記検出器に向かう対角方向に前記遮蔽体が延びている。
【発明の効果】
【0007】
本発明の一態様のRI計測装置は、ケースの対角位置を利用して線源と検出器が設置されているため、ケース内で線源と検出器の間隔が十分に確保されて装置の小型化を図ることができる。ケースの小型化によって地表の不陸の影響を抑え、測定面の不陸整正の作業負担を軽減することができる。また、遮蔽体が対角方向に延びているため、線源から検出器に向けて放出される放射線が効果的に遮蔽されて装置の軽量化を図ることができる。
【図面の簡単な説明】
【0008】
本実施形態のRI計測装置の上面図及び側面図である。
本実施形態のRI計測装置の断面模式図である。
本実施形態の密度計測方法の説明図である。
乾燥密度の比較結果の一例を示すグラフである。
【発明を実施するための形態】
【0009】
以下、本実施形態のRI計測装置について説明する。図1は本実施形態のRI計測装置の上面図及び側面図である。図2は本実施形態のRI計測装置の断面模式図である。なお、図2(A)は図1のRI計測装置をA-A線で切断した断面図であり、図2(B)は図1のRI計測装置をB-B線で切断した断面図である。各図に付される矢印FR、RE、L、R、U、LOは、それぞれRI測定器の前方、後方、左方、右方、上方、下方を示している。
【0010】
図1(A)及び図1(B)に示すように、RI計測装置1は、散乱型のRI計測装置であり、地中に放射線を放出して、地中からの散乱線に基づいて地盤の密度を計測するように構成されている。RI計測装置1のケース10は直方体状(本実施形態では立方体状)に形成されている。ケース10の上面中央にはディスプレイ11が設けられており、ケース10の上面左側及び上面右側には一対のハンドル12が設けられている。ケース10の上面前側にはキーパネル13が設けられており、ケース10の上面後側にはボタンスイッチ14、充電コネクタ15、信号コネクタ16が設けられている。
(【0011】以降は省略されています)
この特許をJ-PlatPat(特許庁公式サイト)で参照する
関連特許
株式会社熊谷組
長机
1日前
株式会社熊谷組
ノズル
2か月前
株式会社熊谷組
吊り治具
今日
株式会社熊谷組
木質材料
13日前
株式会社熊谷組
木材接合部材
今日
株式会社熊谷組
密度計測方法
1日前
株式会社熊谷組
RI計測装置
1日前
株式会社熊谷組
床版接合構造
3日前
株式会社熊谷組
計測システム
5か月前
株式会社熊谷組
天井板撤去装置
5か月前
株式会社熊谷組
濁水処理システム
4か月前
株式会社熊谷組
吊り足場の遮水設備
5か月前
株式会社熊谷組
観測装置の防塵装置
1か月前
株式会社熊谷組
観測装置の防塵装置
1か月前
株式会社熊谷組
鉄筋コンクリート梁
22日前
株式会社熊谷組
解体建築材の処理方法
5か月前
株式会社熊谷組
コンクリート打設装置
14日前
株式会社熊谷組
コンクリート打設装置
14日前
株式会社熊谷組
手摺子及び格子状構造物
5か月前
株式会社熊谷組
床版、及び、床版接合方法
4か月前
株式会社熊谷組
床版継手装置、及び、床版
3日前
株式会社熊谷組
杭頭処理構造、杭頭処理方法
3日前
株式会社熊谷組
吊り下げ物の防振構造改良方法
3日前
株式会社熊谷組
山留めアンカーの位置測量方法
5か月前
株式会社熊谷組
壁体構築方法および鉄筋連結構造
3日前
株式会社熊谷組
壁体構築方法およびアンカー部材
3日前
株式会社熊谷組
骨材管理システムおよび骨材管理方法
1か月前
国立大学法人東北大学
重金属の不溶化方法
今日
株式会社熊谷組
床版、及び、床版製造方法、並びに、床版接合構造
4か月前
株式会社熊谷組
傾斜地用コンクリート打設装置へのコンクリート積込方法
14日前
株式会社熊谷組
トンネル坑内での重量物横移動方法及び重量物横移動装置
21日前
株式会社熊谷組
桟橋構築方法、及び橋梁構築方法
5か月前
個人
計量スプーン
23日前
個人
微小振動検出装置
1か月前
株式会社イシダ
X線検査装置
1か月前
日本精機株式会社
位置検出装置
1日前
続きを見る
他の特許を見る