TOP
|
特許
|
意匠
|
商標
特許ウォッチ
Twitter
他の特許を見る
10個以上の画像は省略されています。
公開番号
2025142270
公報種別
公開特許公報(A)
公開日
2025-09-30
出願番号
2025125447,2021212359
出願日
2025-07-28,2021-12-27
発明の名称
接続構造および取り付け構造
出願人
任天堂株式会社
代理人
弁理士法人深見特許事務所
,
個人
主分類
A47G
29/00 20060101AFI20250919BHJP(家具;家庭用品または家庭用設備;コーヒーひき;香辛料ひき;真空掃除機一般)
要約
【課題】一方向に引っ張られたときの方が他方向に引っ張られたときよりも取れやすい接続構造および取り付け構造を提供する。
【解決手段】接続構造は、第1装置と、第2装置とを有している。第1装置は、第1底面と、第1接着部と、筒状の壁面とを有している。第2装置は、第2接着部と、筒状の凸部とを有している。第1装置と第2装置とは、第1磁性要素と第2磁性要素とが磁力によって互いに引き寄せられることにより、第1接着面と第2接着面とが接着することで、磁力方向を軸として相対回転可能に、かつ、着脱可能に接続される。凸部は、壁面と第1接着部との間に、磁力方向に垂直な方向成分を含む引っ張りに応じて傾倒可能となるクリアランスを有して位置している。第1装置において、磁力方向に垂直な方向のうち、第1方向における頂部と凸部とのクリアランスは、第1方向と異なる第2方向における頂部と凸部とのクリアランスよりも大きい。
【選択図】図3
特許請求の範囲
【請求項1】
第1装置と、第2装置とを備える接続構造であって、
前記第1装置は、
第1底面と、
前記第1底面から突出する第1壁面を有し、且つ、頂部に第1接着面を有し、且つ第1磁性要素を備える第1接着部と、
前記頂部を囲むように前記第1底面から前記第1接着面よりも高く突出し、前記第1壁面と対向する筒状の第2壁面と、を備え、
前記第2装置は、
第2接着面を構成し且つ第2磁性要素を備える第2接着部と、
前記第2接着部を囲む筒状の凸部と、を備え、
前記第1装置と前記第2装置とは、前記第1磁性要素と前記第2磁性要素とが磁力によって互いに引き寄せられることにより、前記第1接着面と前記第2接着面とが接着することで、磁力方向を軸として相対回転可能に、かつ、着脱可能に接続され、
前記凸部は、前記第1壁面と前記第2壁面との間に、前記磁力方向に垂直な方向成分を含む引っ張りに応じて傾倒可能となるクリアランスを有して位置し、
前記第1装置において、前記磁力方向に垂直な方向のうち、第1方向における前記第1壁面と前記凸部とのクリアランスは、前記第1方向と異なる第2方向における前記第1壁面と前記凸部とのクリアランスよりも大きい、接続構造。
続きを表示(約 1,000 文字)
【請求項2】
前記第2壁面は、円筒状であり、
前記凸部は、円環筒状であり、
前記第1壁面は、円柱の外周面の一部が欠けた形状である、請求項1に記載の接続構造。
【請求項3】
前記磁力方向に対して垂直な断面において、前記第1壁面は、半円の弧以上の長さの弧を有する、請求項2に記載の接続構造。
【請求項4】
前記磁力方向に対して垂直な断面において、前記第1壁面は、直線部と、前記直線部の両端に連なる円弧状部とを備え、
前記円弧状部の中心角は、180°よりも大きい、請求項2または請求項3に記載の接続構造。
【請求項5】
前記第2装置は、第2底面を備え、
前記第2接着部は、前記第2底面から突出している、請求項1から請求項4のいずれか1項に記載の接続構造。
【請求項6】
前記凸部は、前記第2底面から突出し、
前記第2接着部は、前記第2接着面が前記凸部よりも低くなるように突出している、請求項5に記載の接続構造。
【請求項7】
前記凸部が傾倒するとき、前記凸部が前記第1壁面と前記第2壁面のうち少なくとも一方に接することで傾倒が停止され、
前記凸部の傾倒が停止されたときの傾倒角は、前記第1方向に前記凸部が傾倒したときの角度が、前記第2方向に前記凸部が傾倒したときの角度よりも大きい、請求項1から請求項6のいずれか1項に記載の接続構造。
【請求項8】
前記凸部が傾倒したときであって前記凸部が前記第1壁面と前記第2壁面の両方に接するときの傾倒角は、前記第1方向に前記凸部が傾倒したときの角度が、前記第2方向に前記凸部が傾倒したときの角度よりも大きい、請求項1から請求項6のいずれか1項に記載の接続構造。
【請求項9】
前記凸部が傾倒したときであって前記凸部が前記第2壁面に接するときの傾倒角は、前記第1方向に前記凸部が傾倒したときの角度が、前記第2方向に前記凸部が傾倒したときの角度よりも大きい、請求項1から請求項6のいずれか1項に記載の接続構造。
【請求項10】
前記第1磁性要素は、第1磁石を備え、
前記第2磁性要素は、第2磁石を備え、
前記第1接着面または前記第1接着面と前記第1磁石との間、または、前記第2接着面または前記第2接着面と前記第2磁石との間には、磁束密度を抑制する部材が設けられている、請求項1から請求項9のいずれか1項に記載の接続構造。
発明の詳細な説明
【技術分野】
【0001】
本開示は、接続構造および取り付け構造に関する。
続きを表示(約 1,800 文字)
【背景技術】
【0002】
特開2000-189227号公報(特許文献1)は、携帯電話ホルダーを開示している。当該携帯電話ホルダーにおいては、磁石を用いて接合手段が着脱される。
【先行技術文献】
【特許文献】
【0003】
特開2000-189227号公報
【発明の概要】
【発明が解決しようとする課題】
【0004】
接続構造においては、接続された装置同士が容易に取り外されないようにされつつも、ある場面では相対的に容易に取り外されることが望まれる可能性がある。
【課題を解決するための手段】
【0005】
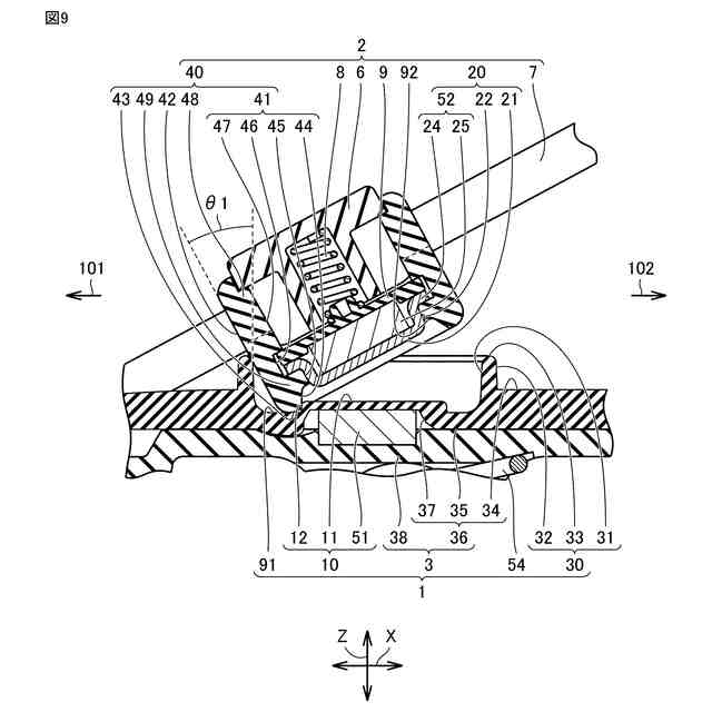
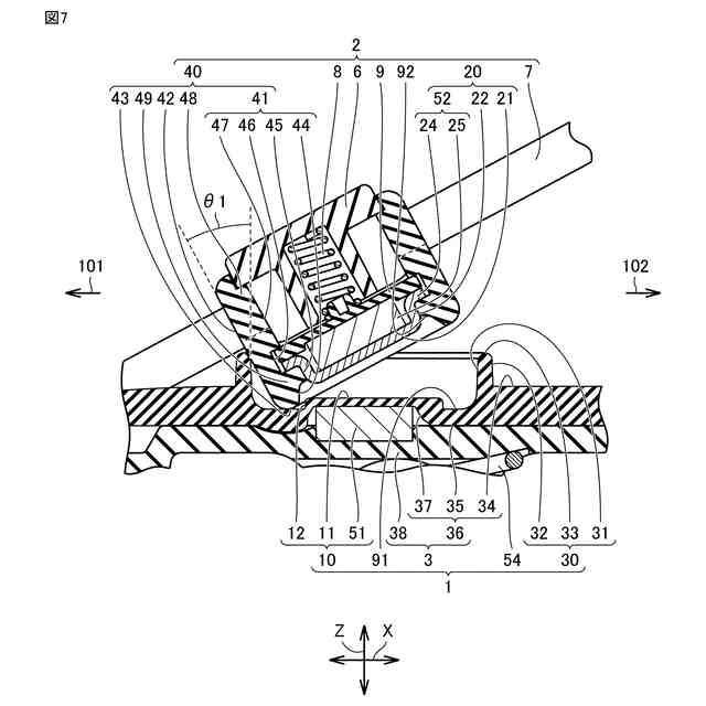
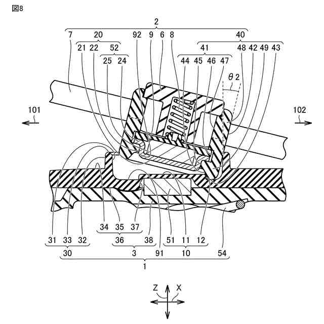
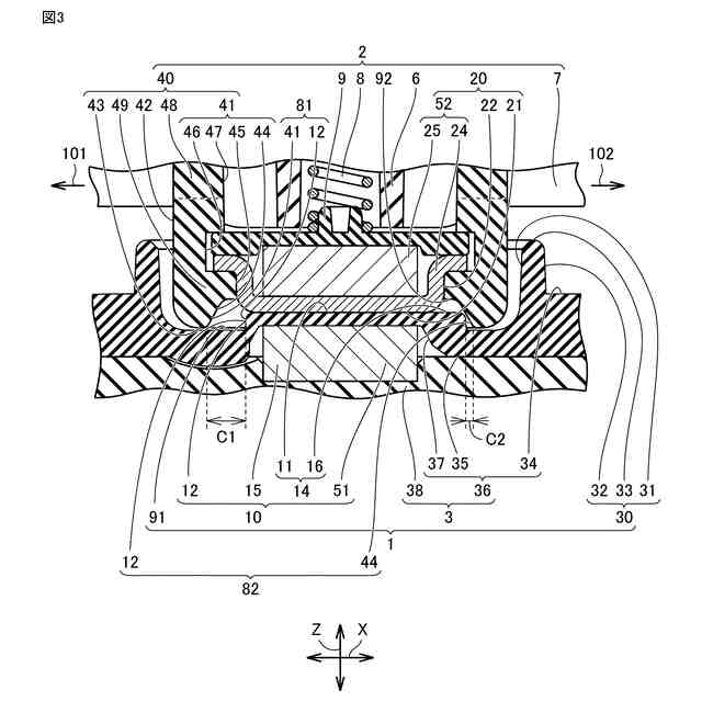
本開示に係る接続構造は、第1装置と、第2装置と、を備えている。第1装置は、第1底面と、第1接着部と、筒状の壁面と、を備えている。第1接着部は、第1底面から突出し、頂部に第1接着面を有し、且つ第1磁性要素を備えている。筒状の壁面は、頂部を囲むように第1底面から第1接着面よりも高く突出する。第2装置は、第2接着部と、筒状の凸部と、を備えている。第2接着部は、第2接着面を構成し且つ第2磁性要素を備えている。筒状の凸部は、第2接着部を囲む。第1装置と第2装置とは、第1磁性要素と第2磁性要素とが磁力によって互いに引き寄せられることにより、第1接着面と第2接着面とが接着することで、磁力方向を軸として相対回転可能に、かつ、着脱可能に接続される。凸部は、壁面と第1接着部との間に、磁力方向に垂直な方向成分を含む引っ張りに応じて傾倒可能となるクリアランスを有して位置している。第1装置において、磁力方向に垂直な方向のうち、第1方向における頂部と凸部とのクリアランスは、第1方向と異なる第2方向における頂部と凸部とのクリアランスよりも大きい。
【0006】
本開示に係る接続構造によれば、第1装置において、磁力方向に垂直な方向のうち、第1方向における頂部と凸部とのクリアランスは、第1方向と異なる第2方向における頂部と凸部とのクリアランスよりも大きい。そのため、凸部は、第1方向側の方が他方側よりも大きく傾く。従って、第2装置は、第1方向側に引っ張られたときの方が第2方向側に引っ張られたときよりも取れやすくなる。これにより、例えば、意図的にユーザーがある方向に第2装置を引っ張ったときには取れやすく、逆に意図せず他の方向に第2装置が引っ張られたときには簡単に取れてしまうことを抑制する、ということができる。
【0007】
上記接続構造によれば、壁面は、円筒状であってもよい。凸部は、円環筒状であってもよい。第1接着部は、円柱の外周面の一部が欠けた形状であってもよい。これにより、第2装置の第1装置に対する相対回転位置にかかわらず、第2方向側に傾いたときの傾倒角度を均一にすることができる。
【0008】
上記接続構造によれば、磁力方向Zに対して垂直な断面において、第1接着部は、半円の弧以上の長さの弧を有していてもよい。円環筒状の凸部の内側に第1接着部が収まっている状況において、仮に断面における第1接着部の弧が半円よりも小さいと、左右方向に相対的に移動できてしまうためガタが生じる。一方、第1接着部が半円より長い弧を有しているときは、半円よりも長い弧の部分に凸部の内周面がひっかかる。そのため、左右方向のガタツキを抑制することができる。
【0009】
上記接続構造によれば、磁力方向に対して垂直な断面において、第1接着部は、直線部と、直線部の両端に連なる円弧状部とを備えていてもよい。円弧状部の中心角は、180°よりも大きくてもよい。これにより、左右方向のガタツキをさらに抑制することができる。
【0010】
上記接続構造によれば、第2装置は、第2底面を備えていてもよい。第2接着部は、第2底面から突出していてもよい。仮に第2接着部が第2底面よりも奥まった位置にある場合、第1接着部と第2接着部とを接着させようとしたときに、第1接着部が第2底面に引っかかり第2接着部まで至らないおそれがある。第2接着部が第2底面から突出している場合には、第1接着面と第2接着面とをより確実に接着することができる。そのため、第1接着面と第2接着面とが意図せず離間することを抑制することができる。
(【0011】以降は省略されています)
特許ウォッチbot のツイートを見る
この特許をJ-PlatPat(特許庁公式サイト)で参照する
関連特許
任天堂株式会社
システム、方法、およびプログラム
20日前
任天堂株式会社
プログラム、情報処理システム、および情報処理方法
今日
任天堂株式会社
情報処理プログラム、情報処理システム、および情報処理方法
今日
任天堂株式会社
情報処理システム、情報処理プログラム、および情報処理方法
7日前
任天堂株式会社
周辺機器およびシステム
1日前
任天堂株式会社
ゲームプログラム、ゲームシステム、ゲーム装置、およびゲーム処理方法
2日前
任天堂株式会社
ゲーム進行補助システム、ゲーム進行補助プログラム、ゲーム進行補助方法、および娯楽施設
7日前
任天堂株式会社
情報処理装置、情報処理方法、情報処理プログラム、および情報処理システム
6日前
個人
箸
9日前
個人
家具
3か月前
個人
椅子
2か月前
個人
掃除機
7か月前
個人
自助箸
6か月前
個人
屋外用箒
6か月前
個人
枕
4か月前
個人
ハンガー
6か月前
個人
ソファー
1か月前
個人
多用途紐
6日前
個人
耳拭き棒
10か月前
個人
掃除道具
7か月前
個人
枕
7か月前
個人
体洗い具
9か月前
個人
掃除用具
2か月前
個人
組立式棚板
6か月前
個人
省煙消臭器
7か月前
個人
掃除シート
8か月前
個人
開閉トング
5か月前
個人
エコ掃除機
11か月前
個人
片手代替具
10か月前
個人
物品
2か月前
個人
バターナイフ
9日前
個人
ゴミ袋保持枠
6か月前
個人
洗面台
10か月前
個人
受け皿
4か月前
個人
転倒防止装置
4か月前
個人
中身のない枕
6か月前
続きを見る
他の特許を見る