TOP
|
特許
|
意匠
|
商標
特許ウォッチ
Twitter
他の特許を見る
10個以上の画像は省略されています。
公開番号
2025142339
公報種別
公開特許公報(A)
公開日
2025-09-30
出願番号
2025127580,2024015780
出願日
2025-07-30,2018-10-24
発明の名称
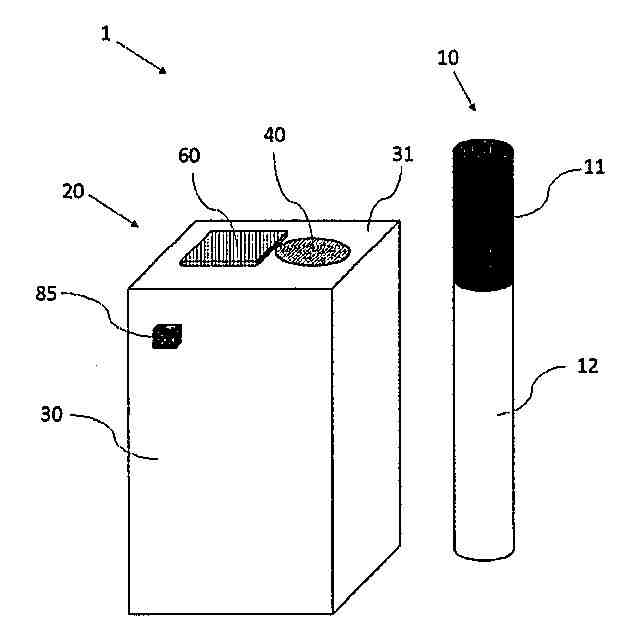
保持機構を有するエアロゾル発生装置
出願人
フィリップ・モーリス・プロダクツ・ソシエテ・アノニム
代理人
個人
,
個人
,
個人
,
個人
,
個人
,
個人
,
個人
,
個人
主分類
A24F
40/40 20200101AFI20250919BHJP(たばこ;葉巻たばこ;紙巻たばこ;喫煙具)
要約
【課題】エアロゾル発生物品を加熱するためのエアロゾル発生装置を提供する。
【解決手段】エアロゾル発生物品を加熱するためのエアロゾル発生装置は、開口部を有するハウジングと、ハウジング内に配置された、かつエアロゾル発生物品の少なくとも一部分をハウジング内の開口部を通して受容するように構成されたチャンバーと、ハウジング内に配置されたヒーター組立品であって、かつチャンバーの少なくとも一部分を加熱するように構成された発熱体を備えるヒーター組立品と、ハウジングの開口部に配置された、またはハウジングの開口部に近接して配置された保持機構とを備える。保持機構は、エアロゾル発生物品を開口部経由でチャンバーの中に挿入することができる第一の位置と、保持部材が第一の位置にある時の開口部のサイズと比べて開口部のサイズを低減させた第二の位置との間で動くように構成された少なくとも一つの保持部材を備える。
【選択図】図1A
特許請求の範囲
【請求項1】
エアロゾル発生物品を加熱するためのエアロゾル発生装置であって、
開口部を有するハウジングと、
前記ハウジング内に配置された、かつ前記ハウジングの前記開口部を通して前記エアロゾル発生物品の少なくとも一部分を受容するように構成されたチャンバーと、
前記ハウジング内に配置されたヒーター組立品であって、かつ前記チャンバーの少なくとも一部分を加熱するように構成された発熱体を備える、ヒーター組立品と、
前記ハウジングの前記開口部に配置された、または前記開口部に近接して配置された少なくとも一つの保持部材を備え、かつ
前記エアロゾル発生物品を前記開口部を介して前記チャンバーの中に挿入することができる第一の位置と、
前記保持部材が、前記第一の位置にある時の前記開口部の前記サイズと比べて前記開口部の前記サイズを低減させた第二の位置と、の間で動くように構成された保持機構と、を備える、エアロゾル発生装置。
続きを表示(約 1,000 文字)
【請求項2】
前記保持部材が前記ハウジングの壁の外表面上に配置されている、または前記保持部材が前記ハウジングの壁の内部表面の下にある、請求項1に記載のエアロゾル発生装置。
【請求項3】
前記ハウジングがガイドトラックを備え、前記保持部材が前記第一の位置と前記第二の位置の間を動く際に、このガイドトラックに沿って摺動することができる、請求項1または請求項2に記載のエアロゾル発生装置。
【請求項4】
前記保持機構が旋回点を備え、かつ前記保持部材が前記第一の位置と前記第二の位置の間で動く際に、前記保持部材が旋回点を軸に旋回するように構成されている、請求項1または請求項2に記載のエアロゾル発生装置。
【請求項5】
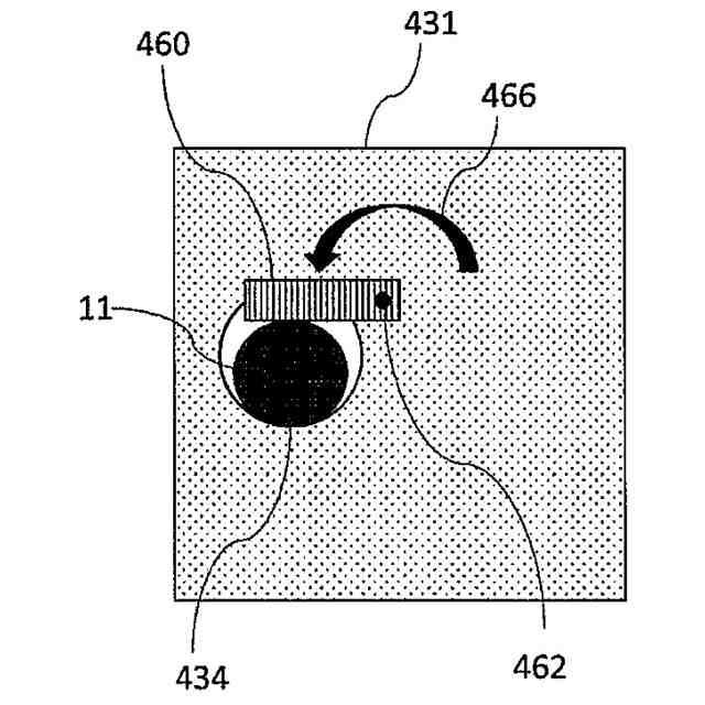
前記少なくとも一つの保持部材がアイリス絞り配設になっている複数のブレードを備え、前記ブレードの各々が、前記エアロゾル発生物品を前記開口部を介して前記チャンバーの中に挿入することができる第一の位置と、前記ブレードが前記第一の位置にある時の前記開口部の前記サイズと比べて前記開口部のサイズを低減させた第二の位置とから動くように構成されている、請求項1または請求項2に記載のエアロゾル発生装置。
【請求項6】
前記少なくとも一つの保持部材が、前記保持部材が前記第二の位置にある時に、保持表面を提供するように配設された凹状の縁を備える、請求項1~4のいずれか一項に記載のエアロゾル発生装置。
【請求項7】
前記少なくとも一つの保持部材が、前記ハウジング内の前記開口部を完全に閉じる第三の位置に動くように構成されている、請求項1~6のいずれか一項に記載のエアロゾル発生装置。
【請求項8】
前記チャンバーが細長く、かつ前記チャンバーの基部から前記開口部まで延びる長軸方向軸を有する、請求項1~7のいずれか一項に記載のエアロゾル発生装置。
【請求項9】
前記チャンバーの少なくとも一つの壁が前記ヒーター要素に熱的に連結されている、請求項1~8のいずれか一項に記載の電気加熱式エアロゾル発生装置。
【請求項10】
前記ヒーター組立品が、前記チャンバーの前記少なくとも一つの壁の前記外表面の周りに配置されたヒーター要素を備える、請求項9に記載のエアロゾル発生装置。
(【請求項11】以降は省略されています)
発明の詳細な説明
【技術分野】
【0001】
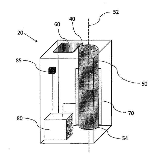
本発明は手持ち式の電気的に作動するエアロゾル発生システムなどのエアロゾル発生システムに関する。特に、本発明は、ある量のエアロゾル形成基体を含有する物品を加熱するように構成されたエアロゾル発生装置に関する。
続きを表示(約 2,400 文字)
【背景技術】
【0002】
たばこなどのエアロゾル形成基体が中で燃焼されるのではなく加熱される物品は、当業界で提案されてきた。こうした物品は、物品の一部分を中に挿入することができる、ヒーターおよびチャンバーを備えるエアロゾル発生装置によって加熱される。特に、物品のエアロゾル形成基体部分はチャンバーの中に挿入され、加熱されてエアロゾルを生成する。物品の口側端部分はチャンバーの外側に留まり、消費者は物品のこの口側端部分を吸ってエアロゾルを受容することができる。チャンバーは典型的に、細長い円筒であり、チャンバーのサイズおよび形状はエアロゾル発生物品のサイズおよび形状に実質的に対応し、エアロゾル発生装置はこのエアロゾル発生物品とともに使用されることが意図されている。装置のチャンバー内で物品を適切に位置付けるために、装置は、チャンバーの基部から延びるヒーターブレードの形態のヒーターを備えてもよい。物品がチャンバーの中に挿入される時に、ヒーターブレードは物品を貫通する。一部の装置において、ヒーターブレードは、物品をチャンバーに対して定位置に保持するのに役立つ場合がある。しかしながら、ヒーターブレードは、物品がチャンバーの中に挿入されると、物品を定位置に保持するための適切な手段を常に提供するとは限らない。
【0003】
また、チャンバーの外表面の周りに延びるヒーター組立品などの他の手段によって物品を加熱することも当業界で提案されてきた。チャンバーの中に挿入された時にヒーターブレードがこのような物品を損傷するリスクがありうるため、加熱される物品が比較的スリムである場合、こうしたヒーター組立品が選ばれる場合がある。
【0004】
一部の装置において、チャンバーの中への物品の挿入およびチャンバーからの物品の抜き出しを容易にするために、装置のチャンバーはチャンバー内で加熱される物品の幅より大きい幅を有することが望ましい場合がある。特に、チャンバーの外表面の周りに延びるヒーター組立品を備える装置のチャンバーからの物品の抜き出しを容易にすることが必要である場合がある。これは、外表面からの物品の加熱が物品の構造を弱化しうるからであり(特に物品が、紙から形成された外側ラッパーを有する場合に)、これは物品がチャンバーから取り外される際に物品が裂けるリスクを増大させる。
【発明の概要】
【発明が解決しようとする課題】
【0005】
従って、エアロゾル発生物品がエアロゾル発生装置の中に挿入された後にエアロゾル発生物品を保持するための改善された配設を提供することが望ましいことになる。従って、エアロゾル発生装置からの物品の抽出を容易にするために、エアロゾル発生装置からエアロゾル発生物品を放出するための改善された配設を提供することも望ましいことになる。
【課題を解決するための手段】
【0006】
本発明の第一の態様によると、エアロゾル発生物品を加熱するためのエアロゾル発生装置が提供されていて、装置は、開口部を有するハウジングと、ハウジング内に配置された、かつエアロゾル発生物品の少なくとも一部分をハウジング内の開口部を通して受容するように構成されたチャンバーと、ハウジング内に配置されたヒーター組立品であって、かつチャンバーの少なくとも一部分を加熱するように構成された発熱体を備えるヒーター組立品と、ハウジングの開口部に配置された、またはハウジングの開口部に近接して配置された、かつエアロゾル発生物品を開口部を通してチャンバーの中に挿入することができる第一の位置と、保持部材が第一の位置にある時の開口部のサイズと比べて開口部のサイズを低減させた第二の位置との間で動くように構成された少なくとも一つの保持部材を備える保持機構と、を備える。
【0007】
こうした第一の位置と第二の位置の間で動くことができる保持部材を有する装置を提供することによって、物品を装置のチャンバーの中に簡単に挿入することができ(保持部材が第一の位置にある時)、次いで前記挿入の後、物品を保持部材によって定位置にしっかりと保持することができる(保持部材が第二の位置にある時)。
【0008】
保持部材をハウジング内の開口部にて、またはその周りに提供することによって、保持部材は、物品の口側端部分などの加熱組立品からの高温に晒される可能性が低い物品の一部分と係合することができる。これは、保持部材がエアロゾル発生プロセスに影響を与える可能性が低いことを意味し、従って保持部材が物品のエアロゾル形成部分と係合するように構成されていた場合よりも、消費者に送達されるエアロゾルに影響を与える可能性が低い。口側端部分はまた、物品のエアロゾル形成部分よりも弾力性が高くてもよい。これは、保持部材が物品のエアロゾル形成部分と係合していた場合よりも、物品の口側端部分が保持部材によって損傷を受ける可能性が低いことを意味する。
【0009】
本発明の第一の態様の配設はまた、使用中に物品がチャンバー内で動く、またはチャンバーから外れる実質的なリスクを有することなく、装置がヒーターブレード配設以外のヒーター配設を利用できるようにする。
【0010】
本発明の実施形態において、保持機構はヒーター組立品から分離されているか、またはヒーター組立品と同じ構成要素ではない。すなわち、保持機構を形成する物体(複数可)は、ヒーター組立品を形成する物体(複数可)と同じではない。このようにして、ヒーター組立品の機能および性能は、少なくとも一つの保持部材がその第一の位置または第二の位置に配置されているかどうかによって影響を受けないままであり続けることができる。
(【0011】以降は省略されています)
この特許をJ-PlatPat(特許庁公式サイト)で参照する
関連特許
株式会社ルック
携帯用灰皿
6か月前
個人
ヒートスティック除去具
3か月前
日本たばこ産業株式会社
香味吸引物品
1か月前
個人
電子タバコの加熱素子
3か月前
日本たばこ産業株式会社
香味発生物品
1か月前
日本たばこ産業株式会社
喫煙システム
2か月前
個人
フレーバ用ブースター器具およびシーシャ装置
3か月前
日本たばこ産業株式会社
口腔用組成物
2か月前
東莞市佳かい精密金属制品有限公司
充電可能な電子タバコケース
3か月前
日本たばこ産業株式会社
香味吸引システム
2か月前
Future Technology株式会社
エアロゾル吸引カートリッジ
1か月前
日本たばこ産業株式会社
香味吸引システム
2か月前
エム・クリエイト株式会社
灰皿装置及び灰皿管理システム
4か月前
日本たばこ産業株式会社
低香味原料を含むたばこセグメント
1か月前
日本たばこ産業株式会社
非燃焼加熱型香味吸引物品用フィルタ
5か月前
日本たばこ産業株式会社
たばこ原料の製造方法およびたばこ原料
6か月前
日本たばこ産業株式会社
香味発生物品および香味吸引システム
2か月前
日本たばこ産業株式会社
粒状再生セルロースを含有する口腔用組成物
2か月前
Future Technology株式会社
エアロゾル吸引カートリッジ用のエアロゾル形成部材
6か月前
日本たばこ産業株式会社
電子装置
2か月前
日本たばこ産業株式会社
吸引器
2か月前
Future Technology株式会社
芳香基材
3か月前
Future Technology株式会社
喫煙器具
1か月前
日本たばこ産業株式会社
たばこ材料、その製造方法、および非燃焼加熱型喫煙物品
1か月前
Future Technology株式会社
芳香カートリッジ
6か月前
Future Technology株式会社
芳香カートリッジ
3か月前
Future Technology株式会社
芳香カートリッジ
5か月前
Future Technology株式会社
芳香カートリッジ
3か月前
Future Technology株式会社
芳香カートリッジ
5日前
Future Technology株式会社
芳香カートリッジ
4か月前
Future Technology株式会社
タバコ充填物集積体
1か月前
Future Technology株式会社
喫煙具用カートリッジ
1か月前
Future Technology株式会社
喫煙具用カートリッジ
1か月前
Future Technology株式会社
喫煙具用カートリッジ
2か月前
Future Technology株式会社
喫煙具用カートリッジ
2か月前
Future Technology株式会社
喫煙具用カートリッジ
19日前
続きを見る
他の特許を見る