TOP
|
特許
|
意匠
|
商標
特許ウォッチ
Twitter
他の特許を見る
公開番号
2025142504
公報種別
公開特許公報(A)
公開日
2025-10-01
出願番号
2024041907
出願日
2024-03-18
発明の名称
情報提供装置、情報提供方法及びプログラム
出願人
カシオ計算機株式会社
代理人
弁理士法人光陽国際特許事務所
主分類
A63B
71/06 20060101AFI20250924BHJP(スポーツ;ゲーム;娯楽)
要約
【課題】アドバイス情報を効率的に取得することが可能な装置を提供する。
【解決手段】モーションセンサ装置10のCPU11は、ユーザのランニング(運動)における身体の動きに基づいて、当該身体の動きに関する指標値を取得し、当該指標値に基づいて、ユーザの運動に対するアドバイスを出力部(ワイヤレスイヤホン20の音出力部26)に出力させる。また、CPU11は、ランニングが行われている間において、時間区間であるアドバイス区間(第1の区間)とリフレッシュ区間(第2の区間)とを交互に繰り返して設定し、アドバイス区間の少なくとも一部において、アドバイスをワイヤレスイヤホン20の音出力部26に出力させ、リフレッシュ区間の少なくとも一部において、アドバイスをワイヤレスイヤホン20の音出力部26に出力させないように制御する。
【選択図】図7
特許請求の範囲
【請求項1】
ユーザの運動における身体の動きに基づいて、当該身体の動きに関する指標値を取得する取得手段と、
前記指標値に基づいて、前記ユーザの運動に対するアドバイスを出力部に出力させる出力制御手段と、
を備え、
前記出力制御手段は、前記運動が行われている間において、時間区間である第1の区間と第2の区間とを交互に繰り返して設定し、前記第1の区間の少なくとも一部において、前記アドバイスを前記出力部に出力させ、前記第2の区間の少なくとも一部において、前記アドバイスを前記出力部に出力させないように制御することを特徴とする情報提供装置。
続きを表示(約 1,700 文字)
【請求項2】
前記取得手段は、前記指標値を複数種類取得可能であり、
前記出力制御手段は、前記第1の区間において、前記複数種類の指標値のうち予め指定された第1の指標値に応じた前記アドバイスを前記出力部に出力させ、当該第1の区間において、前記第1の指標値が所定の条件を満たした場合、次の第1の区間において、前記複数種類の指標値のうち予め指定された第2の指標値に応じた前記アドバイスを前記出力部に出力させる、
ことを特徴とする請求項1に記載の情報提供装置。
【請求項3】
前記出力制御手段は、前記第1の区間において、前記第1の指標値が前記所定の条件を満たさなかった場合、次の第1の区間においても、前記第1の指標値に応じた前記アドバイスを前記出力部に出力させる、
ことを特徴とする請求項2に記載の情報提供装置。
【請求項4】
前記出力制御手段は、前記第2の指標値に応じた前記アドバイスが出力される前記第1の区間において、前記第1の指標値が所定の条件を満たした場合、当該第1の区間の直後に設定された前記第2の区間の少なくとも一部以外の区間における所定の時間長において、前記第1の指標値に応じた前記アドバイスを前記出力部に出力させる、
ことを特徴とする請求項2又は3に記載の情報提供装置。
【請求項5】
前記出力制御手段は、前記第2の区間の前記所定の時間長において、前記第1の指標値に応じた前記アドバイスを前記出力部に出力させる際に、所定の応援メッセージを更に出力させる、
ことを特徴とする請求項4に記載の情報提供装置。
【請求項6】
前記取得手段により取得された前記指標値に基づいて、前記ユーザの身体の動きに関する評価スコアを導出するスコア導出手段を備え、
前記出力制御手段は、前記第1の区間において前記スコア導出手段により導出された前記評価スコアを当該第1の区間の最後に前記出力部に出力させる、
ことを特徴とする請求項1に記載の情報提供装置。
【請求項7】
前記出力制御手段は、前記運動の状況又は環境に応じて、前記第1の区間及び前記第2の区間の各時間長を可変設定する、
ことを特徴とする請求項1に記載の情報提供装置。
【請求項8】
前記取得手段は、前記指標値を複数種類取得可能であり、
前記出力制御手段は、前記第1の区間のそれぞれにおいて前記アドバイスを前記出力部に出力させる際に、当該アドバイスの対象となる前記指標値の種類の数を可変にする、
ことを特徴とする請求項1に記載の情報提供装置。
【請求項9】
情報提供装置のコンピュータにより実行される情報提供方法であって、
ユーザの運動における身体の動きに基づいて、当該身体の動きに関する指標値を取得する取得工程と、
前記指標値に基づいて、前記ユーザの運動に対するアドバイスを出力部に出力させる出力制御工程と、
を含み、
前記出力制御工程は、前記運動が行われている間において、時間区間である第1の区間と第2の区間とを交互に繰り返して設定し、前記第1の区間の少なくとも一部において、前記アドバイスを前記出力部に出力させ、前記第2の区間の少なくとも一部において、前記アドバイスを前記出力部に出力させないように制御することを特徴とする情報提供方法。
【請求項10】
情報提供装置のコンピュータを、
ユーザの運動における身体の動きに基づいて、当該身体の動きに関する指標値を取得する取得手段、
前記指標値に基づいて、前記ユーザの運動に対するアドバイスを出力部に出力させる出力制御手段、
として機能させ、
前記出力制御手段は、前記運動が行われている間において、時間区間である第1の区間と第2の区間とを交互に繰り返して設定し、前記第1の区間の少なくとも一部において、前記アドバイスを前記出力部に出力させ、前記第2の区間の少なくとも一部において、前記アドバイスを前記出力部に出力させないように制御することを特徴とするプログラム。
発明の詳細な説明
【技術分野】
【0001】
本発明は、情報提供装置、情報提供方法及びプログラムに関する。
続きを表示(約 1,200 文字)
【背景技術】
【0002】
従来、リアルタイムで運動の修正、体調(コンディション)の判別、ケガや故障の発見及び予防に関するアドバイス情報を提供する運動アドバイザシステムが開示されている(特許文献1参照)。
【先行技術文献】
【特許文献】
【0003】
特開2018-68669号公報
【発明の概要】
【発明が解決しようとする課題】
【0004】
しかしながら、上記特許文献1に開示されているシステムでは、ユーザの運動中にセンサによって取得された運動情報に基づいて、アドバイス情報がユーザに通知されてしまうため、ユーザが運動を行っている間はアドバイス情報が頻繁に通知されることとなり、ユーザは運動中において常に意識を集中する必要がある。したがって、ユーザはアドバイス情報を効率的に取得できず、リラックスして運動することが困難になるといった問題がある。
【0005】
本発明は、このような問題に鑑みてなされたものであり、アドバイス情報を効率的に取得することが可能な装置を提供することを目的とする。
【課題を解決するための手段】
【0006】
上記課題を解決するため、本発明に係る情報提供装置は、ユーザの運動における身体の動きに基づいて、当該身体の動きに関する指標値を取得する取得手段と、前記指標値に基づいて、前記ユーザの運動に対するアドバイスを出力部に出力させる出力制御手段と、を備え、前記出力制御手段は、前記運動が行われている間において、時間区間である第1の区間と第2の区間とを交互に繰り返して設定し、前記第1の区間の少なくとも一部において、前記アドバイスを前記出力部に出力させ、前記第2の区間の少なくとも一部において、前記アドバイスを前記出力部に出力させないように制御することを特徴とする。
【発明の効果】
【0007】
本発明によれば、アドバイス情報を効率的に取得することができる。
【図面の簡単な説明】
【0008】
本発明の実施の形態のアドバイス提供システムを示すブロック図である。
モーションセンサ装置の機能構成を示すブロック図である。
ワイヤレスイヤホンの機能構成を示すブロック図である。
アドバイス提供処理の制御手順を示すフローチャートである。
アドバイス区間処理の制御手順を示すフローチャートである。
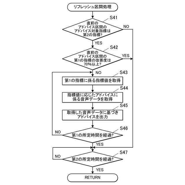
リフレッシュ区間処理の制御手順を示すフローチャートである。
アドバイス区間及びリフレッシュ区間の内容例を示すタイムチャートである。
【発明を実施するための形態】
【0009】
以下、本発明の実施の形態を図面に基づいて説明する。
【0010】
図1に示すように、アドバイス提供システム1は、情報提供装置としてのモーションセンサ装置10と、ワイヤレスイヤホン20とを備える。
(【0011】以降は省略されています)
この特許をJ-PlatPat(特許庁公式サイト)で参照する
関連特許
カシオ計算機株式会社
制御装置、制御方法、及びプログラム
今日
カシオ計算機株式会社
投影装置、投影装置の調整方法及びプログラム
今日
カシオ計算機株式会社
投影装置、投影装置の調整方法及びプログラム
今日
カシオ計算機株式会社
情報処理装置、電子楽器、方法およびプログラム
今日
カシオ計算機株式会社
投影制御装置、投影制御システム、投影制御方法及びプログラム
今日
個人
玩具
20日前
個人
玩具
3か月前
個人
自走玩具
13日前
個人
盤上遊戯具
8か月前
個人
玩具
8か月前
個人
フィギュア
8か月前
個人
運動補助具
2か月前
個人
ゲーム玩具
4か月前
株式会社三共
遊技機
1か月前
株式会社三共
遊技機
1か月前
株式会社三共
遊技機
1か月前
株式会社三共
遊技機
1か月前
株式会社三共
遊技機
1か月前
株式会社三共
遊技機
1か月前
株式会社三共
遊技機
1か月前
株式会社三共
遊技機
1か月前
株式会社三共
遊技機
1か月前
株式会社三共
遊技機
1か月前
株式会社三共
遊技機
1か月前
株式会社三共
遊技機
1か月前
株式会社三共
遊技機
1か月前
株式会社三共
遊技機
1か月前
株式会社三共
遊技機
1か月前
株式会社三共
遊技機
1か月前
株式会社三共
遊技機
1か月前
株式会社三共
遊技機
1か月前
株式会社三共
遊技機
1か月前
株式会社三共
遊技機
1か月前
株式会社三共
遊技機
1か月前
株式会社三共
遊技機
3か月前
株式会社三共
遊技機
1か月前
続きを見る
他の特許を見る