TOP
|
特許
|
意匠
|
商標
特許ウォッチ
Twitter
他の特許を見る
10個以上の画像は省略されています。
公開番号
2025144157
公報種別
公開特許公報(A)
公開日
2025-10-02
出願番号
2024043802
出願日
2024-03-19
発明の名称
投影制御装置、投影制御システム、投影制御方法及びプログラム
出願人
カシオ計算機株式会社
代理人
個人
主分類
G06Q
50/04 20120101AFI20250925BHJP(計算;計数)
要約
【課題】作業者が見やすい態様で作業の指示内容を投影する。
【解決手段】投影制御装置100は、作業指示データに係る画像を投影部に投影させる投影制御装置100であって、工程エリアにおける作業内容情報に基づいて、画像を表向き及び裏向きで投影可能に制御する、制御部を備える。
【選択図】図1
特許請求の範囲
【請求項1】
作業指示データに係る画像を投影部に投影させる投影制御装置であって、
工程エリアにおける作業内容情報に基づいて、前記画像を表向き及び裏向きで投影可能に制御する、
制御部を備える、
投影制御装置。
続きを表示(約 1,300 文字)
【請求項2】
前記制御部は、
前記工程エリアにおける投影設定情報をさらに取得し、
前記投影設定情報に基づいて前記投影部の設定を調整する、
請求項1に記載の投影制御装置。
【請求項3】
前記工程エリアは、生産ライン上における工程エリアであり、
前記制御部は、
前記工程エリアの情報を取得し、
前記工程エリアの情報を生産管理装置に送信し、
前記生産管理装置から前記工程エリアにおける前記投影設定情報及び前記作業内容情報を取得する、
請求項2に記載の投影制御装置。
【請求項4】
前記制御部は、
作業物に対して、前記作業指示データを第1の色で表向きに投影し、第1の色とは異なる第2の色で裏向きに投影する、
請求項1に記載の投影制御装置。
【請求項5】
前記制御部は、
作業物に対して、前記作業指示データに表向きを示すシンボルを付加して表向きに投影し、前記作業指示データに裏向きを示すシンボルを付加して裏向きに投影する、
請求項1に記載の投影制御装置。
【請求項6】
前記制御部は、
作業物に対して、前記作業指示データを所定の時間間隔で表向きと裏向きに交互に投影する、
請求項1に記載の投影制御装置。
【請求項7】
前記制御部は、
前記作業内容情報に基づいて前記作業指示データの表向きでの投影と裏向きでの投影の比率を決定し、
作業物に対して、前記比率で前記作業指示データを表向き及び裏向きに投影する、
請求項1に記載の投影制御装置。
【請求項8】
人の位置を検出する人検出部をさらに備え、
前記制御部は、
前記人検出部で検出した人の位置に基づき、
人が作業物の内側にのみいるなら前記作業指示データを前記作業物に裏向きで投影し、
人が前記作業物の外側にのみいるなら前記作業指示データを前記作業物に表向きに投影し、
人が前記作業物の内側及び外側にいるなら前記作業指示データを前記作業物に表向き及び裏向きに投影する、
請求項1に記載の投影制御装置。
【請求項9】
生産管理装置と作業指示データに係る画像を投影部に投影させる投影制御装置とを備える投影制御システムであって、
前記生産管理装置は、生産ライン上における工程エリアの情報に基づいて前記工程エリアにおける作業内容情報を前記投影制御装置に送信し、
前記投影制御装置は、
前記生産ライン上における工程エリアの情報を取得し、
前記工程エリアの情報を前記生産管理装置に送信し、
前記生産管理装置から前記工程エリアにおける作業内容情報を取得し、
前記作業内容情報に基づいて、前記画像を表向き及び裏向きで投影可能に制御する、
制御部を備える、
投影制御システム。
【請求項10】
制御部が、
工程エリアにおける作業内容情報に基づいて、作業指示データに係る画像を表向き及び裏向きで投影可能に制御する、
投影制御方法。
(【請求項11】以降は省略されています)
発明の詳細な説明
【技術分野】
【0001】
本発明は、投影制御装置、投影制御システム、投影制御方法及びプログラムに関する。
続きを表示(約 1,700 文字)
【背景技術】
【0002】
自動車等を生産する工場において、複数の種類の車種を同一の生産ラインで生産する場合がある。この場合、生産ラインでの作業内容は車種によって異なるため、生産ラインで働いている作業者に車種毎の作業内容を知らせる必要がある。このため、従来は、作業内容を印刷した紙を車両に貼り付け、作業者はその紙を見て作業内容を確認するというようなことが行われていた。しかし、これでは作業内容が変わる度に作業内容を印刷し直さなければならなかった。これを改善する技術として、例えば特許文献1には、生産計画が変更された際に各々の工程における指示内容を短時間で生成することが可能な生産指示システムが開示されている。
【先行技術文献】
【特許文献】
【0003】
特開2015-60389号公報
【発明の概要】
【発明が解決しようとする課題】
【0004】
特許文献1に開示されている生産指示システムでは、生産指示データ21を用いて生産ライン50の各々の工程A~Cにおける指示内容22を生成し、各々の工程A~Cに設けられた表示器41a~41cに、各々の工程A~Cに対応した指示内容を表示する。このため、指示内容が変更されてもすぐにその内容を表示器に反映することができる。しかし、表示器が設けられている場所によっては車両等によって表示器が隠れてしまい、作業者が指示内容を確認しづらい場合が生じてしまう。
【0005】
本発明は上記実情に鑑みてなされたものであり、作業者が見やすい態様で作業の指示内容を投影することができる投影制御装置、投影制御システム、投影制御方法及びプログラムを提供することを目的とする。
【課題を解決するための手段】
【0006】
上記目的を達成するため、本発明に係る投影制御装置の一態様は、
作業指示データに係る画像を投影部に投影させる投影制御装置であって、
工程エリアにおける作業内容情報に基づいて、前記画像を表向き及び裏向きで投影可能に制御する、
制御部を備える。
【発明の効果】
【0007】
本発明によれば、作業者が見やすい態様で作業の指示内容を投影することができる。
【図面の簡単な説明】
【0008】
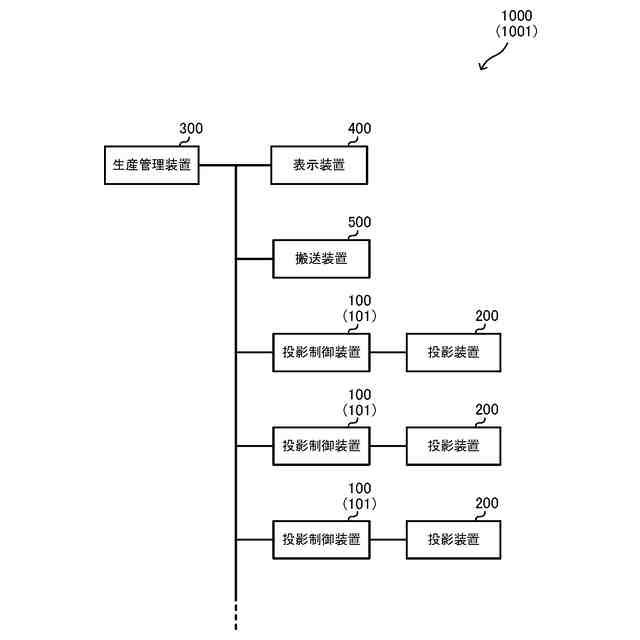
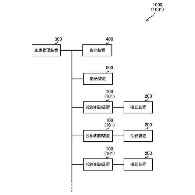
実施の形態に係る投影制御システムの構成例を示す図である。
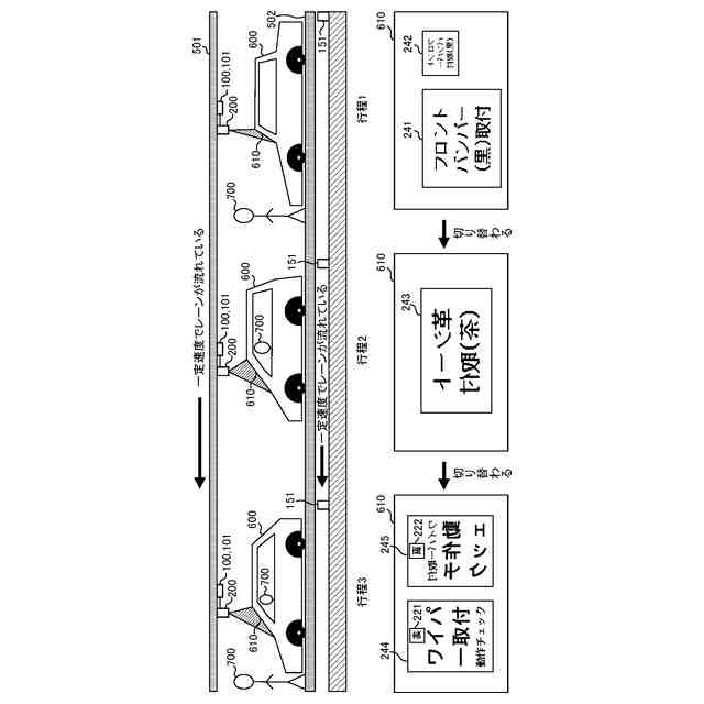
フレームが存在する生産ラインの稼働イメージの一例を示す図である。
表向きの画像と裏向きの画像が交互に投影される例を示す図である。
警告表示が投影される例を示す図である。
実施の形態1に係る投影制御装置の機能構成の一例を示す図である。
実施の形態1に係る投影制御処理のフローチャートの一例である。
実施の形態2に係る投影制御装置の機能構成の一例を示す図である。
実施の形態2に係る投影制御処理のフローチャートの一例である。
フレームが存在しない生産ラインの稼働イメージの一例を示す図である。
【発明を実施するための形態】
【0009】
実施の形態に係る投影制御システム等について、図面を参照して説明する。なお、図中同一又は相当する部分には同一符号を付す。
【0010】
実施の形態1に係る投影制御システム1000は、生産ラインを備える工場に設置されており、例えば図1に示すように、生産管理を行う生産管理装置300、生産管理装置300が生産ラインで働いている作業者に生産状況等を知らせるための表示装置400、生産ラインを動かす搬送装置500、投影制御装置100から与えられた画像を投影する投影装置200(投影部)、生産管理装置300から情報を受け取って投影装置200を制御して作業指示内容を投影装置200に投影させる投影制御装置100を備える。なお、図示しないが、作業者の作業が完了したか否かの情報(例えば作業者が用いるトルクドライバー等からの、ネジ締め等を完了したか否かの情報)を投影制御装置100又は生産管理装置300が取得できるようになっていてもよい。
(【0011】以降は省略されています)
この特許をJ-PlatPat(特許庁公式サイト)で参照する
関連特許
カシオ計算機株式会社
支持台
2日前
カシオ計算機株式会社
減音器具
4日前
カシオ計算機株式会社
減音器具
4日前
カシオ計算機株式会社
電子鍵盤楽器
2日前
カシオ計算機株式会社
装飾板及び時計
3日前
カシオ計算機株式会社
光源装置及び投影装置
4日前
カシオ計算機株式会社
光源装置及び投影装置
4日前
カシオ計算機株式会社
端末装置及びプログラム
4日前
カシオ計算機株式会社
外装部品ユニット及び時計
2日前
カシオ計算機株式会社
カッターユニット及び切断装置
2日前
カシオ計算機株式会社
演奏装置、方法およびプログラム
3日前
カシオ計算機株式会社
補助バスマスタ回路及び電子機器
6日前
カシオ計算機株式会社
演奏装置、方法およびプログラム
4日前
カシオ計算機株式会社
ロボット、及びロボットの製造方法
2日前
カシオ計算機株式会社
外装部品、外装部品ユニット及び時計
2日前
カシオ計算機株式会社
情報処理装置、方法およびプログラム
2日前
カシオ計算機株式会社
制御装置、制御方法、及びプログラム
3日前
カシオ計算機株式会社
電子機器、登録処理方法及びプログラム
2日前
カシオ計算機株式会社
プログラム、電子機器及び登録処理方法
2日前
カシオ計算機株式会社
情報提供装置、情報提供方法及びプログラム
4日前
カシオ計算機株式会社
音声提供装置、音声提供方法及びプログラム
2日前
カシオ計算機株式会社
情報処理装置、プログラム及び情報処理方法
2日前
カシオ計算機株式会社
投影装置、投影装置の調整方法及びプログラム
3日前
カシオ計算機株式会社
印刷装置、印刷装置の制御方法及びプログラム
2日前
カシオ計算機株式会社
情報処理装置、表示制御方法、及びプログラム
2日前
カシオ計算機株式会社
電子楽器、電子楽器の制御方法及びプログラム
2日前
カシオ計算機株式会社
投影装置、投影装置の調整方法及びプログラム
3日前
カシオ計算機株式会社
情報処理装置、電子楽器、方法およびプログラム
3日前
カシオ計算機株式会社
画像処理装置、プログラム、及び、画像処理方法
2日前
カシオ計算機株式会社
情報処理装置、表示制御方法、及び、プログラム
2日前
カシオ計算機株式会社
機器の制御装置、機器の制御方法及びプログラム
2日前
カシオ計算機株式会社
情報処理装置、表示制御方法、及び、プログラム
4日前
カシオ計算機株式会社
入力文作成装置、入力文作成方法及びプログラム
2日前
カシオ計算機株式会社
電子機器、認証システム、制御方法及びプログラム
2日前
カシオ計算機株式会社
電子機器、心理的状態変動評価方法及びプログラム
2日前
カシオ計算機株式会社
通信方法、通信システム、電子機器及びプログラム
2日前
続きを見る
他の特許を見る