TOP
|
特許
|
意匠
|
商標
特許ウォッチ
Twitter
他の特許を見る
10個以上の画像は省略されています。
公開番号
2025144098
公報種別
公開特許公報(A)
公開日
2025-10-02
出願番号
2024043710
出願日
2024-03-19
発明の名称
投影装置、投影装置の調整方法及びプログラム
出願人
カシオ計算機株式会社
代理人
弁理士法人光陽国際特許事務所
主分類
G03B
21/14 20060101AFI20250925BHJP(写真;映画;光波以外の波を使用する類似技術;電子写真;ホログラフイ)
要約
【課題】投影される複数のドットの大きや輝度を容易に調整できる投影装置、投影装置の調整方法及びプログラムを提供する。
【解決手段】レーザ光を射出する光源と、光源から入射したレーザ光を、当該レーザ光のビーム径に応じた直径を有する複数のドットを投影対象に形成可能なドットパターン光に変換する回折光学素子と、光源と回折光学素子との間におけるレーザ光の光路に配置され、回折光学素子に入射するレーザ光のビーム径を変更可能な光学系と、を備える。
【選択図】図3
特許請求の範囲
【請求項1】
レーザ光を射出する光源と、
前記光源から入射した前記レーザ光を、当該レーザ光のビーム径に応じた直径を有する複数のドットを投影対象に形成可能なドットパターン光に変換する回折光学素子と、
前記光源と前記回折光学素子との間における前記レーザ光の光路に配置され、前記回折光学素子に入射する前記レーザ光の前記ビーム径を変更可能な光学系と、
を備える投影装置。
続きを表示(約 1,500 文字)
【請求項2】
前記ドットパターン光が入射する表示素子であって、前記ドットパターン光の一部を用いて、前記投影対象に投影される画像光を生成する前記表示素子を備える、
請求項1に記載の投影装置。
【請求項3】
前記回折光学素子に入射する前記レーザ光の前記ビーム径が変更されるように前記光学系を駆動する駆動部と、
前記駆動部を制御して前記レーザ光の前記ビーム径を調整する制御部と、
を備える、請求項1に記載の投影装置。
【請求項4】
前記制御部は、前記投影装置から前記投影対象までの距離に係る距離情報に基づいて、前記距離が大きいほど前記レーザ光の前記ビーム径が小さくなるように前記駆動部を制御する、
請求項3に記載の投影装置。
【請求項5】
前記回折光学素子に入射する前記レーザ光の前記ビーム径が変更されるように前記光学系を駆動する駆動部と、
前記駆動部を制御して前記レーザ光の前記ビーム径を調整する制御部と、
を備え、
前記表示素子は、前記ドットパターン光のうち、前記表示素子における所定の画像データに基づく画像領域内に入射した一部を用いて前記画像光を生成し、
前記制御部は、前記画像データに係る画像の複雑度に基づいて、前記複雑度が高いほど前記レーザ光の前記ビーム径が大きくなるように前記駆動部を制御する、
請求項2に記載の投影装置。
【請求項6】
前記回折光学素子に入射する前記レーザ光の前記ビーム径が変更されるように前記光学系を駆動する駆動部と、
前記駆動部を制御して前記レーザ光の前記ビーム径を調整する制御部と、
を備え、
前記表示素子は、前記ドットパターン光のうち、前記表示素子における所定の画像データに基づく画像領域内に入射した一部を用いて前記画像光を生成し、
前記制御部は、前記画像データに係る画像の複雑度が所定の基準値以上である場合に、前記複数のドットのうち前記投影対象に投影された隣り合うドット同士が一部重なる大きさとなるように前記レーザ光の前記ビーム径を調整する、
請求項2に記載の投影装置。
【請求項7】
レーザ光を射出する光源と、
前記光源から入射した前記レーザ光を、当該レーザ光のビーム径に応じた直径を有する複数のドットを投影対象に形成可能なドットパターン光に変換する回折光学素子と、
前記光源と前記回折光学素子との間における前記レーザ光の光路に配置され、前記回折光学素子に入射する前記レーザ光の前記ビーム径を変更可能な光学系と、
を備えた投影装置の調整方法であって、
前記回折光学素子に入射する前記レーザ光の前記ビーム径を、前記光学系を用いて調整する、
投影装置の調整方法。
【請求項8】
レーザ光を射出する光源と、
前記光源から入射した前記レーザ光を、当該レーザ光のビーム径に応じた直径を有する複数のドットを投影対象に形成可能なドットパターン光に変換する回折光学素子と、
前記光源と前記回折光学素子との間における前記レーザ光の光路に配置され、前記回折光学素子に入射する前記レーザ光の前記ビーム径を変更可能な光学系と、
前記回折光学素子に入射する前記レーザ光の前記ビーム径が変更されるように前記光学系を駆動する駆動部と、
を備えた投影装置に設けられたコンピュータを、
前記駆動部を制御して前記レーザ光の前記ビーム径を調整する制御手段、
として機能させるプログラム。
発明の詳細な説明
【技術分野】
【0001】
本発明は、投影装置、投影装置の調整方法及びプログラムに関する。
続きを表示(約 1,700 文字)
【背景技術】
【0002】
従来、レーザ光を回折光学素子により回折、分岐させて、スクリーン等の投影対象に所定の画像パターンを投影する投影装置がある。例えば、特許文献1には、回折光学素子を用いて線状パターンを投影可能な投影装置が開示されている。回折格子の形状を調整することで、複数のドットからなる画像パターンを投影することもできる。
【先行技術文献】
【特許文献】
【0003】
特開2023-43061号公報
【発明の概要】
【発明が解決しようとする課題】
【0004】
しかしながら、上記の従来技術には、投影される複数のドットの大きや輝度を容易に調整できないという課題がある。
【0005】
本発明は、投影される複数のドットの大きや輝度を容易に調整できるようにすることを目的とする。
【課題を解決するための手段】
【0006】
上記課題を解決するため、本発明に係る投影装置は、
レーザ光を射出する光源と、
前記光源から入射した前記レーザ光を、当該レーザ光のビーム径に応じた直径を有する複数のドットを投影対象に形成可能なドットパターン光に変換する回折光学素子と、
前記光源と前記回折光学素子との間における前記レーザ光の光路に配置され、前記回折光学素子に入射する前記レーザ光の前記ビーム径を変更可能な光学系と、
を備える。
【発明の効果】
【0007】
本発明によれば、投影される複数のドットの大きや輝度を容易に調整することができる。
【図面の簡単な説明】
【0008】
投影装置を示す模式図である。
投影装置の機能構成を示すブロック図である。
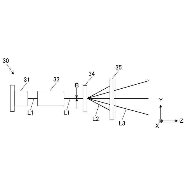
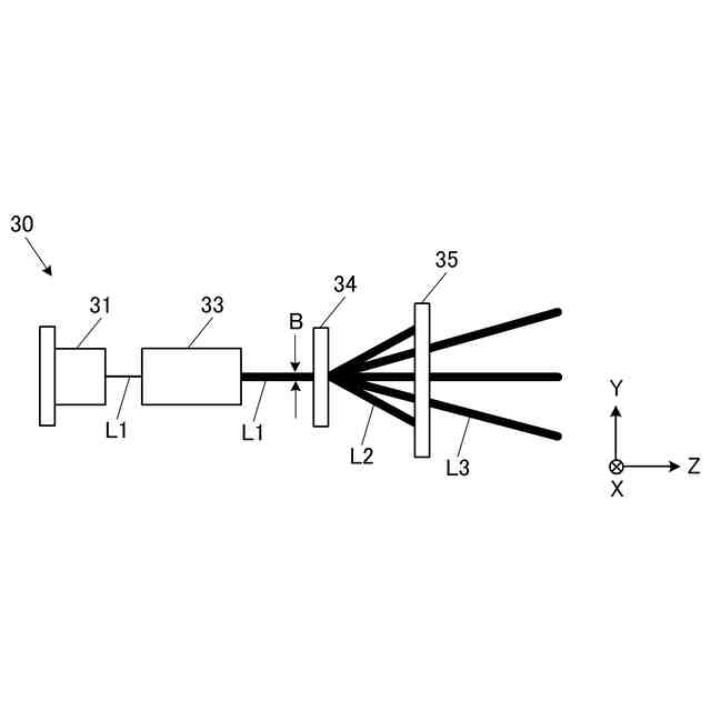
画像投影部の構成を示す模式図である。
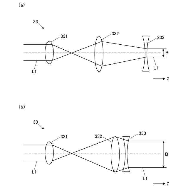
図4(a)及び図4(b)は、光学系の構成を示す模式図である。
光学系におけるレンズの移動機構を説明する図である。
回折光学素子の構成を示す図である。
ビーム径を増大させた場合の画像投影部を示す模式図である。
ドットパターンを示す図である。
表示素子における画像領域及び遮光領域を示す図である。
図8のドットパターン及び図9の表示素子により投影される画像パターンを示す図である。
ビーム径を増大させた場合のドットパターンを示す図である。
表示素子における画像領域及び遮光領域の他の例を示す図である。
図11のドットパターン及び図12の表示素子により投影される画像パターンを示す図である。
投影処理の制御手順を示すフローチャートである。
投影処理の制御手順を示すフローチャートである。
【発明を実施するための形態】
【0009】
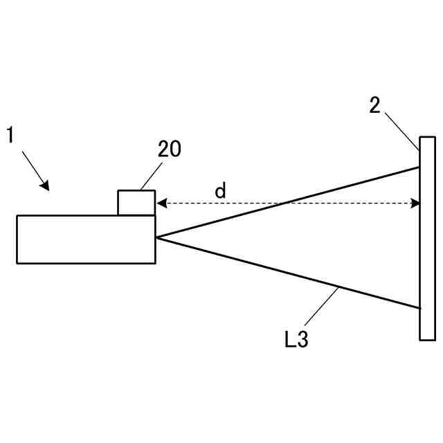
以下、本発明の実施の形態を図面に基づいて説明する。図1に示すように、本実施形態の投影装置1は、投影対象2に対して画像光L3を投影することで、投影対象2の表面に種々の画像を表示(投影)する。投影対象2は、例えばスクリーンであってもよいし、建物の壁、床若しくは天井等、又は任意の物体の表面等であってもよい。本実施形態において、投影装置1から投影対象2までの距離dは約2mであるが、これに限られない。投影対象2の表面に投影される画像は、特には限られないが、例えば、周囲にいる人を案内するための案内標識の画像であってもよいし、投影対象2の表面を装飾するための画像であってもよい。
【0010】
図2に示すように、投影装置1は、CPU11(Central Processing Unit)(制御部、制御手段)と、RAM12(Random Access Memory)と、記憶部13と、距離センサ20と、画像投影部30と、を備える。投影装置1の各部は、バス等のデータ伝送経路を介して接続されている。投影装置1は、図2に示されていない構成、例えば、ユーザの入力操作を受け付ける操作部、投影装置1のステータス情報等を表示する表示部、及び外部機器との間で通信を行う通信部等をさらに備えていてもよい。
(【0011】以降は省略されています)
この特許をJ-PlatPat(特許庁公式サイト)で参照する
関連特許
カシオ計算機株式会社
減音器具
2日前
カシオ計算機株式会社
減音器具
2日前
カシオ計算機株式会社
装飾板及び時計
1日前
カシオ計算機株式会社
光源装置及び投影装置
2日前
カシオ計算機株式会社
光源装置及び投影装置
2日前
カシオ計算機株式会社
光源装置及び投影装置
14日前
カシオ計算機株式会社
端末装置及びプログラム
2日前
カシオ計算機株式会社
電子機器、及び表示制御方法
4日前
カシオ計算機株式会社
制御装置、方法およびプログラム
4日前
カシオ計算機株式会社
補助バスマスタ回路及び電子機器
4日前
カシオ計算機株式会社
演奏装置、方法およびプログラム
2日前
カシオ計算機株式会社
制御装置、方法およびプログラム
4日前
カシオ計算機株式会社
発音装置及び音出力制御システム
14日前
カシオ計算機株式会社
演奏装置、方法およびプログラム
1日前
カシオ計算機株式会社
制御装置、制御方法、及びプログラム
1日前
カシオ計算機株式会社
発音装置、接続装置及び音出力システム
14日前
カシオ計算機株式会社
情報処理装置、表示方法、及びプログラム
4日前
カシオ計算機株式会社
情報提供装置、情報提供方法及びプログラム
2日前
カシオ計算機株式会社
切断制御装置、切断制御方法及びプログラム
14日前
カシオ計算機株式会社
電子時計、電子時計の制御方法及びプログラム
4日前
カシオ計算機株式会社
電子機器、電子機器の制御方法及びプログラム
4日前
カシオ計算機株式会社
学習支援装置、学習支援方法およびプログラム
14日前
カシオ計算機株式会社
投影装置、投影装置の調整方法及びプログラム
1日前
カシオ計算機株式会社
投影装置、投影装置の調整方法及びプログラム
1日前
カシオ計算機株式会社
情報処理装置、表示制御方法、及び、プログラム
2日前
カシオ計算機株式会社
情報処理装置、電子楽器、方法およびプログラム
1日前
カシオ計算機株式会社
情報処理装置、電子楽器、発音制御方法及びプログラム
4日前
カシオ計算機株式会社
キャリブレーション装置、及びキャリブレーション方法
4日前
カシオ計算機株式会社
鍵盤楽器
3日前
カシオ計算機株式会社
情報処理装置、情報処理システム、情報処理方法及びプログラム
4日前
カシオ計算機株式会社
投影制御装置、投影制御システム、投影制御方法及びプログラム
1日前
カシオ計算機株式会社
電子機器、電子機器の動作制御方法、プログラム及び情報処理システム
4日前
カシオ計算機株式会社
鍵盤楽器の製造方法及び鍵盤楽器
3日前
カシオ計算機株式会社
印刷データ圧縮方法、印刷データ転送方法、印刷データ圧縮装置、及び、プログラム
8日前
カシオ計算機株式会社
教師データ生成装置、学習装置、及び、領域検出装置、プログラム、教師データの生成方法、領域推定器の学習方法、領域検出方法
2日前
株式会社シグマ
絞りユニット
15日前
続きを見る
他の特許を見る