TOP
|
特許
|
意匠
|
商標
特許ウォッチ
Twitter
他の特許を見る
10個以上の画像は省略されています。
公開番号
2025144099
公報種別
公開特許公報(A)
公開日
2025-10-02
出願番号
2024043711
出願日
2024-03-19
発明の名称
投影装置、投影装置の調整方法及びプログラム
出願人
カシオ計算機株式会社
代理人
弁理士法人光陽国際特許事務所
主分類
G03B
21/14 20060101AFI20250925BHJP(写真;映画;光波以外の波を使用する類似技術;電子写真;ホログラフイ)
要約
【課題】視認しやすい画像を投影することができる投影装置、投影装置の調整方法、及びプログラムを提供する。
【解決手段】投影装置は、レーザ光を射出する光源と、当該光源から入射したレーザ光を、投影対象に複数のドットを形成可能なドットパターン光に変換する回折光学素子と、複数のドットのうち投影対象に形成された各ドットが継続的に移動するように、レーザ光が入射する少なくとも1つの光学素子を動かす駆動部と、を備える。
【選択図】図3
特許請求の範囲
【請求項1】
レーザ光を射出する光源と、
前記光源から入射した前記レーザ光を、投影対象に複数のドットを形成可能なドットパターン光に変換する回折光学素子と、
前記複数のドットのうち前記投影対象に形成された各ドットが継続的に移動するように、前記レーザ光が入射する少なくとも1つの光学素子を動かす駆動部と、
を備える投影装置。
続きを表示(約 1,000 文字)
【請求項2】
前記駆動部は、前記複数のドットのうち前記投影対象に形成された前記各ドットが所定の大きさの移動領域内を継続的に移動するように、前記少なくとも1つの光学素子を周期的に動かす、
請求項1に記載の投影装置。
【請求項3】
前記投影対象における前記複数のドットの配列方向についての前記移動領域の最大幅は、前記投影対象に形成された前記ドットの直径の1.5倍以上である、
請求項2に記載の投影装置。
【請求項4】
前記投影対象における前記複数のドットの配列方向についての前記移動領域の最大幅は、前記投影対象に形成された前記ドットの前記配列方向についての配置ピッチ以上である、
請求項2に記載の投影装置。
【請求項5】
前記少なくとも1つの光学素子は、レンズ又は前記回折光学素子の少なくとも一方を含み、
前記駆動部は、前記少なくとも1つの光学素子を、前記レーザ光の光軸に対して垂直な面内で前記光学素子の中心が円運動をするように移動させる、
請求項1に記載の投影装置。
【請求項6】
前記少なくとも1つの光学素子は、レンズ又は前記回折光学素子の少なくとも一方を含み、
前記駆動部は、前記少なくとも1つの光学素子を、前記レーザ光の光軸に対して垂直な方向に往復移動させる、
請求項1に記載の投影装置。
【請求項7】
前記少なくとも1つの光学素子は、前記回折光学素子を含み、
前記駆動部は、前記レーザ光の光軸に垂直な面からの前記回折光学素子の傾斜角度を周期的に変化させる、
請求項1に記載の投影装置。
【請求項8】
前記駆動部は、少なくとも2つの前記光学素子を、互いに異なる態様で周期的に動かす、
請求項1に記載の投影装置。
【請求項9】
前記投影装置から前記投影対象までの距離に係る距離情報に基づいて、前記距離が大きいほど、前記投影対象における前記複数のドットの配列方向についての前記移動領域の最大幅が大きくなるように前記駆動部を制御する制御部を備える、
請求項2に記載の投影装置。
【請求項10】
前記ドットパターン光が入射する表示素子であって、前記ドットパターン光の一部を用いて、前記投影対象に投影される画像光を生成する前記表示素子を備える、
請求項1~9のいずれか一項に記載の投影装置。
(【請求項11】以降は省略されています)
発明の詳細な説明
【技術分野】
【0001】
本発明は、投影装置、投影装置の調整方法及びプログラムに関する。
続きを表示(約 1,800 文字)
【背景技術】
【0002】
従来、レーザ光を回折光学素子により回折、分岐させて、スクリーン等の投影対象に所定の画像パターンを投影する投影装置がある。例えば、特許文献1には、回折光学素子を用いて線状パターンを投影可能な投影装置が開示されている。回折格子の形状を調整することで、複数のドットからなる画像パターンを投影することもできる。
【先行技術文献】
【特許文献】
【0003】
特開2023-43061号公報
【発明の概要】
【発明が解決しようとする課題】
【0004】
しかしながら、回折光学素子を用いて投影される複数のドット間には隙間が生じるので、投影される複数のドットを一まとまりの画像として視認しにくいという課題がある。
【0005】
本発明は、視認しやすい画像を投影することができる投影装置、投影装置の調整方法、及びプログラムを提供することを目的とする。
【課題を解決するための手段】
【0006】
上記課題を解決するため、本発明に係る投影装置は、
レーザ光を射出する光源と、
前記光源から入射した前記レーザ光を、投影対象に複数のドットを形成可能なドットパターン光に変換する回折光学素子と、
前記複数のドットのうち前記投影対象に形成された各ドットが継続的に移動するように、前記レーザ光が入射する少なくとも1つの光学素子を動かす駆動部と、
を備える。
【発明の効果】
【0007】
本発明によれば、視認しやすい画像を投影することができる。
【図面の簡単な説明】
【0008】
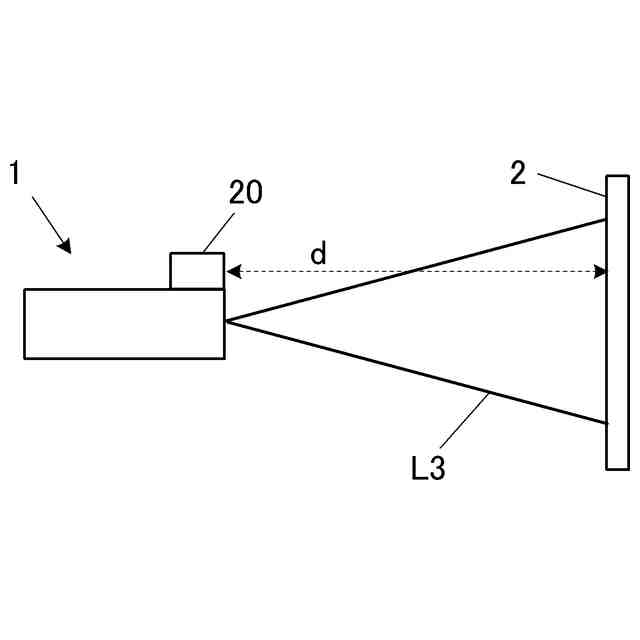
投影装置を示す模式図である。
投影装置の機能構成を示すブロック図である。
画像投影部の構成を示す模式図である。
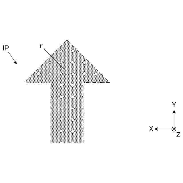
ドットパターンを示す図である。
表示素子における画像領域及び遮光領域を示す図である。
図4のドットパターン及び図5の表示素子により投影される画像パターンを示す図である。
駆動部のうち回折光学素子を動かすための機構を示す模式図である。
回折光学素子を対象とする素子移動動作に応じたドットの動きを説明する図である。
素子移動動作を行っている状態の画像パターンを示す図である。
板状部材を対象とした素子移動動作を説明する図である。
板状部材を対象とする素子移動動作に応じたドットの動きを説明する図である。
回折光学素子の傾斜角度を変更する素子移動動作を説明する図である。
レンズを対象とした素子移動動作を説明する図である。
レンズを対象とした素子移動動作によるレーザ光の光路の変化を示す図である。
レンズを対象とする素子移動動作に応じたドットの動きを説明する図である。
投影処理の制御手順を示すフローチャートである。
【発明を実施するための形態】
【0009】
以下、本発明の実施の形態を図面に基づいて説明する。図1に示すように、本実施形態の投影装置1は、投影対象2に対して画像光L3を投影することで、投影対象2の表面に種々の画像を表示(投影)する。投影対象2は、例えばスクリーンであってもよいし、建物の壁、床若しくは天井等、又は任意の物体の表面等であってもよい。本実施形態において、投影装置1から投影対象2までの距離dは約2mであるが、これに限られない。投影対象2の表面に投影される画像は、特には限られないが、例えば、周囲にいる人を案内するための案内標識の画像であってもよいし、投影対象2の表面を装飾するための画像であってもよい。
【0010】
図2に示すように、投影装置1は、CPU11(Central Processing Unit)(制御部、制御手段)と、RAM12(Random Access Memory)と、記憶部13と、距離センサ20と、画像投影部30と、を備える。投影装置1の各部は、バス等のデータ伝送経路を介して接続されている。投影装置1は、図2に示されていない構成、例えば、ユーザの入力操作を受け付ける操作部、投影装置1のステータス情報等を表示する表示部、及び外部機器との間で通信を行う通信部等をさらに備えていてもよい。
(【0011】以降は省略されています)
この特許をJ-PlatPat(特許庁公式サイト)で参照する
関連特許
カシオ計算機株式会社
支持台
2日前
カシオ計算機株式会社
減音器具
4日前
カシオ計算機株式会社
減音器具
4日前
カシオ計算機株式会社
電子鍵盤楽器
2日前
カシオ計算機株式会社
装飾板及び時計
3日前
カシオ計算機株式会社
機器ケース及び時計
26日前
カシオ計算機株式会社
光源装置及び投影装置
4日前
カシオ計算機株式会社
取付構造及び印刷装置
25日前
カシオ計算機株式会社
光源装置及び投影装置
16日前
カシオ計算機株式会社
光源装置及び投影装置
4日前
カシオ計算機株式会社
光源装置及び投影装置
16日前
カシオ計算機株式会社
端末装置及びプログラム
4日前
カシオ計算機株式会社
外装部品ユニット及び時計
2日前
カシオ計算機株式会社
電子時計及び電子時計本体
17日前
カシオ計算機株式会社
電子機器、及び表示制御方法
6日前
カシオ計算機株式会社
カッターユニット及び切断装置
2日前
カシオ計算機株式会社
電子時計、外装部材及びバンド
17日前
カシオ計算機株式会社
演奏装置、方法およびプログラム
4日前
カシオ計算機株式会社
補助バスマスタ回路及び電子機器
6日前
カシオ計算機株式会社
制御装置、方法およびプログラム
6日前
カシオ計算機株式会社
制御装置、方法およびプログラム
6日前
カシオ計算機株式会社
発音装置及び音出力制御システム
16日前
カシオ計算機株式会社
演奏装置、方法およびプログラム
3日前
カシオ計算機株式会社
指針、時計、及び指針の製造方法
1か月前
カシオ計算機株式会社
ロボット、及びロボットの製造方法
2日前
カシオ計算機株式会社
時計、表示制御方法及びプログラム
17日前
カシオ計算機株式会社
外装部品、外装部品ユニット及び時計
2日前
カシオ計算機株式会社
情報処理装置、方法およびプログラム
2日前
カシオ計算機株式会社
制御装置、制御方法、及びプログラム
3日前
カシオ計算機株式会社
テープ製造方法及びテープ製造システム
24日前
カシオ計算機株式会社
発音装置、接続装置及び音出力システム
16日前
カシオ計算機株式会社
電子機器、登録処理方法及びプログラム
2日前
カシオ計算機株式会社
プログラム、電子機器及び登録処理方法
2日前
カシオ計算機株式会社
電子時計、針位置検出方法及びプログラム
25日前
カシオ計算機株式会社
情報処理装置、表示方法、及びプログラム
6日前
カシオ計算機株式会社
位置推定装置、位置推定方法、プログラム
24日前
続きを見る
他の特許を見る