TOP
|
特許
|
意匠
|
商標
特許ウォッチ
Twitter
他の特許を見る
10個以上の画像は省略されています。
公開番号
2025144031
公報種別
公開特許公報(A)
公開日
2025-10-02
出願番号
2024043593
出願日
2024-03-19
発明の名称
情報処理装置、電子楽器、方法およびプログラム
出願人
カシオ計算機株式会社
代理人
インフォート弁理士法人
主分類
G10H
1/26 20060101AFI20250925BHJP(楽器;音響)
要約
【課題】ユーザがどの演奏操作子を操作した場合にも、ユーザの演奏表現に応じた音楽的に適切な楽音を発音すること。
【解決手段】情報処理装置は、少なくとも1つのプロセッサを備える。少なくとも1つのプロセッサは、曲で進行中のコードのコード構成音を検出し、複数の演奏操作子のうちの少なくとも1つの演奏操作子に対する操作を検出し、操作を検出したタイミングにおけるコード構成音であって、操作が検出されている演奏操作子の操作数に応じた数のコード構成音、の発音を処理する。
【選択図】図6
特許請求の範囲
【請求項1】
少なくとも1つのプロセッサを備え、
前記少なくとも1つのプロセッサは、
曲で進行中のコードのコード構成音を検出し、
複数の演奏操作子のうちの少なくとも1つの演奏操作子に対する操作を検出し、
操作を検出したタイミングにおける前記コード構成音であって、操作が検出されている前記演奏操作子の操作数に応じた数のコード構成音、の発音を処理する、
情報処理装置。
続きを表示(約 1,300 文字)
【請求項2】
前記少なくとも1つのプロセッサは、
操作された前記演奏操作子に対応付けられた音高に基づいて、前記コード構成音の音高を決定し、
前記コード構成音の発音として、決定された前記音高の発音を処理する、
請求項1に記載の情報処理装置。
【請求項3】
前記操作数が1つの場合、前記少なくとも1つのプロセッサは、前記コード構成音のうちのルート音の発音を処理する、
請求項1に記載の情報処理装置。
【請求項4】
前記少なくとも1つのプロセッサは、各オクターブ領域の前記ルート音のうち、操作された前記演奏操作子に対応付けられた音高に最も近い音高のルート音の発音を処理する、
請求項3に記載の情報処理装置。
【請求項5】
前記操作数が複数の場合、前記少なくとも1つのプロセッサは、前記ルート音に加えて、前記ルート音よりも高い音高の前記コード構成音の発音を処理する、
請求項3に記載の情報処理装置。
【請求項6】
前記操作数が前記コードを構成する音数を超える場合、前記少なくとも1つのプロセッサは、前記ルート音を最低音高とする第1オクターブの第1の音高範囲内の全ての前記コード構成音に加えて、前記第1オクターブと異なる第2オクターブの第2の音高範囲内の前記コード構成音であって、前記音数を超えた分の数の前記コード構成音、の発音を処理する、
請求項3に記載の情報処理装置。
【請求項7】
前記少なくとも1つのプロセッサは、前記第2の音高範囲内の前記コード構成音のうち、前記第1の音高範囲内の前記コード構成音との差が2半音以内の前記コード構成音、の発音を処理しない、
請求項6に記載の情報処理装置。
【請求項8】
前記曲のデータは、第1パートのデータと第2パートのデータを含み、
前記第1パートのデータは、前記曲のコードデータを含み、
前記第2パートのデータは、前記曲を構成する複数の楽音の情報を含み、
前記少なくとも1つのプロセッサは、
前記演奏操作子に対する操作が検出されると、前記第1パートのデータに基づいて、前記操作数に応じた数の前記コード構成音の発音を処理し、
前記演奏操作子に対応する操作に拘わらず、前記第2パートのデータに基づいて、前記複数の楽音の情報のそれぞれに対応付けられた発音タイミングに従い、前記複数の楽音の発音を順次処理する、
請求項1に記載の情報処理装置。
【請求項9】
請求項1から請求項8の何れか一項に記載の情報処理装置と、
複数の演奏操作子と、を含む、
電子楽器。
【請求項10】
コンピュータが、
曲で進行中のコードのコード構成音を検出し、
複数の演奏操作子のうちの少なくとも1つの演奏操作子に対する操作を検出し、
操作を検出したタイミングにおける前記コード構成音であって、操作が検出されている前記演奏操作子の操作数に応じた数のコード構成音、の発音を処理する、
方法。
(【請求項11】以降は省略されています)
発明の詳細な説明
【技術分野】
【0001】
本明細書の開示は、情報処理装置、電子楽器、方法およびプログラムに関する。
続きを表示(約 1,600 文字)
【背景技術】
【0002】
電子楽器に対するユーザの演奏操作を補助する装置が知られている(例えば特許文献1参照)。特許文献1に記載の装置は、曲のコード進行データに従い、ユーザが押すべき鍵を指示する。ユーザは、この指示に従い、コード構成音の鍵を押すことでコード演奏を行うことができる。
【先行技術文献】
【特許文献】
【0003】
特開2002-40921号公報
【発明の概要】
【発明が解決しようとする課題】
【0004】
特許文献1では、ユーザが操作した演奏操作子によっては音楽的に適切でない楽音が発音される場合がある。
【0005】
本開示の実施形態は上記の事情に鑑みてなされたものであり、その目的とするところは、ユーザがどの演奏操作子を操作した場合にも、ユーザの演奏表現に応じた音楽的に適切な楽音を発音させられる、情報処理装置、電子楽器、方法およびプログラムを提供することである。
【課題を解決するための手段】
【0006】
本開示の一実施形態に係る情報処理装置は、少なくとも1つのプロセッサを備える。少なくとも1つのプロセッサは、曲で進行中のコードのコード構成音を検出し、複数の演奏操作子のうちの少なくとも1つの演奏操作子に対する操作を検出し、操作を検出したタイミングにおけるコード構成音であって、操作が検出されている演奏操作子の操作数に応じた数のコード構成音、の発音を処理する。
【発明の効果】
【0007】
本開示の一実施形態によれば、ユーザがどのような演奏操作を行っても、ユーザの演奏表現に応じた音楽的に適切な楽音を発音させられる、情報処理装置、電子楽器、方法およびプログラムが提供される。
【図面の簡単な説明】
【0008】
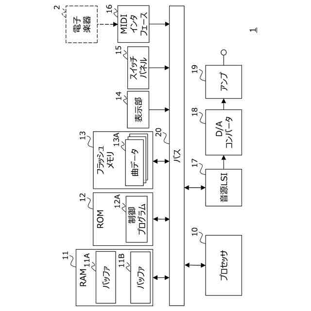
本開示の一実施形態に係る楽器システムの構成を示すブロック図である。
本開示の一実施形態に係る情報処理装置、方法およびプログラムの概要を説明する図である。
本開示の一実施形態に係る情報処理装置、方法およびプログラムの概要を説明する図である。
本開示の一実施形態において発音候補音のなかから発音対象となるコード構成音を決定する方法を説明する図である。
本開示の一実施形態において発音候補音のなかから発音対象となるコード構成音を決定する方法を説明する図である。
本開示の一実施形態において発音候補音のなかから発音対象となるコード構成音を決定する方法を説明する図である。
本開示の一実施形態において発音候補音のなかから発音対象となるコード構成音を決定する方法を説明する図である。
本開示の一実施形態において発音候補音のなかから発音対象となるコード構成音を決定する方法を説明する図である。
本開示の一実施形態において情報処理装置に備えられるプロセッサが実行する処理のフローチャートである。
図9のステップS104の曲進行処理のサブルーチンである。
図9のステップS105の演奏操作処理のサブルーチンである。
図9のステップS105の演奏操作処理のサブルーチンである。
本開示の別の一実施形態におけるコード構成音の選択方法を説明する図である。
【発明を実施するための形態】
【0009】
以下の説明は、本開示の一実施形態に係る情報処理装置、電子楽器、方法およびプログラムに関する。共通の又は対応する要素については、同一又は類似の符号を付して、重複する説明を適宜簡略又は省略する。
【0010】
図1に示されるように、本開示の一実施形態に係る楽器システムは、情報処理装置1と電子楽器2を含む。情報処理装置1と電子楽器2は、有線または無線で通信可能に接続される。
(【0011】以降は省略されています)
この特許をJ-PlatPat(特許庁公式サイト)で参照する
関連特許
カシオ計算機株式会社
支持台
2日前
カシオ計算機株式会社
減音器具
4日前
カシオ計算機株式会社
減音器具
4日前
カシオ計算機株式会社
電子鍵盤楽器
2日前
カシオ計算機株式会社
装飾板及び時計
3日前
カシオ計算機株式会社
機器ケース及び時計
26日前
カシオ計算機株式会社
光源装置及び投影装置
4日前
カシオ計算機株式会社
取付構造及び印刷装置
25日前
カシオ計算機株式会社
光源装置及び投影装置
16日前
カシオ計算機株式会社
光源装置及び投影装置
4日前
カシオ計算機株式会社
光源装置及び投影装置
16日前
カシオ計算機株式会社
端末装置及びプログラム
4日前
カシオ計算機株式会社
外装部品ユニット及び時計
2日前
カシオ計算機株式会社
電子時計及び電子時計本体
17日前
カシオ計算機株式会社
電子機器、及び表示制御方法
6日前
カシオ計算機株式会社
カッターユニット及び切断装置
2日前
カシオ計算機株式会社
電子時計、外装部材及びバンド
17日前
カシオ計算機株式会社
演奏装置、方法およびプログラム
4日前
カシオ計算機株式会社
補助バスマスタ回路及び電子機器
6日前
カシオ計算機株式会社
制御装置、方法およびプログラム
6日前
カシオ計算機株式会社
制御装置、方法およびプログラム
6日前
カシオ計算機株式会社
発音装置及び音出力制御システム
16日前
カシオ計算機株式会社
演奏装置、方法およびプログラム
3日前
カシオ計算機株式会社
指針、時計、及び指針の製造方法
1か月前
カシオ計算機株式会社
ロボット、及びロボットの製造方法
2日前
カシオ計算機株式会社
時計、表示制御方法及びプログラム
17日前
カシオ計算機株式会社
外装部品、外装部品ユニット及び時計
2日前
カシオ計算機株式会社
情報処理装置、方法およびプログラム
2日前
カシオ計算機株式会社
制御装置、制御方法、及びプログラム
3日前
カシオ計算機株式会社
テープ製造方法及びテープ製造システム
24日前
カシオ計算機株式会社
発音装置、接続装置及び音出力システム
16日前
カシオ計算機株式会社
電子機器、登録処理方法及びプログラム
2日前
カシオ計算機株式会社
プログラム、電子機器及び登録処理方法
2日前
カシオ計算機株式会社
電子時計、針位置検出方法及びプログラム
25日前
カシオ計算機株式会社
情報処理装置、表示方法、及びプログラム
6日前
カシオ計算機株式会社
位置推定装置、位置推定方法、プログラム
24日前
続きを見る
他の特許を見る