TOP
|
特許
|
意匠
|
商標
特許ウォッチ
Twitter
他の特許を見る
10個以上の画像は省略されています。
公開番号
2025143455
公報種別
公開特許公報(A)
公開日
2025-10-01
出願番号
2025115009,2023576147
出願日
2025-07-08,2022-06-17
発明の名称
エアロゾル生成デバイス
出願人
ニコベンチャーズ トレーディング リミテッド
,
Nicoventures Trading Limited
代理人
個人
,
個人
,
個人
主分類
A24F
40/40 20200101AFI20250924BHJP(たばこ;葉巻たばこ;紙巻たばこ;喫煙具)
要約
【課題】エアロゾル生成デバイスを提供する。
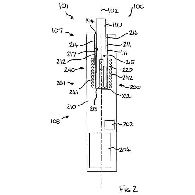
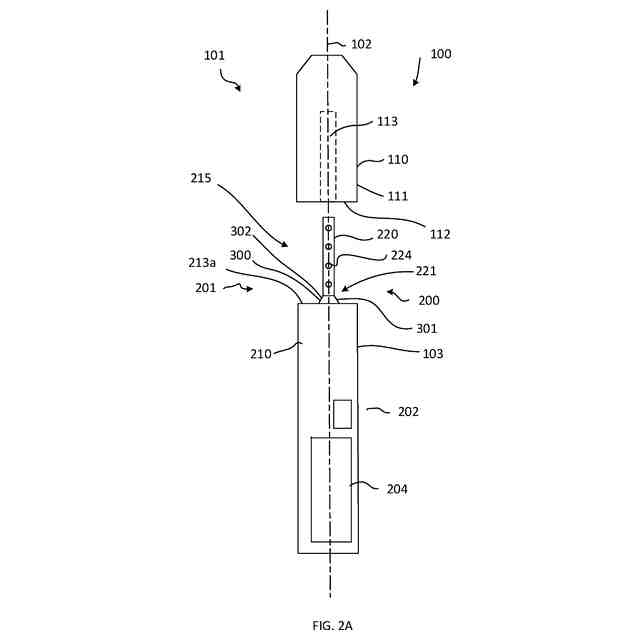
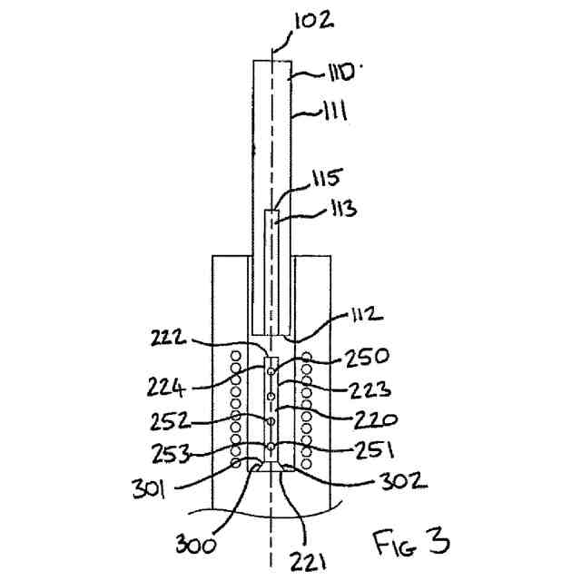
【解決手段】エアロゾル生成デバイス101は、エアロゾル生成材料からエアロゾルを生成する。デバイスは、エアロゾル生成材料を含む物品110の少なくとも一部が受け入れられる加熱ゾーン215を画定するレセプタクル212を有する。加熱要素220が、加熱ゾーン内に突出する。シールが、物品と、レセプタクルおよび加熱要素のうちの少なくとも1つとの間を封止するように構成される。
【選択図】図2
特許請求の範囲
【請求項1】
エアロゾル生成材料からエアロゾルを生成するためのエアロゾル生成デバイスであって、
エアロゾル生成材料を含む物品の少なくとも一部を受け入れるように構成された加熱ゾーンを画定するレセプタクルと、
前記加熱ゾーン内に突出する加熱要素と、
前記物品と前記レセプタクルおよび前記加熱要素のうちの少なくとも1つとの間を封止するように構成されたシールと
を備える、エアロゾル生成デバイス。
続きを表示(約 740 文字)
【請求項2】
前記シールが前記加熱ゾーン内で突出する、請求項1に記載のエアロゾル生成デバイス。
【請求項3】
物品の少なくとも一部が受け入れられる、前記レセプタクルの近位端における開口部と、遠位端とを備え、前記シールが前記遠位端にある、請求項1または2に記載のエアロゾル生成デバイス。
【請求項4】
前記シールが前記加熱要素の周りに延在する、請求項1~3のいずれか一項に記載のエアロゾル生成デバイス。
【請求項5】
前記シールが、リップシール、Oリング、およびフェースシールのうちの少なくとも1つを備える、請求項1~4のいずれか一項に記載のエアロゾル生成デバイス。
【請求項6】
前記シールが、面取り部、カラー、肩部、ガスケット、および突出部のうちの少なくとも1つを備える、請求項1~5のいずれか一項に記載のエアロゾル生成デバイス。
【請求項7】
前記シールが、前記加熱要素と前記レセプタクルとの接合部において前記物品と封止するように構成される、請求項1~6のいずれか一項に記載のエアロゾル生成デバイス。
【請求項8】
前記加熱要素が前記シールの少なくとも一部を備える、請求項1~7のいずれか一項に記載のエアロゾル生成デバイス。
【請求項9】
前記加熱要素が、加熱部材と、前記加熱部材の周りの前記シールのシール部材とを備える、請求項8に記載のエアロゾル生成デバイス。
【請求項10】
前記加熱要素が、変動磁場による侵入によって加熱可能な加熱材料を含む、請求項1~9のいずれか一項に記載のエアロゾル生成デバイス。
(【請求項11】以降は省略されています)
発明の詳細な説明
【技術分野】
【0001】
本発明は、エアロゾル生成材料からエアロゾルを生成するためのエアロゾル生成デバイスに関する。本発明はまた、エアロゾル生成デバイスと、エアロゾル生成材料を含む物品とを備える、エアロゾル供給システムに関する。
続きを表示(約 920 文字)
【背景技術】
【0002】
(背景)
紙巻きタバコ、葉巻などの喫煙品は、使用中にタバコを燃やしてタバコの煙を発生させる。燃えずに化合物を放出する製品を作ることによって、タバコを燃やすこれらの物品の代替品を提供するための試みがなされてきた。そのような製品の例は、材料を加熱するが燃やさずに化合物を放出する加熱デバイスである。材料は、例えば、タバコ、または、ニコチンを含有しても含有しなくてもよい他の非タバコ製品であり得る。
【発明の概要】
【0003】
(概要)
一態様によれば、エアロゾル生成材料からエアロゾルを生成するためのエアロゾル生成デバイスが提供され、エアロゾル生成デバイスは、エアロゾル生成材料を含む物品の少なくとも一部を受け入れるように構成された加熱ゾーンを画定するレセプタクルと、加熱ゾーン内に突出する加熱要素と、物品とレセプタクルおよび加熱要素のうちの少なくとも1つとの間を封止するように構成されたシールとを備える。
【0004】
加熱要素は、エアロゾル生成材料からエアロゾルを生成するのに十分な温度に加熱されるように構成され得る。
【0005】
シールは加熱ゾーン内で突出し得る。
【0006】
本デバイスは、物品の少なくとも一部が受け入れられる、レセプタクルの近位端における開口部と、遠位端とを備え得、シールは遠位端にある。
【0007】
シールは開口部から離間していることがある。
【0008】
シールは加熱要素の周りに延在し得る。
【0009】
シールは、リップシール、Oリング、およびフェースシールのうちの少なくとも1つを備え得る。シールは、面取り部、カラー、肩部、ガスケット、スカート、および突出部のうちの少なくとも1つを備え得る。
【0010】
シールはシール部材を備え得る。シール部材は、周方向に延在するシール部材であり得る。シール部材は可撓性部材を備え得る。シール部材は弾性部材を備え得る。
(【0011】以降は省略されています)
この特許をJ-PlatPat(特許庁公式サイト)で参照する
関連特許
個人
ヒートスティック除去具
3か月前
日本たばこ産業株式会社
香味吸引物品
1か月前
個人
電子タバコの加熱素子
3か月前
日本たばこ産業株式会社
口腔用組成物
2か月前
個人
フレーバ用ブースター器具およびシーシャ装置
3か月前
日本たばこ産業株式会社
喫煙システム
2か月前
日本たばこ産業株式会社
香味発生物品
1か月前
東莞市佳かい精密金属制品有限公司
充電可能な電子タバコケース
3か月前
日本たばこ産業株式会社
香味吸引システム
2か月前
日本たばこ産業株式会社
香味吸引システム
2か月前
Future Technology株式会社
エアロゾル吸引カートリッジ
1か月前
エム・クリエイト株式会社
灰皿装置及び灰皿管理システム
4か月前
日本たばこ産業株式会社
低香味原料を含むたばこセグメント
1か月前
日本たばこ産業株式会社
非燃焼加熱型香味吸引物品用フィルタ
5か月前
日本たばこ産業株式会社
粒状再生セルロースを含有する口腔用組成物
2か月前
日本たばこ産業株式会社
香味発生物品および香味吸引システム
2か月前
日本たばこ産業株式会社
電子装置
2か月前
日本たばこ産業株式会社
吸引器
2か月前
Future Technology株式会社
喫煙器具
1か月前
Future Technology株式会社
芳香基材
3か月前
日本たばこ産業株式会社
たばこ材料、その製造方法、および非燃焼加熱型喫煙物品
1か月前
Future Technology株式会社
芳香カートリッジ
5日前
Future Technology株式会社
芳香カートリッジ
3か月前
Future Technology株式会社
芳香カートリッジ
3か月前
Future Technology株式会社
芳香カートリッジ
4か月前
Future Technology株式会社
タバコ充填物集積体
1か月前
Future Technology株式会社
喫煙具用カートリッジ
1か月前
Future Technology株式会社
喫煙具用カートリッジ
3か月前
Future Technology株式会社
喫煙具用カートリッジ
1か月前
Future Technology株式会社
喫煙具用カートリッジ
3か月前
Future Technology株式会社
喫煙具用カートリッジ
3か月前
日本たばこ産業株式会社
たばこ用の組成物
4か月前
Future Technology株式会社
喫煙具用カートリッジ
2か月前
Future Technology株式会社
喫煙具用カートリッジ
19日前
Future Technology株式会社
喫煙具用カートリッジ
2か月前
Future Technology株式会社
喫煙具用カートリッジ
2か月前
続きを見る
他の特許を見る