TOP
|
特許
|
意匠
|
商標
特許ウォッチ
Twitter
他の特許を見る
10個以上の画像は省略されています。
公開番号
2025146353
公報種別
公開特許公報(A)
公開日
2025-10-03
出願番号
2024047081
出願日
2024-03-22
発明の名称
液体吐出装置、画像形成装置、液体吐出方法、およびプログラム
出願人
株式会社リコー
代理人
弁理士法人酒井国際特許事務所
主分類
B41J
2/205 20060101AFI20250926BHJP(印刷;線画機;タイプライター;スタンプ)
要約
【課題】気流による画質の乱れを抑えることができる、液体吐出装置、画像形成装置、液体吐出方法、およびプログラムを提供する。
【解決手段】本発明は、大きさの異なる2種類以上の液滴が吐出可能な液体吐出ヘッドと、入力階調値の高階調部では最も大きな液滴でのみ吐出させ、前記液体吐出ヘッドが有するノズルのうち吐出しない不吐出ノズルの割合が、前記入力階調値の低階調部から高階調部に向けて増加することはなくかつ少なくとも一か所以上傾きに変化がない部分を含ませる制御部、を備える。
【選択図】図4A
特許請求の範囲
【請求項1】
大きさの異なる2種類以上の液滴が吐出可能な液体吐出ヘッドと、
入力階調値の高階調部では最も大きな液滴でのみ吐出させ、前記液体吐出ヘッドが有するノズルのうち吐出しない不吐出ノズルの割合が、前記入力階調値の低階調部から高階調部に向けて増加することはなくかつ少なくとも一か所以上傾きに変化がない部分を含ませる制御部、
を備える液体吐出装置。
続きを表示(約 1,000 文字)
【請求項2】
前記制御部は、前記入力階調値が増加するに従い、単位面積あたりの液滴の付着量または画像濃度である吐出滴量比率を、減少させない、請求項1に記載の液体吐出装置。
【請求項3】
前記制御部は、前記液体吐出ヘッドにおいて、最も小さい液滴は、前記入力階調値の20%以下でのみ吐出させる、請求項1または2に記載の液体吐出装置。
【請求項4】
前記制御部は、前記液体吐出ヘッドにおいて、前記入力階調値が5%以下では、最も小さい液滴のみで吐出させる、請求項1に記載の液体吐出装置。
【請求項5】
前記液体吐出ヘッドは、大きさの異なる3種類以上の液滴が吐出可能であり、
前記制御部は、2番目に小さい液滴を、前記入力階調値の20%以下で吐出させる、請求項3に記載の液体吐出装置。
【請求項6】
前記制御部は、前記液体吐出ヘッドにおいて前記割合の傾きに変化のない部分のうち、少なくとも1箇所を前記入力階調値が20%以下において存在させる、請求項1または2に記載の液体吐出装置。
【請求項7】
前記制御部は、前記液体吐出ヘッドにおいて前記割合の傾きに変化のない部分のうち、2箇所を前記入力階調値が40%以下で存在させ、そのうち1箇所を20%以下に存在させる、請求項1または2に記載の液体吐出装置。
【請求項8】
請求項1に記載の液体吐出装置を搭載する、画像形成装置。
【請求項9】
大きさの異なる2種類以上の液滴が吐出可能な液体吐出ヘッドを有する液体吐出装置で実行される液体吐出方法であって、
入力階調値の高階調部では最も大きな液滴でのみ吐出させるステップと、
前記液体吐出ヘッドが有するノズルのうち吐出しない不吐出ノズルの割合が、前記入力階調値の低階調部から高階調部に向けて増加することはなくかつ少なくとも一か所以上傾きに変化がない部分を含ませるステップと、
を含む液体吐出方法。
【請求項10】
大きさの異なる2種類以上の液滴が吐出可能な液体吐出ヘッドを有する液体吐出装置を制御するコンピュータを、
入力階調値の高階調部では最も大きな液滴でのみ吐出させ、前記液体吐出ヘッドが有するノズルのうち吐出しない不吐出ノズルの割合が、前記入力階調値の低階調部から高階調部に向けて増加することはなくかつ少なくとも一か所以上傾きに変化がない部分を含ませる制御部、
して機能させるためのプログラム。
発明の詳細な説明
【技術分野】
【0001】
本発明は、液体吐出装置、画像形成装置、液体吐出方法、およびプログラムに関する。
続きを表示(約 2,200 文字)
【背景技術】
【0002】
階調表現には、低階調部では小滴による小ドットサイズで表現し、中間の階調部では小ドットサイズの比率を減らすとともに中滴による中ドットサイズを混合させていき、高階調部では中ドットサイズの比率を減らすともに大滴による大ドットサイズを混合させていく手法が一般に用いられているが、同時に吐出する滴(吐出滴)が増えていくと、吐出滴自身で発生する気流が相互に干渉しあい、吐出滴が曲がってしまう問題がある。
【0003】
これは、特にノズルから紙等の被記録媒体までの距離が離れるほど顕著となる。吐出滴にサテライト等が生じている場合等は、サテライトが気流に流されて着弾することで、木目調のようなムラが生じ、液体吐出ヘッドの端部のノズルでは、影響を受ける気流に偏りが生じ、着弾位置がずれやすく(曲がりやすく)なる。特に、複数の液体吐出ヘッドを並べて印刷するような場合では、液体吐出ヘッドのつなぎ目で白スジまたは黒スジが発生しやすくなる。
【0004】
吐出滴の構成のバランスを考慮して、同じ階調に対して大きな吐出滴を使用する技術が考えられている。特許文献1では、高階調部で最も大きな液滴のみ吐出すること、吐出しないノズルが低階調部から高階調部に向けて増加しない(減少する)ことが記載されている。
【発明の概要】
【発明が解決しようとする課題】
【0005】
しかし、上述の吐出滴の構成では、単純に吐出滴の大きさを変えるのみで、吐出滴と吐出滴の間の空間がインプット数と同量で結果的に吐出滴の間隔が狭くなり、気流の影響を受けやすいという問題がある。また、各インプットレベルに対し、2種類の吐出滴の大きさを使用しており、小さい方の吐出滴の影響を受けやすくなるという問題がある。
【0006】
本発明は、上記に鑑みてなされたものであって、気流による画質の乱れを抑えることができる、液体吐出装置、画像形成装置、液体吐出方法、およびプログラムを提供することを目的とする。
【課題を解決するための手段】
【0007】
上述した課題を解決し、目的を達成するために、本発明は、大きさの異なる2種類以上の液滴が吐出可能な液体吐出ヘッドと、入力階調値の高階調部では最も大きな液滴でのみ吐出させ、前記液体吐出ヘッドが有するノズルのうち吐出しない不吐出ノズルの割合が、前記入力階調値の低階調部から高階調部に向けて増加することはなくかつ少なくとも一か所以上傾きに変化がない部分を含ませる制御部、を備える。
【発明の効果】
【0008】
本発明によれば、同じ吐出量であっても、より大きな吐出滴を増やすことで、できるだけ吐出滴の間隔を設けることができ、気流による画質の乱れを抑えることができる、という効果を奏する。
【図面の簡単な説明】
【0009】
図1は、従来の階調表現方法の一例を説明するための図である。
図2は、第1の実施の形態にかかる液体吐出装置を適用した画像形成装置の内部を透視して示す斜視図である。
図3は、第1の実施の形態にかかる画像形成装置の構成の概略を示す図である。
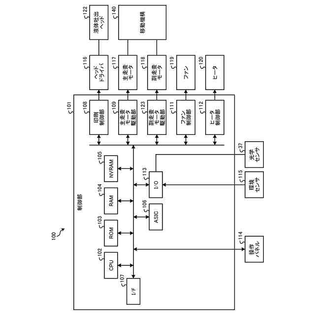
図4Aは、第1の実施の形態にかかる画像形成装置のハードウェア構成の一例を示すブロック図である。
図4Bは、第1の実施の形態にかかる画像形成装置における液体の媒体に対する着弾例を示す図である。
図5Aは、第1実施例にかかる液体吐出装置における階調表現方法の一例を説明するための図である。
図5Bは、第1実施例にかかる液体吐出装置における階調表現方法の一例を説明するための図である。
図6Aは、小滴だけでWhite Pixelを埋めた場合の画質を示す図である。
図6Bは、中滴だけでWhite Pixelを埋めた場合の画質を示す図である。
図6Cは、大滴だけでWhite Pixelを埋めた場合の画質を示す図である。
図7は、第2実施例にかかる液体吐出装置における階調表現方法の一例を説明するための図である。
図8は、第2実施例にかかる液体吐出装置における階調表現方法の一例を説明するための図である。
図9は、第3実施例にかかる液体吐出装置における階調表現方法の一例を説明するための図である。
図10は、第3実施例にかかる液体吐出装置における階調表現方法の一例を説明するための図である。
図11は、第4実施例にかかる液体吐出装置における階調表現方法の一例を説明するための図である。
図12は、第4実施例にかかる液体吐出装置における階調表現方法の一例を説明するための図である。
図13は、第5実施例にかかる液体吐出装置における階調表現方法の一例を説明するための図である。
図14は、第5実施例にかかる液体吐出装置における階調表現方法の一例を説明するための図である。
図15は、第2の実施の形態にかかる液体吐出装置を適用した電極の製造装置の一例を示す模式図である。
【発明を実施するための形態】
【0010】
以下に添付図面を参照して、液体吐出装置、画像形成装置、液体吐出方法、およびプログラムの実施の形態を詳細に説明する。
(【0011】以降は省略されています)
この特許をJ-PlatPat(特許庁公式サイト)で参照する
関連特許
株式会社リコー
画像形成装置
1日前
株式会社リコー
機器及び異常判定方法
1日前
株式会社リコー
定着装置、及び画像形成装置
1日前
株式会社リコー
表示装置、切替方法、プログラム
6日前
株式会社リコー
加熱装置、定着装置及び画像形成装置
今日
株式会社リコー
シート給送装置及び画像形成システム
2日前
株式会社リコー
光源装置、画像投影装置および調整方法
6日前
株式会社リコー
通信装置、状態制御方法、及びプログラム
2日前
株式会社リコー
画像形成装置、及び、プロセスカートリッジ
6日前
株式会社リコー
画像形成装置、情報処理方法およびプログラム
今日
株式会社リコー
情報処理装置、画面作成方法、プログラム、及び情報処理システム
今日
株式会社リコー
表示装置、表示方法、プログラム
6日前
株式会社リコー
画像処理装置、方法、およびプログラム
6日前
株式会社リコー
情報処理システム、情報処理方法およびプログラム
8日前
株式会社リコー
通信端末、取引システム、表示方法、及びプログラム
1日前
株式会社リコー
情報処理システム、サービス提供システム、設定方法
8日前
株式会社リコー
通信端末、画像通信システム、表示方法、及びプログラム
6日前
株式会社リコー
情報処理システム、サーバ、情報処理方法、及びプログラム
6日前
株式会社リコー
情報処理装置、プログラム、Webアプリケーション管理方法及び情報処理システム
6日前
株式会社リコー
電子写真画像形成用キャリア、電子写真画像形成用現像剤、電子写真画像形成方法、電子写真画像形成装置、及びプロセスカートリッジ
今日
個人
箔熱転写装置
1か月前
シヤチハタ株式会社
印判
4か月前
シヤチハタ株式会社
反転式印判
9か月前
キヤノン株式会社
記録装置
1か月前
三光株式会社
感熱記録材料
6か月前
独立行政法人 国立印刷局
印刷物
7か月前
独立行政法人 国立印刷局
記録媒体
9か月前
株式会社リコー
液体吐出装置
5か月前
株式会社リコー
画像形成装置
24日前
株式会社リコー
液体吐出装置
6か月前
株式会社リコー
液体吐出装置
8か月前
株式会社リコー
液体吐出装置
7か月前
株式会社リコー
印刷システム
24日前
株式会社リコー
液体吐出装置
2か月前
株式会社リコー
液体吐出装置
5か月前
独立行政法人 国立印刷局
貼付装置
1か月前
続きを見る
他の特許を見る