TOP
|
特許
|
意匠
|
商標
特許ウォッチ
Twitter
他の特許を見る
公開番号
2025123751
公報種別
公開特許公報(A)
公開日
2025-08-25
出願番号
2024019403
出願日
2024-02-13
発明の名称
貼付装置
出願人
独立行政法人 国立印刷局
代理人
主分類
B41F
16/00 20060101AFI20250818BHJP(印刷;線画機;タイプライター;スタンプ)
要約
【課題】
基材に箔材を熱圧着により貼付する貼付装置において、基材と箔材との熱圧着の際に生じる箔材の位置ずれを規制する貼付装置を提供する。
【解決手段】
刻印プレートと、刻印プレート方向に往復垂直運動で移動するように刻印プレートの下方に設けられた圧板を有する貼付装置において、箔材の位置ずれを規制するための支持部を設けた貼付装置であり、支持部は、刻印プレートにおける圧板と対向する面に設けられ、箔材の幅よりも広い幅の凹部を備えること特徴とする。
【選択図】図5
特許請求の範囲
【請求項1】
刻印プレートと、前記刻印プレート方向に往復垂直運動で移動するように前記刻印プレートの下方に設けられた圧板を有し、
前記圧板と前記刻印プレートの間に搬送される箔材を、前記圧板を前記刻印プレートに押圧することで前記基材に熱圧着する貼付装置であって、
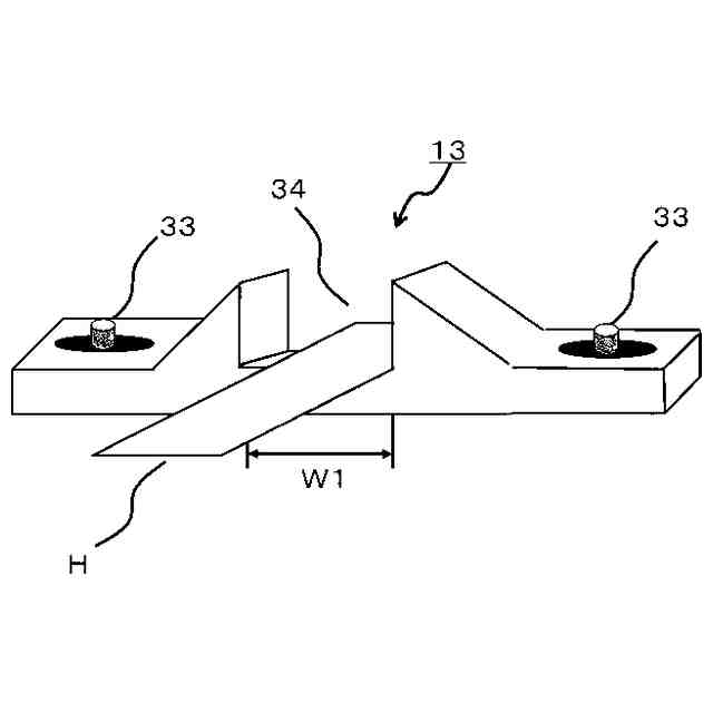
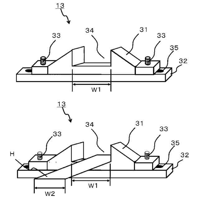
前記刻印プレートの前記圧板と対向する面に、前記箔材の幅方向に対する位置ずれを規制するための、前記箔材の幅よりも広い幅の凹部を備えた支持部を設けたことを特徴とする貼付装置。
発明の詳細な説明
【技術分野】
【0001】
本発明は、用紙に箔材を熱圧着する貼付装置に関する。
続きを表示(約 1,200 文字)
【背景技術】
【0002】
セキュリティ性が要求される銀行券や有価証券等の貴重印刷物には、箔材(金属箔等)が貼付されているものが多い。箔材には、視認角度を変えると色や図柄が変化する特性があるため、特別な判別具などを使用せずに、一般のユーザが見た目で容易に真偽判別が可能であり、偽造が困難という理由により、これらの貴重印刷物に箔材が利用されている。
【0003】
さらに近年では、貴重印刷物における基材の一方向に沿って帯状に貼付できる、ストライプ型と呼ばれる箔材も多く扱われるようになっている。
【0004】
ストライプ型の箔材は、箔内に画像を形成できる領域が多く、複数の図柄を形成することができるため、それぞれの図柄に応じて加工手段等を異ならせることで、偽造をより困難にすることが可能である。
【0005】
また、ストライプ型の箔材は、貴重印刷物における基材の一方向に沿って帯状に貼付することで、簡単に貼ったり剥がしたりすることができないため、貼り替えによる偽造を困難にすることも可能である。
【0006】
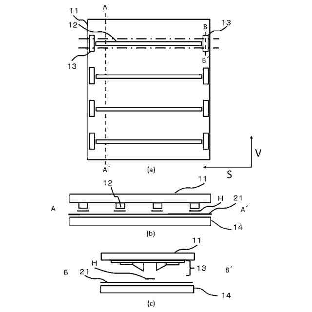
上記のような箔材を貴重印刷物に貼付する際に用いられる貼付装置としては、刻印プレートと、その下方に刻印プレートと水平に設けられた圧板との間に箔材を配置し、箔材と圧板との間に用紙が搬送され、圧板が刻印プレート方向に移動して用紙に圧力をかけることにより、箔材の図柄を用紙に貼付して製造する装置が知られている(例えば、特許文献1参照)。
【先行技術文献】
【特許文献】
【0007】
特開2022-027859号公報
【発明の概要】
【発明が解決しようとする課題】
【0008】
特許文献1の貼付装置では、先端を担持された用紙が、刻印プレートと圧板の間に搬送され、用紙に箔押しされ、箔押しされた用紙は排紙部に排出される機構となっている。
【0009】
上述した箔材は、巻き芯にロール状に巻かれた状態で貼付装置にセットされ、そこから繰り出された箔材は、テンションを保つとともに、方向調整を行う複数のローラを介して、刻印プレートと圧板の間に配されているが、搬送途中で上下方向に撓んだり、箔材の幅方向に対する方向に位置ずれが生じやすい。これは貼付部における間欠運動によるものであり、基材の先端を担持したグリッパーが貼付部において、熱圧着の際に一旦停止し、熱圧着後に稼働する。このとき、箔材(使用済箔)が一度に搬送されるとともに、新たな箔材が貼付部に配されることから、箔材に撓みや位置ずれが生じやすいためである。
【0010】
上下方向の撓み(波うち動作)については、特許文献1の貼付装置には、刻印プレートと、圧板との間に、熱圧着時に用紙と当接する案内手段を設けることで、用紙とともに、箔材にも、案内手段による張力が加わるため、波うち動作を低減させることが可能である。
(【0011】以降は省略されています)
特許ウォッチbot のツイートを見る
この特許をJ-PlatPat(特許庁公式サイト)で参照する
関連特許
個人
箔熱転写装置
1か月前
シヤチハタ株式会社
印判
4か月前
東レ株式会社
凸版印刷版原版
10か月前
シヤチハタ株式会社
反転式印判
9か月前
三菱製紙株式会社
感熱記録材料
10か月前
独立行政法人 国立印刷局
印刷物
7か月前
三光株式会社
感熱記録材料
6か月前
キヤノン株式会社
記録装置
25日前
株式会社リコー
印刷システム
13日前
独立行政法人 国立印刷局
貼付機構
1か月前
日本製紙株式会社
感熱記録体
7か月前
株式会社リコー
液体吐出装置
7か月前
株式会社リコー
液体吐出装置
7か月前
株式会社リコー
液体吐出装置
4か月前
株式会社リコー
画像形成装置
9日前
株式会社リコー
画像形成装置
13日前
独立行政法人 国立印刷局
貼付装置
1か月前
株式会社リコー
液体吐出装置
5か月前
株式会社リコー
液体吐出装置
2か月前
株式会社リコー
液体吐出装置
4か月前
株式会社リコー
液体吐出装置
6か月前
株式会社リコー
液体吐出装置
8か月前
独立行政法人 国立印刷局
記録媒体
8か月前
株式会社リコー
画像形成装置
1か月前
ブラザー工業株式会社
プリンタ
2か月前
ブラザー工業株式会社
液体吐出ヘッド
25日前
キヤノン株式会社
画像形成装置
8か月前
キヤノン株式会社
画像形成装置
8か月前
理想科学工業株式会社
印刷装置
17日前
キヤノン株式会社
印刷システム
7か月前
キヤノン株式会社
印刷制御装置
10か月前
キヤノン株式会社
画像形成装置
8か月前
キヤノン株式会社
画像形成装置
6か月前
フジコピアン株式会社
中間転写シート
9か月前
独立行政法人 国立印刷局
潜像印刷物
1か月前
ブラザー工業株式会社
プリンタ
2か月前
続きを見る
他の特許を見る