TOP
|
特許
|
意匠
|
商標
特許ウォッチ
Twitter
他の特許を見る
公開番号
2025033037
公報種別
公開特許公報(A)
公開日
2025-03-13
出願番号
2023138505
出願日
2023-08-29
発明の名称
印刷物
出願人
独立行政法人 国立印刷局
代理人
主分類
B41M
3/14 20060101AFI20250306BHJP(印刷;線画機;タイプライター;スタンプ)
要約
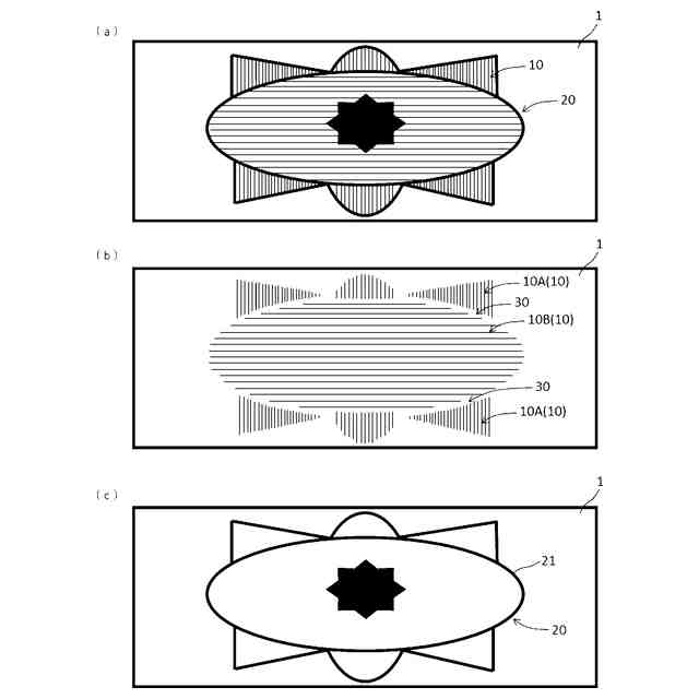
【課題】第1印刷方法による第1印刷模様と、第2印刷方法による第2印刷模様との刷り合わせがずれた場合であっても、刷り合わせのずれを感じさせない印刷物を提供する。
【解決手段】本発明の印刷物は、基材1の表面の少なくとも一部に、第1印刷方法による第1印刷模様10と、第2印刷方法による第2印刷模様20とが印刷され、第1印刷模様10として、第1印刷A模様10Aと第1印刷B模様10Bとが印刷され、第2印刷模様20として、第1印刷模様10に重ねて第2印刷画線21が印刷される印刷物であって、第1印刷A模様10Aと第1印刷B模様10Bとの境界になじみ境界部30を設け、第2印刷画線21が、なじみ境界部30に印刷されていることを特徴とする。
【選択図】 図2
特許請求の範囲
【請求項1】
基材の表面の少なくとも一部に、第1印刷方法による第1印刷模様と、第1印刷方法とは異なる印刷方法の第2印刷方法による第2印刷模様とが印刷され、
前記第1印刷模様として、模様濃度の異なる第1印刷A模様と第1印刷B模様とが印刷され、
前記第2印刷模様として、前記第1印刷模様に重ねて第2印刷画線が印刷される印刷物であって、
前記第1印刷A模様と前記第1印刷B模様との境界になじみ境界部を設け、
前記なじみ境界部が前記第1印刷A模様の第1印刷A模様濃度より模様濃度が薄く、前記第1印刷B模様の第1印刷B模様濃度より模様濃度が濃い中間模様濃度であり、
前記第2印刷画線が、前記なじみ境界部に印刷されている
ことを特徴とする印刷物。
続きを表示(約 320 文字)
【請求項2】
前記第1印刷A模様を形成する第1印刷A画線と、前記第1印刷B模様を形成する第1印刷B画線とを異なる画線幅とし、
前記なじみ境界部を形成する境界画線を、前記第1印刷A画線より狭く、前記第1印刷B画線より広い画線幅とした
ことを特徴とする請求項1に記載の印刷物。
【請求項3】
前記第1印刷A模様を形成する第1印刷A画線ピッチと、前記第1印刷B模様を形成する第1印刷B画線ピッチとを異なるピッチとし、
前記なじみ境界部を形成する境界画線ピッチを、前記第1印刷A画線ピッチより狭く、前記第1印刷B画線ピッチより広いピッチとした
ことを特徴とする請求項1に記載の印刷物。
発明の詳細な説明
【技術分野】
【0001】
本発明は、銀行券、株券、有価証券、通行券、パスポート、カード等の印刷物に関する。
続きを表示(約 1,200 文字)
【背景技術】
【0002】
銀行券、株券、有価証券、通行券、パスポート、カード等の印刷物では、偽造や改ざん防止策は重要である。
【0003】
偽造や改ざん防止策の一つとして、たとえばオフセット印刷と凹版印刷といった異なる印刷方式を用いて印刷物を印刷することで偽造や改ざんに対する抵抗力を向上させている。
【0004】
特許文献1及び特許文献2は、オフセット印刷と凹版印刷といった異なる印刷方式を用いて印刷する印刷物を開示している。
【先行技術文献】
【特許文献】
【0005】
特開2010-167726号公報
特開2014-136326号公報
【発明の概要】
【発明が解決しようとする課題】
【0006】
異なる印刷方式を用いて印刷する印刷物は、偽造抵抗力及び意匠性を向上させるために複雑な模様となっており、たとえばオフセット印刷で印刷される印刷図柄中に濃淡が存在し、濃淡の境界に凹版印刷の画線を配置することがある。
【0007】
しかし、このような構成の印刷物でオフセット印刷と凹版印刷の刷り合わせがずれた場合はオフセット印刷の濃淡の境界が顕著に視認され、違和感を覚える。
【0008】
本発明は、第1印刷方法による第1印刷模様と、第1印刷方法とは異なる印刷方法の第2印刷方法による第2印刷模様との刷り合わせがずれた場合であっても、刷り合わせのずれを感じさせない印刷物を提供することを目的とする。
【課題を解決するための手段】
【0009】
請求項1記載の本発明の印刷物は、基材1の表面の少なくとも一部に、第1印刷方法による第1印刷模様10と、第2印刷方法による第2印刷模様20とが印刷され、第1印刷模様10として、模様濃度の異なる第1印刷A模様10Aと第1印刷B模様10Bとが印刷され、第2印刷模様20として、第1印刷模様10に重ねて第2印刷画線21が印刷される印刷物であって、第1印刷A模様10Aと第1印刷B模様10Bとの境界になじみ境界部30を設け、なじみ境界部が第1印刷A模様の第1印刷A模様濃度より模様濃度が薄く、第1印刷B模様の第1印刷B模様濃度より模様濃度が濃い中間模様濃度であり、第2印刷画線21が、なじみ境界部30に印刷されていることを特徴とする。
【0010】
請求項2記載の本発明は、請求項1に記載の印刷物において、第1印刷A模様10Aを形成する第1印刷A画線11Aと、第1印刷B模様10Bを形成する第1印刷B画線11Bとを異なる画線幅とし、なじみ境界部30を形成する境界画線31を、第1印刷A画線11Aより狭く、第1印刷B画線11Bより広い画線幅としたことを特徴とする。
(【0011】以降は省略されています)
この特許をJ-PlatPat(特許庁公式サイト)で参照する
関連特許
独立行政法人 国立印刷局
潜像画像形成体
2日前
独立行政法人 国立印刷局
コーナーロール機構
2日前
独立行政法人 国立印刷局
ふるい分け残量算出方法
2日前
個人
箔熱転写装置
1か月前
シヤチハタ株式会社
印判
4か月前
東レ株式会社
凸版印刷版原版
10か月前
三菱製紙株式会社
感熱記録材料
10か月前
シヤチハタ株式会社
反転式印判
9か月前
独立行政法人 国立印刷局
印刷物
7か月前
三光株式会社
感熱記録材料
6か月前
キヤノン株式会社
記録装置
24日前
株式会社リコー
液体吐出装置
5か月前
独立行政法人 国立印刷局
貼付機構
1か月前
株式会社リコー
画像形成装置
1か月前
株式会社リコー
液体吐出装置
8か月前
株式会社リコー
液体吐出装置
7か月前
株式会社リコー
液体吐出装置
7か月前
株式会社リコー
画像形成装置
8日前
日本製紙株式会社
感熱記録体
7か月前
株式会社リコー
印刷システム
12日前
株式会社リコー
液体吐出装置
4か月前
独立行政法人 国立印刷局
記録媒体
8か月前
株式会社リコー
液体吐出装置
6か月前
フジコピアン株式会社
熱転写シート
11か月前
独立行政法人 国立印刷局
貼付装置
1か月前
株式会社リコー
液体吐出装置
4か月前
株式会社リコー
液体吐出装置
2か月前
株式会社リコー
画像形成装置
12日前
フジコピアン株式会社
中間転写シート
9か月前
ブラザー工業株式会社
プリンタ
8か月前
キヤノン株式会社
画像形成装置
3か月前
ブラザー工業株式会社
プリンタ
4か月前
ブラザー工業株式会社
プリンタ
1か月前
キヤノン株式会社
情報処理装置
9か月前
キヤノン株式会社
印刷システム
7か月前
ブラザー工業株式会社
プリンタ
8か月前
続きを見る
他の特許を見る