TOP
|
特許
|
意匠
|
商標
特許ウォッチ
Twitter
他の特許を見る
公開番号
2025146447
公報種別
公開特許公報(A)
公開日
2025-10-03
出願番号
2024047220
出願日
2024-03-22
発明の名称
鉄道車両の連結棒の折損検知方法
出願人
日本製鉄株式会社
代理人
アセンド弁理士法人
主分類
B61K
13/00 20060101AFI20250926BHJP(鉄道)
要約
【課題】連結棒の折損を高精度に検知することのできる、連結棒の折損検知方法を提供する。
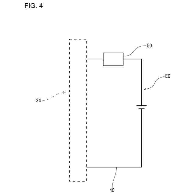
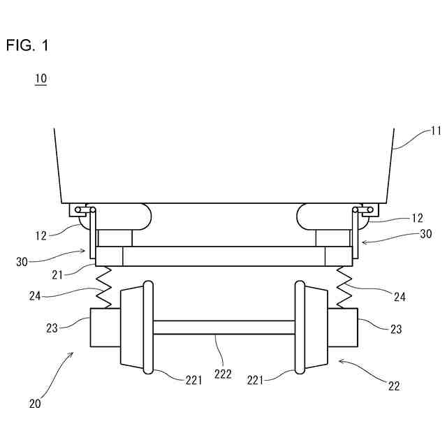
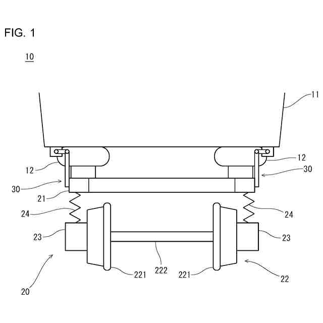
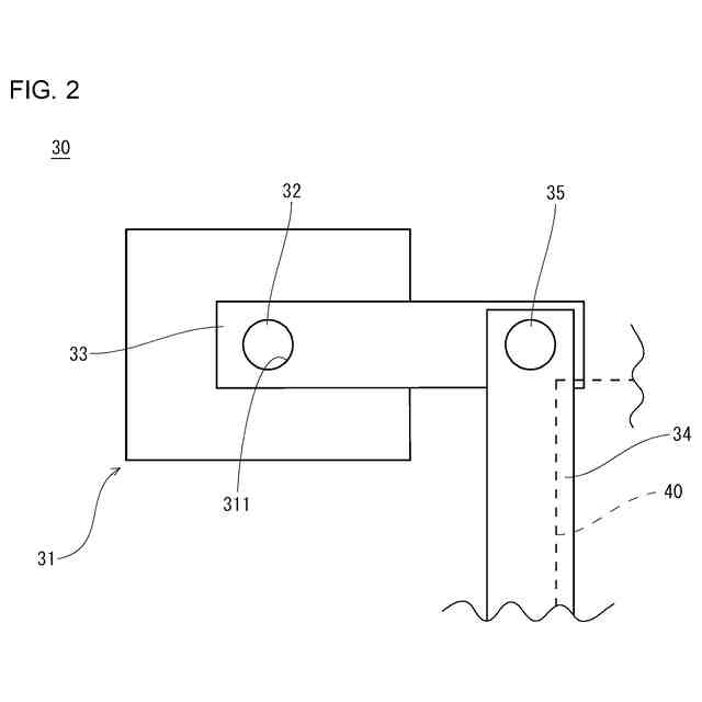
【解決手段】折損検知方法は、鉄道車両(10)の連結棒(34)の折損検知方法である。鉄道車両(10)は、台車(20)と、車体(11)と、空気ばね(12)と、高さ調整装置(30)と、配線(40)とを備える。高さ調整装置(30)は、高さ調整弁(31)と、回転軸(32)と、レバー(33)と、連結棒(34)とを含む。レバー(33)は、回転軸(32)の一端に回動可能に接続される。連結棒(34)は、レバー(33)と台車(20)とを接続する。配線(40)は、連結棒(34)に接続され、電気回路を形成する。折損検知方法は、検知工程と、判定工程と、を備える。検知工程では、配線(40)に電気信号が流れているか否かを検知する。判定工程では、配線(40)に電気信号が流れていない場合、連結棒(34)が折損していると判定する。
【選択図】図1
特許請求の範囲
【請求項1】
台車と、車体と、前記台車と前記車体との間に配置される空気ばねと、前記空気ばねに対応して配置される高さ調整装置であって、高さ調整弁と、回転軸と、前記回転軸の一端に前記台車と前記車体との上下方向の相対変位に応じて回動可能に接続されるレバーと、前記レバーと前記台車とを接続する連結棒と、を含む前記高さ調整装置と、前記連結棒に接続され、電気回路を形成する配線と、を備える鉄道車両の連結棒の折損検知方法であって、
前記配線に電気信号が流れているか否かを検知する検知工程と、
前記配線に電気信号が流れていない場合、前記連結棒が折損していると判定する判定工程と、を備える、折損検知方法。
続きを表示(約 310 文字)
【請求項2】
請求項1に記載の折損検知方法であって、
前記連結棒は、中空であり、
前記配線は、前記連結棒の内周面に接合される、折損検知方法。
【請求項3】
請求項1に記載の折損検知方法であって、
前記配線は、前記連結棒の外周面に接合される、折損検知方法。
【請求項4】
請求項1に記載の折損検知方法であって、
前記配線は、前記連結棒に電気的に接続される、折損検知方法。
【請求項5】
請求項1から4のいずれか1項に記載の折損検知方法であって、
前記配線は、前記連結棒の一方の端部及び他方の端部に接続される、折損検知方法。
発明の詳細な説明
【技術分野】
【0001】
本開示は、鉄道車両の連結棒の折損検知方法に関する。
続きを表示(約 1,700 文字)
【背景技術】
【0002】
鉄道車両は、台車と、台車上に支持された車体とを備える。通常、鉄道車両の台車には、車体を支持するとともに車体の振動を緩和するため、左右に空気ばねが設けられている。空気ばねは、車体と台車の間に配置されている。車体が傾斜すると、それに応じて空気ばねの高さが変化する。空気ばねの高さは、高さ調整装置によって一定となるように制御されている。
【0003】
高さ調整装置は、左右の空気ばねに対応して台車の左右に配置される。高さ調整装置は、高さ調整弁と、回転軸と、レバーと、連結棒とを含む。高さ調整弁は、典型的には車体に固定される。高さ調整弁には貫通孔が形成されており、回転軸は貫通孔に挿通される。レバーは、回転軸の一端に接続される。レバーは、台車と車体との上下方向の相対変位に応じて回動可能である。高さ調整弁は、レバーの回転角に応じて空気ばねに空気を供給し、又は空気ばね内から空気を排出する。連結棒は、例えば上下方向に延び、レバーの回転軸とは反対側の端部と台車とを接続する。
【0004】
ここで、例えば高さ調整装置を長期にわたって使用した場合、あるいは地震等によって鉄道車両が非常に大きく揺れた場合、高さ調整装置の連結棒が折損する恐れがある。連結棒が折損すると、レバーの回転角の調節ができなくなり、レバーが一方向に回転した状態が維持される。すると、空気ばね内の空気が排気され続け、空気ばねがパンク状態になる場合がある。パンク状態とは、空気ばね内の空気が空になり、空気ばねが最小高さを有する状態である。空気ばねがパンク状態になると、鉄道車両の走行が不安定になる。そのため、連結棒の折損を早期に検知することが求められる。
【0005】
連結棒の折損を検知する技術は、例えば特許文献1に記載されている。特許文献1によれば、連結棒が折損している場合、連結棒が正常な場合と比較して、レバーの回転角速度の変動が小さくなる。そこで、特許文献1では、以下の手順で連結棒の折損を検知する。鉄道車両の走行中に、レバーの回転角速度の情報を入手する。レバーの回転角速度を用いて表される指標と所定のしきい値とを比較する。この指標がしきい値未満である場合、連結棒が折損していると判定する。
【先行技術文献】
【特許文献】
【0006】
特許第7040322号公報
【発明の概要】
【発明が解決しようとする課題】
【0007】
特許文献1に記載の検知方法では、連結棒の折損を検知するためには、レバーの回転角速度を正確に測定する必要がある。しかしながら、回転角速度の測定において誤差が生じると、折損検知の精度が低下してしまうと考えられる。
【0008】
本開示の課題は、連結棒の折損を高精度に検知することのできる、連結棒の折損検知方法を提供することである。
【課題を解決するための手段】
【0009】
本開示に係る折損検知方法は、鉄道車両の連結棒の折損検知方法である。鉄道車両は、台車と、車体と、空気ばねと、高さ調整装置と、配線と、を備える。空気ばねは、台車と車体との間に配置される。高さ調整装置は、空気ばねに対応して配置される。高さ調整装置は、高さ調整弁と、回転軸と、レバーと、連結棒とを含む。レバーは、回転軸の一端に台車と車体との上下方向の相対変位に応じて回動可能に接続される。連結棒は、レバーと台車とを接続する。配線は、連結棒に接続される。配線は、電気回路を形成する。折損検知方法は、検知工程と、判定工程と、を備える。検知工程では、配線に電気信号が流れているか否かを検知する。判定工程では、配線に電気信号が流れていない場合、連結棒が折損していると判定する。
【発明の効果】
【0010】
本開示に係る連結棒の折損検知方法によれば、連結棒の折損を高精度に検知することができる。
【図面の簡単な説明】
(【0011】以降は省略されています)
この特許をJ-PlatPat(特許庁公式サイト)で参照する
関連特許
日本製鉄株式会社
ボルト
1か月前
日本製鉄株式会社
ボルト
10日前
日本製鉄株式会社
床構造
10日前
日本製鉄株式会社
鋼部品
1日前
日本製鉄株式会社
鋼部品
1日前
日本製鉄株式会社
床構造
10日前
日本製鉄株式会社
剪断機
10日前
日本製鉄株式会社
構造部材
20日前
日本製鉄株式会社
管理装置
1か月前
日本製鉄株式会社
耐火構造物
22日前
日本製鉄株式会社
耐火構造物
22日前
日本製鉄株式会社
鍛鋼ロール
今日
日本製鉄株式会社
鍛鋼ロール
今日
日本製鉄株式会社
リクレーマ
1か月前
日本製鉄株式会社
耐火構造物
22日前
日本製鉄株式会社
高Ni合金板
1か月前
日本製鉄株式会社
学習システム
2日前
日本製鉄株式会社
転炉精錬方法
20日前
日本製鉄株式会社
高炉の操業方法
28日前
日本製鉄株式会社
溶鉄の製造方法
1日前
日本製鉄株式会社
高炉の操業方法
1か月前
日本製鉄株式会社
高炉の操業方法
1日前
日本製鉄株式会社
高炉の冷却構造
1か月前
日本製鉄株式会社
溶鉄の製造方法
1か月前
日本製鉄株式会社
焼結鉱の製造方法
20日前
日本製鉄株式会社
合成梁及び床構造
20日前
日本製鉄株式会社
鋼矢板の製造方法
今日
日本製鉄株式会社
鋼の連続鋳造方法
6日前
日本製鉄株式会社
金属材の製造方法
1日前
日本製鉄株式会社
鋼の連続鋳造方法
今日
日本製鉄株式会社
合成梁及び床構造
20日前
日本製鉄株式会社
金属材の製造方法
6日前
日本製鉄株式会社
焼結鉱の製造方法
今日
日本製鉄株式会社
モールドパウダー
今日
日本製鉄株式会社
鉄道車両用の台車
2日前
日本製鉄株式会社
スラグの処理方法
今日
続きを見る
他の特許を見る