TOP
|
特許
|
意匠
|
商標
特許ウォッチ
Twitter
他の特許を見る
公開番号
2025149745
公報種別
公開特許公報(A)
公開日
2025-10-08
出願番号
2024050569
出願日
2024-03-26
発明の名称
金属材の製造方法
出願人
日本製鉄株式会社
代理人
アセンド弁理士法人
主分類
B23Q
11/10 20060101AFI20251001BHJP(工作機械;他に分類されない金属加工)
要約
【課題】除去加工工具の工具寿命を有意に向上できる、金属材の製造方法を提供する。
【解決手段】Fe、Ti、Ni、Alのいずれか1種を主成分として含有する金属素材を準備する工程(#5)と、ファインバブルを含有する加工液を準備する工程(#10)と、除去加工工具を金属素材に接触させる除去加工工程(#15)とを備える。除去加工工程は、加工液を供給しながら除去加工を実施する。除去加工により金属素材から除去された切り屑の色を示すb*の値が(a)~(d)のいずれかの状態である。
(a)Feの場合、b*の値が-37から+28の範囲内である、
(b)Tiの場合、b*の値が-35から+28の範囲内である、
(c)Niの場合、b*の値が-37から+28の範囲内である、及び
(d)Alの場合、b*の値が-33から+22の範囲内である。
【選択図】図2
特許請求の範囲
【請求項1】
金属材の製造方法であって、
Fe、Ti、Ni、及びAlのいずれか1種を主成分として含有する金属素材を準備する工程と、
ファインバブルを含有する加工液を準備する工程と
除去加工工具を前記金属素材に接触させて除去加工を実施し、金属材を製造する除去加工工程であって、前記加工液をノズルから噴射し、噴射した前記加工液を前記金属素材及び前記除去加工工具に供給しながら、前記除去加工を実施する前記除去加工工程と、を備え、
前記除去加工により前記金属素材から除去された切り屑の色を示すb*の値が(a)~(d)のいずれかの状態である、金属材の製造方法。
(a)前記金属素材の前記主成分がFeである場合、前記b*の値が-37から+28の範囲内である、
(b)前記金属素材の前記主成分がTiである場合、前記b*の値が-35から+28の範囲内である、
(c)前記金属素材の前記主成分がNiである場合、前記b*の値が-37から+28の範囲内である、及び
(d)前記金属素材の前記主成分がAlである場合、前記b*の値が-33から+22の範囲内である。
続きを表示(約 190 文字)
【請求項2】
請求項1に記載の金属材の製造方法であって、
前記加工液中の前記ファインバブルの平均直径が1.00μm未満である、金属材の製造方法。
【請求項3】
請求項1又は2に記載の金属材の製造方法であって、
前記ファインバブルの前記平均直径は、前記金属材のうち前記除去加工工具により形成される加工面の表面粗さRaよりも小さい、金属材の製造方法。
発明の詳細な説明
【技術分野】
【0001】
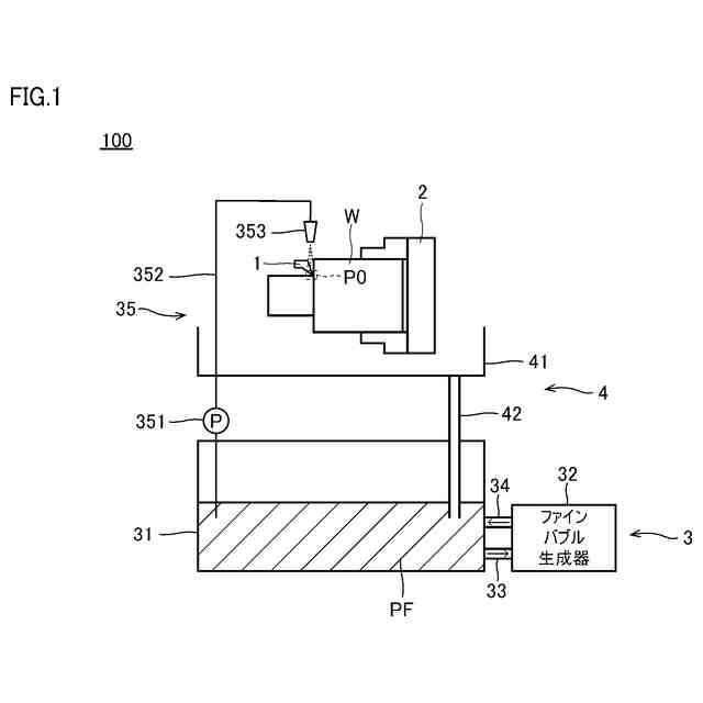
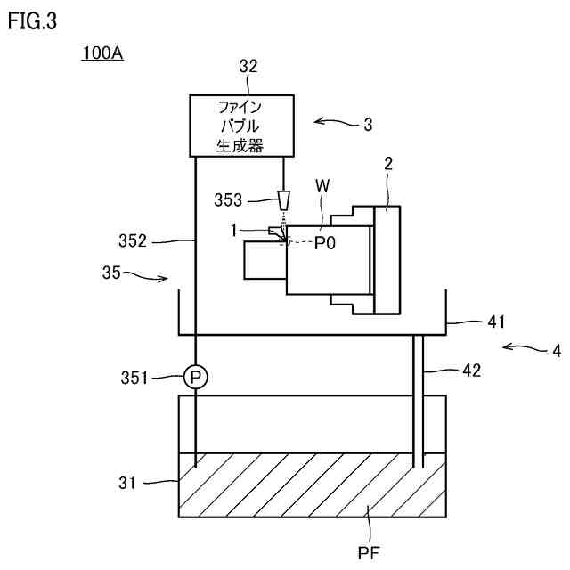
本開示は、金属材の製造方法に関し、さらに詳しくは、金属素材に対して除去加工を実施して金属材を製造する金属材の製造方法に関する。
続きを表示(約 1,400 文字)
【背景技術】
【0002】
金属素材に対して除去加工を実施して、中間部品又は最終部品等の金属材を製造する方法が知られている。除去加工には、大きく分けて、(1)切削加工、(2)研削加工、(3)研磨加工、が存在する。
【0003】
切削加工は、除去加工工具として切削工具を用い、切削工具の刃先を金属素材に押し当てて金属素材を切削する。切削加工は例えば、ねじ切り加工、フライス加工、旋削加工、ドリル加工(穴あけ加工)等である。研削加工は、除去加工工具として砥石を用い、高速回転させた砥石を金属素材に押し当てて金属素材を研削する。研削加工は例えば、平面研削、円筒研削、内面研削等である。研磨加工は、除去加工工具として砥石を用い、砥石を金属素材に接触させて金属部品を研磨し、金属部品の表面を平滑に仕上げる。研磨工程は例えば、砥石研磨、研磨布紙加工、ラッピング研磨、テープ研磨、バフ研磨、バレル研磨等である。
【0004】
これらの除去加工では、除去加工を実施しているときに、除去加工工具が金属素材と接触する。そのため、除去加工工具が摩耗したり、損耗したりする。したがって、除去加工において、除去加工工具の寿命向上が求められている。
【0005】
特開2007-331088号公報(特許文献1)には、機械加工装置が記載されている。この機械加工装置は、切削工具および被加工物にマイクロバブルを含む切削液を吹き付け、切削加工を行う。特許文献1では、これにより、工具の消耗を小さくできるとしている。
【先行技術文献】
【特許文献】
【0006】
特開2007-331088号公報
【発明の概要】
【発明が解決しようとする課題】
【0007】
しかしながら、特許文献1に記載された技術によって工具寿命が十分に向上するというわけではない。
【0008】
本開示の目的は、除去加工工具の工具寿命を有意に向上できる、金属材の製造方法を提供することである。
【課題を解決するための手段】
【0009】
本開示に係る金属材の製造方法は、Fe、Ti、Ni、及びAlのいずれか1種を主成分として含有する金属素材を準備する工程と、ファインバブルを含有する加工液を準備する工程と、除去加工工具を金属素材に接触させて除去加工を実施し、金属材を製造する除去加工工程と、を備える。除去加工工程は、加工液をノズルから噴射し、噴射した加工液を金属素材及び除去加工工具に供給しながら、除去加工を実施する。当該製造方法では、除去加工により金属素材から除去された切り屑の色を示すb*の値が(a)~(d)のいずれかの状態である。
(a)金属素材の主成分がFeである場合、b*の値が-37から+28の範囲内である、
(b)金属素材の主成分がTiである場合、b*の値が-35から+28の範囲内である、
(c)金属素材の主成分がNiである場合、b*の値が-37から+28の範囲内である、及び
(d)金属素材の主成分がAlである場合、b*の値が-33から+22の範囲内である。
【発明の効果】
【0010】
本開示に係る金属材の製造方法によれば、除去加工工具の工具寿命を有意に向上できる。
【図面の簡単な説明】
(【0011】以降は省略されています)
この特許をJ-PlatPat(特許庁公式サイト)で参照する
関連特許
日本製鉄株式会社
鋼材
1か月前
日本製鉄株式会社
鋼材
1か月前
日本製鉄株式会社
鋼材
1か月前
日本製鉄株式会社
鋼材
1か月前
日本製鉄株式会社
床構造
10日前
日本製鉄株式会社
床構造
10日前
日本製鉄株式会社
鋼部品
1日前
日本製鉄株式会社
鋼部品
1日前
日本製鉄株式会社
ボルト
10日前
日本製鉄株式会社
剪断機
10日前
日本製鉄株式会社
ボルト
1か月前
日本製鉄株式会社
構造部材
20日前
日本製鉄株式会社
管理装置
1か月前
日本製鉄株式会社
耐火構造物
22日前
日本製鉄株式会社
耐火構造物
22日前
日本製鉄株式会社
リクレーマ
1か月前
日本製鉄株式会社
耐火構造物
22日前
日本製鉄株式会社
学習システム
2日前
日本製鉄株式会社
転炉精錬方法
20日前
日本製鉄株式会社
鋼の製造方法
1か月前
日本製鉄株式会社
高炉操業方法
1か月前
日本製鉄株式会社
高Ni合金板
1か月前
日本製鉄株式会社
高炉の操業方法
1か月前
日本製鉄株式会社
高炉の操業方法
28日前
日本製鉄株式会社
ステンレス鋼板
1か月前
日本製鉄株式会社
溶鉄の製造方法
1か月前
日本製鉄株式会社
高炉の操業方法
1日前
日本製鉄株式会社
溶鉄の製造方法
1日前
日本製鉄株式会社
高炉の冷却構造
1か月前
日本製鉄株式会社
焼結鉱の製造方法
28日前
日本製鉄株式会社
スポット溶接継手
28日前
日本製鉄株式会社
焼結鉱の製造方法
20日前
日本製鉄株式会社
焼結鉱の製造方法
1か月前
日本製鉄株式会社
合成梁及び床構造
20日前
日本製鉄株式会社
合成梁及び床構造
20日前
日本製鉄株式会社
金属材の製造方法
1日前
続きを見る
他の特許を見る