TOP
|
特許
|
意匠
|
商標
特許ウォッチ
Twitter
他の特許を見る
公開番号
2025147931
公報種別
公開特許公報(A)
公開日
2025-10-07
出願番号
2024048447
出願日
2024-03-25
発明の名称
反応装置
出願人
大和ハウス工業株式会社
,
国立大学法人大阪大学
代理人
個人
,
個人
主分類
B01J
19/12 20060101AFI20250930BHJP(物理的または化学的方法または装置一般)
要約
【課題】効率的に生成物を生成することができる反応装置を提供する。
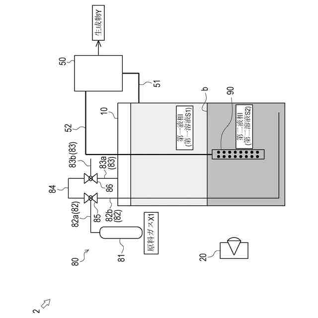
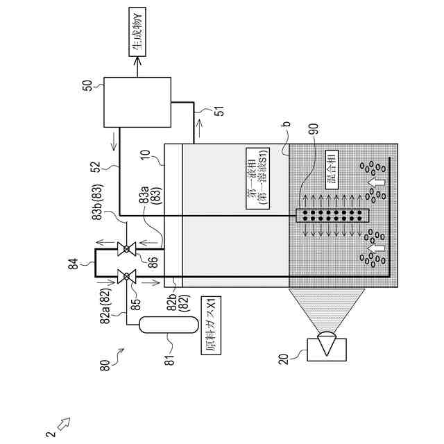
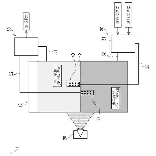
【解決手段】第一溶液S1及び第二溶液S2を含む溶液中で原料ガスX1を反応させて生成物Yを生成する反応装置1,2であって、第一溶液S1により構成される第一液相と、第二溶液S2によって構成される第二液相と、が内部で形成される反応容器10と、第一液相又は第二液相に原料ガスX1を供給する原料供給装置30,80と、反応容器10の内部に対して光を照射させて、原料ガスX1を反応させる照射装置20と、原料ガスX1の反応によって生成された生成物Yを第一液相又は第二液相から回収する生成物回収装置50と、第一液相又は第二液相のうち原料ガスX1が供給される側に、第一溶液S1又は第二溶液S2を放出する放出装置(第一放出装置40及び/又は第二放出装置60,90)と、を具備する。
【選択図】図1
特許請求の範囲
【請求項1】
第一溶液及び第二溶液を含む溶液中で原料ガスを反応させて生成物を生成する反応装置であって、
前記第一溶液により構成される第一液相と、前記第二溶液によって構成される第二液相と、が内部で形成される反応容器と、
前記第一液相又は前記第二液相に前記原料ガスを供給する原料供給装置と、
前記反応容器の内部に対して光を照射させて、前記原料ガスを反応させる照射装置と、
前記原料ガスの反応によって生成された前記生成物を前記第一液相又は前記第二液相から回収する生成物回収装置と、
前記第一液相又は前記第二液相のうち前記原料ガスが供給される側に、前記第一溶液又は前記第二溶液を放出する放出装置と、
を具備する、
反応装置。
続きを表示(約 690 文字)
【請求項2】
前記放出装置は、
前記第一液相と前記第二液相との界面の近傍において水平方向に前記第一溶液又は前記第二溶液を放出するように設けられる、
請求項1に記載の反応装置。
【請求項3】
前記放出装置は、
前記第一液相のうち前記第一液相と前記第二液相との界面の近傍に前記第二溶液を放出する第一放出装置を含む、
請求項1に記載の反応装置。
【請求項4】
前記原料供給装置は、
前記反応容器から回収した前記第二溶液に前記原料ガスを溶解させ、前記原料ガスが溶解した前記第二溶液を前記放出装置に供給するように形成される、
請求項3に記載の反応装置。
【請求項5】
前記放出装置は、
前記第二液相のうち前記第一液相と前記第二液相との界面の近傍に前記第一溶液を放出する第二放出装置を含む、
請求項1に記載の反応装置。
【請求項6】
前記生成物回収装置の動作を制御する制御部と、
前記反応容器内から回収した前記第一溶液又は前記第二溶液中の前記生成物の濃度を検知する検知部と、
を具備し、
前記制御部は、
前記生成物の濃度が所定の閾値を超える場合、前記反応容器内から回収した前記第一溶液又は前記第二溶液を前記生成物回収装置に供給し、
前記生成物の濃度が所定の前記閾値以下である場合、前記反応容器内から回収した前記第一溶液又は前記第二溶液を前記生成物回収装置を介さずに前記反応容器に戻す、
請求項1に記載の反応装置。
発明の詳細な説明
【技術分野】
【0001】
本発明は、反応物に対して化学反応を行わせる反応装置の技術に関する。
続きを表示(約 1,200 文字)
【背景技術】
【0002】
従来、反応物に対して化学反応を行わせる技術は公知となっている。例えば特許文献1には、2つの液相を用いた化学反応により生成物を生成する方法が知られている。
【0003】
上記特許文献1に記載の発明では、化学反応に使用される物質が水に溶解した水相と、原料が有機溶媒に溶解した有機相と、を反応容器に入れた状態で、各液相に対して光を照射することで、化学反応を行わせて生成物を生成する。このような2つの液相(水相及び有機相)を用いた生成物の生成方法においては、化学反応を促進するために、プロペラ等を備えた攪拌装置を用いて水相と有機相とを攪拌する場合がある。
【0004】
しかしながら、反応容器にプロペラを備えた攪拌装置を設ける場合、回転するプロペラが接触しないように反応容器を比較的大きくする必要がある。このため、反応容器の内部に光が届き難く、効率的に生成物を生成し難いという課題がある。
【先行技術文献】
【特許文献】
【0005】
特許第6080281号公報
【発明の概要】
【発明が解決しようとする課題】
【0006】
本発明は以上の如き状況に鑑みてなされたものであり、その解決しようとする課題は、効率的に生成物を生成することができる反応装置を提供することである。
【課題を解決するための手段】
【0007】
本発明の解決しようとする課題は以上の如くであり、次にこの課題を解決するための手段を説明する。
【0008】
即ち、請求項1においては、第一溶液及び第二溶液を含む溶液中で原料ガスを反応させて生成物を生成する反応装置であって、前記第一溶液により構成される第一液相と、前記第二溶液によって構成される第二液相と、が内部で形成される反応容器と、前記第一液相又は前記第二液相に前記原料ガスを供給する原料供給装置と、前記反応容器の内部に対して光を照射させて、前記原料ガスを反応させる照射装置と、前記原料ガスの反応によって生成された前記生成物を前記第一液相又は前記第二液相から回収する生成物回収装置と、前記第一液相又は前記第二液相のうち前記原料ガスが供給される側に、前記第一溶液又は前記第二溶液を放出する放出装置と、を具備するものである。
【0009】
請求項2においては、前記放出装置は、前記第一液相と前記第二液相との界面の近傍において水平方向に前記第一溶液又は前記第二溶液を放出するように設けられるものである。
【0010】
請求項3においては、前記放出装置は、前記第一液相のうち前記第一液相と前記第二液相との界面の近傍に前記第二溶液を放出する第一放出装置を含むものである。
(【0011】以降は省略されています)
この特許をJ-PlatPat(特許庁公式サイト)で参照する
関連特許
株式会社西部技研
除湿装置
3日前
ユニチカ株式会社
複合中空糸膜
17日前
東レ株式会社
中空糸膜モジュール
16日前
株式会社ニクニ
液体処理装置
1か月前
日本化薬株式会社
メタノール改質触媒
1か月前
株式会社MRT
微細バブル発生装置
20日前
個人
攪拌装置
20日前
東京理化器械株式会社
クリップ
24日前
株式会社笹山工業所
濁水処理システム
20日前
ヤマシンフィルタ株式会社
フィルタ装置
1か月前
ノリタケ株式会社
ガス吸収シート
1か月前
大和ハウス工業株式会社
反応装置
10日前
ヤマシンフィルタ株式会社
フィルタ装置
18日前
本田技研工業株式会社
ガス回収装置
12日前
大陽日酸株式会社
CO2の回収方法
12日前
杉山重工株式会社
回転円筒型反応装置
20日前
ノリタケ株式会社
触媒材料およびその利用
10日前
ノリタケ株式会社
触媒材料およびその利用
10日前
本田技研工業株式会社
二酸化炭素回収装置
10日前
本田技研工業株式会社
二酸化炭素回収装置
16日前
本田技研工業株式会社
二酸化炭素回収装置
18日前
ノリタケ株式会社
触媒材料およびその利用
10日前
本田技研工業株式会社
二酸化炭素回収装置
10日前
本田技研工業株式会社
二酸化炭素回収装置
12日前
本田技研工業株式会社
二酸化炭素回収装置
5日前
本田技研工業株式会社
分離システム
20日前
本田技研工業株式会社
二酸化炭素回収装置
18日前
本田技研工業株式会社
二酸化炭素回収装置
10日前
株式会社インパクト
消臭剤又は消臭紙の製造方法
23日前
本田技研工業株式会社
二酸化炭素回収装置
18日前
本田技研工業株式会社
二酸化炭素回収装置
10日前
東京応化工業株式会社
ろ過処理方法、及び多孔質膜
10日前
株式会社プロテリアル
触媒複合物および触媒前駆体複合物
11日前
Planet Savers株式会社
気体濃縮装置
12日前
セイコーエプソン株式会社
気体分離膜
20日前
日東電工株式会社
吸着材
16日前
続きを見る
他の特許を見る