TOP
|
特許
|
意匠
|
商標
特許ウォッチ
Twitter
他の特許を見る
公開番号
2025150675
公報種別
公開特許公報(A)
公開日
2025-10-09
出願番号
2024051688
出願日
2024-03-27
発明の名称
二酸化炭素回収装置
出願人
本田技研工業株式会社
代理人
個人
,
個人
主分類
B01D
53/047 20060101AFI20251002BHJP(物理的または化学的方法または装置一般)
要約
【課題】圧縮機による圧縮後の熱媒体に起因する吸着材の劣化を防ぎつつ、エネルギーロスの少ない二酸化炭素回収装置を提供すること。
【解決手段】二酸化炭素回収装置1は、吸着工程を実行する第1のリアクター11aに膨張弁71aで減圧された熱媒体を供給し、熱媒体と第1のリアクター11aの間で熱交換を行って吸着材12を冷却するとともに熱媒体を加熱し、圧縮機72で圧縮された熱媒体を熱交換器75によって冷却した上で脱離工程を実行する第2のリアクター11bの吸着材12を冷却する部分に供給し、熱媒体と第2のリアクター11bの間で熱交換を行って吸着材12を加熱するとともに熱媒体を冷却する。
【選択図】図2
特許請求の範囲
【請求項1】
吸着材を内部に有し、前記吸着材に対して二酸化炭素を含む気体を吸引して前記二酸化炭素を吸着させる吸着工程と、前記吸着材の周囲を減圧した状態で加熱することにより当該吸着材から前記二酸化炭素を脱離する脱離工程と、を実行する複数のリアクターと、
前記吸着工程を実行する前記リアクターに対して冷却のために供給される熱媒体を膨張して減圧する膨張弁と、
前記脱離工程を実行する前記リアクターに対して加熱のために供給される前記熱媒体を圧縮して加圧する圧縮機と、
前記圧縮機で圧縮された前記熱媒体を冷却する熱交換器と、
を備え、
前記吸着工程を実行する前記リアクターに前記膨張弁で減圧された前記熱媒体を供給し、前記熱媒体と前記リアクターの間で熱交換を行って前記吸着材を冷却するとともに前記熱媒体を加熱する、
前記圧縮機で圧縮された前記熱媒体を前記熱交換器によって冷却した上で前記脱離工程を実行する前記リアクターの前記吸着材を冷却する部分に供給し、前記熱媒体と前記リアクターの間で熱交換を行って前記吸着材を加熱するとともに前記熱媒体を冷却する、
二酸化炭素回収装置。
続きを表示(約 510 文字)
【請求項2】
前記熱交換器は、
前記圧縮機によって圧縮された後であり前記脱離工程を実行する前記リアクターを通過する前の前記熱媒体と、
前記脱離工程を実行する前記リアクターを通過した後の前記熱媒体と、
の間で熱交換を行う、
請求項1に記載の二酸化炭素回収装置。
【請求項3】
前記熱交換器は、
前記圧縮機によって圧縮された後であり前記脱離工程を実行する前記リアクターを通過する前の前記熱媒体と、
前記リアクターの内部の前記熱媒体の流路を通過中の前記熱媒体と、
の間で熱交換を行う、
請求項1に記載の二酸化炭素回収装置。
【請求項4】
前記リアクターの内部の前記熱媒体の前記流路は、
合計が奇数となる複数のパスが折り返して接続されることにより構成され、
前記熱交換器は、
複数の前記パスのうち、最終となる前記パスの1つ前の前記パスを通過した前記熱媒体と、
前記圧縮機によって圧縮された後の前記熱媒体と、
の間で熱交換を行う、
請求項3に記載の二酸化炭素回収装置。
発明の詳細な説明
【技術分野】
【0001】
本発明は、二酸化炭素回収装置に関する。
続きを表示(約 2,000 文字)
【背景技術】
【0002】
従来、吸着材を保持するリアクターに対し、二酸化炭素を含む空気等の気体を吸引して吸着材に吸着させることにより二酸化炭素の回収を行う二酸化炭素回収装置が知られている。この種の技術が記載されるものとして例えば特許文献1がある。特許文献1は、外部からの熱エネルギーの供給を必要とすることなく、CO
2
吸着材を昇温し、CO
2
吸着材に吸着したCO
2
の脱離を行う内燃機関のCO
2
分離装置に関するものである。
【先行技術文献】
【特許文献】
【0003】
特開2022-152077号公報
【発明の概要】
【発明が解決しようとする課題】
【0004】
二酸化炭素回収装置において、ヒートポンプによって加温又は冷却されたLLC等の熱媒体を利用して吸着材の加熱や冷却を行うことがある。LLCの加温や冷却は、ヒートポンプ内部を流れるフロンガス等の別の熱媒体を用いて行われるため、装置全体としては2種類の熱媒体を介して吸着材に熱エネルギーの供給を行っていることになる。
【0005】
2種類の熱媒体を用いた場合、熱交換で生じるロスもそれだけ多くなる。LLC等の熱媒体を利用せずにフロンガス等の熱媒体により直接的に吸着材の加熱や冷却を行うことが考えられる。しかしながら、ヒートポンプのフロンガス等の熱媒体は、圧縮によって過熱状態まで昇温されるため、そのままリアクターに供給すると必要以上に高温となり、吸着材の劣化を招くおそれがある。
【0006】
本発明は、圧縮機による圧縮後の熱媒体に起因する吸着材の劣化を防ぎつつ、エネルギーロスの少ない二酸化炭素回収装置を提供することを目的とする。
【課題を解決するための手段】
【0007】
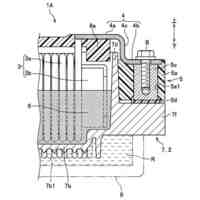
(1)本発明は、吸着材(例えば、後述する吸着材12)を内部に有し、前記吸着材に対して二酸化炭素を含む気体を吸引して前記二酸化炭素を吸着させる吸着工程と、前記吸着材の周囲を減圧した状態で加熱することにより当該吸着材から前記二酸化炭素を脱離する脱離工程と、を実行する複数のリアクター(例えば、後述する第1のリアクター11a及び第2のリアクター11b)と、前記吸着工程を実行する前記リアクターに対して冷却のために供給される熱媒体を膨張して減圧する膨張弁(例えば、後述する膨張弁71、第1の膨張弁71a及び第2の膨張弁71b)と、前記脱離工程を実行する前記リアクターに対して加熱のために供給される前記熱媒体を圧縮して加圧する圧縮機(例えば、後述する圧縮機72)と、前記圧縮機で圧縮された前記熱媒体を冷却する熱交換器(例えば、後述する熱交換器75及び熱交換器75a)と、を備え、前記吸着工程を実行する前記リアクターに前記膨張弁で減圧された前記熱媒体を供給し、前記熱媒体と前記リアクターの間で熱交換を行って前記吸着材を冷却するとともに前記熱媒体を加熱し、前記圧縮機で圧縮された前記熱媒体を前記熱交換器によって冷却した上で前記脱離工程を実行する前記リアクターの前記吸着材を冷却する部分に供給し、前記熱媒体と前記リアクターの間で熱交換を行って前記吸着材を加熱するとともに前記熱媒体を冷却する、二酸化炭素回収装置(例えば、後述する二酸化炭素回収装置1)である。
【0008】
(2)上記(1)に記載の二酸化炭素回収装置において、前記熱交換器は、前記圧縮機によって圧縮された後であり前記脱離工程を実行する前記リアクターを通過する前の前記熱媒体と、前記脱離工程を実行する前記リアクターを通過した後の前記熱媒体と、の間で熱交換を行ってもよい。
【0009】
(3)上記(1)に記載の二酸化炭素回収装置において、前記熱交換器(例えば、後述する熱交換器75a)は、前記圧縮機によって圧縮された後であり前記脱離工程を実行する前記リアクターを通過する前の前記熱媒体と、前記リアクターの内部の前記熱媒体の流路(例えば、後述する流路76)を通過中の前記熱媒体と、の間で熱交換を行ってもよい。
【0010】
(4)上記(3)に記載の二酸化炭素回収装置において、前記熱媒体の流路は、合計が奇数となる複数のパス(例えば、後述する第1パス81、第2パス82及び第3パス83)が折り返して接続されることにより構成され、前記熱交換器は、複数の前記パスのうち、最終となる前記パス(例えば、後述する第3パス83)の1つ前の前記パス(例えば、後述する第2パス82)を通過した前記熱媒体と、前記圧縮機によって圧縮された後の前記熱媒体と、の間で熱交換を行ってもよい。
【発明の効果】
(【0011】以降は省略されています)
この特許をJ-PlatPat(特許庁公式サイト)で参照する
関連特許
本田技研工業株式会社
車両
今日
本田技研工業株式会社
車両
1日前
本田技研工業株式会社
車両
1日前
本田技研工業株式会社
車両
今日
本田技研工業株式会社
飛行体
1日前
本田技研工業株式会社
移動体
2日前
本田技研工業株式会社
電気部品
1日前
本田技研工業株式会社
会話装置
7日前
本田技研工業株式会社
電気機器
2日前
本田技研工業株式会社
ステータ
7日前
本田技研工業株式会社
清掃装置
1日前
本田技研工業株式会社
排気装置
今日
本田技研工業株式会社
内燃機関
今日
本田技研工業株式会社
収容装置
1日前
本田技研工業株式会社
排気装置
今日
本田技研工業株式会社
制御装置
今日
本田技研工業株式会社
切断装置
7日前
本田技研工業株式会社
内燃機関
1日前
本田技研工業株式会社
固体電池
今日
本田技研工業株式会社
エンジン
1日前
本田技研工業株式会社
発電セル
今日
本田技研工業株式会社
電気機器
1日前
本田技研工業株式会社
固体電池
2日前
本田技研工業株式会社
排気装置
今日
本田技研工業株式会社
電気機器
1日前
本田技研工業株式会社
電気機器
2日前
本田技研工業株式会社
除草装置
今日
本田技研工業株式会社
鞍乗型車両
今日
本田技研工業株式会社
電極積層体
今日
本田技研工業株式会社
全固体電池
2日前
本田技研工業株式会社
樹脂成型品
1日前
本田技研工業株式会社
全固体電池
2日前
本田技研工業株式会社
鞍乗型車両
今日
本田技研工業株式会社
リアクトル
今日
本田技研工業株式会社
リンク機構
7日前
本田技研工業株式会社
鞍乗型車両
今日
続きを見る
他の特許を見る