TOP
|
特許
|
意匠
|
商標
特許ウォッチ
Twitter
他の特許を見る
公開番号
2025149843
公報種別
公開特許公報(A)
公開日
2025-10-08
出願番号
2024195985
出願日
2024-11-08
発明の名称
端末、無線通信方法及び基地局
出願人
株式会社NTTドコモ
代理人
インフォート弁理士法人
主分類
H04W
36/24 20090101AFI20251001BHJP(電気通信技術)
要約
【課題】CLTMがサポートされる場合にセルスイッチを適切に行うこと。
【解決手段】本開示の一態様に係る端末は、RACHレスのCLTMが適用される場合、実施条件を満たすターゲットセルを用いたサービングセルのスイッチを決定する制御部と、取得した前記ターゲットセルのTAを用いて、前記スイッチ後の最初の上りリンク(UL)信号を前記ターゲットセルに送信する送信部と、を有する。
【選択図】図3
特許請求の範囲
【請求項1】
Random Access Channel(RACH)レスのConditional L1L2-triggered mobility(CLTM)が適用される場合、実施条件を満たすターゲットセルを用いたサービングセルのスイッチを決定する制御部と、
取得した前記ターゲットセルのTiming Advance(TA)を用いて、前記スイッチ後の最初の上りリンク(UL)信号を前記ターゲットセルに送信する送信部と、
を有する端末。
続きを表示(約 780 文字)
【請求項2】
前記制御部は、取得したTAに対応する候補セルのみを前記ターゲットセルとして決定する
請求項1に記載の端末。
【請求項3】
前記ターゲットセルのTAを指示するRandom Access Response(RAR)を受信する受信部をさらに有する
請求項1に記載の端末。
【請求項4】
前記ターゲットセルのTAを指示するMedium Access Control Control Element(MAC CE)を受信する受信部をさらに有する
請求項1に記載の端末。
【請求項5】
Random Access Channel(RACH)レスのConditional L1L2-triggered mobility(CLTM)が適用される場合、実施条件を満たすターゲットセルを用いたサービングセルのスイッチを決定する工程と、
取得した前記ターゲットセルのTiming Advance(TA)を用いて、前記スイッチ後の最初の上りリンク(UL)信号を前記ターゲットセルに送信する工程と、
を有する端末の無線通信方法。
【請求項6】
Random Access Channel(RACH)レスのConditional L1L2-triggered mobility(CLTM)が適用される場合、実施条件を満たすターゲットセルを用いたサービングセルのスイッチが決定されることを想定する制御部と、
端末が取得した前記ターゲットセルのTiming Advance(TA)を用いて送信された、前記スイッチ後の最初の上りリンク(UL)信号を前記ターゲットセルにおいて受信する受信部と、
を有する基地局。
発明の詳細な説明
【技術分野】
【0001】
本開示は、次世代移動通信システムにおける端末、無線通信方法及び基地局に関する。
続きを表示(約 1,800 文字)
【背景技術】
【0002】
Universal Mobile Telecommunications System(UMTS)ネットワークにおいて、更なる高速データレート、低遅延などを目的としてLong Term Evolution(LTE)が仕様化された(非特許文献1)。また、LTE(Third Generation Partnership Project(3GPP(登録商標)) Release(Rel.)8、9)の更なる大容量、高度化などを目的として、LTE-Advanced(3GPP Rel.10-14)が仕様化された。
【0003】
LTEの後継システム(例えば、5th generation mobile communication system(5G)、5G+(plus)、6th generation mobile communication system(6G)、New Radio(NR)、3GPP Rel.15以降などともいう)も検討されている。
【先行技術文献】
【非特許文献】
【0004】
3GPP TS 36.300 V8.12.0 “Evolved Universal Terrestrial Radio Access (E-UTRA) and Evolved Universal Terrestrial Radio Access Network (E-UTRAN); Overall description; Stage 2 (Release 8)”、2010年4月
【発明の概要】
【発明が解決しようとする課題】
【0005】
将来の無線通信システムにおいて、条件付きのセルスイッチ(Conditional L1L2-triggered mobility(CLTM)とも呼ぶ)がサポートされることが想定される。例えば、ネットワークから設定された条件に基づいて、UEによりLTM手順がトリガされることが考えられる。
【0006】
しかしながら、CLTMがサポートされる場合の具体的な動作/手順についてどのように制御するかが明確となってない。これにより、適切なセルスイッチが実現できずに通信スループットが低下するおそれがある。
【0007】
そこで、本開示は、CLTMがサポートされる場合にセルスイッチを適切に行うことができる端末、無線通信方法及び基地局を提供することを目的の1つとする。
【課題を解決するための手段】
【0008】
本開示の一態様に係る端末は、Random Access Channel(RACH)レスのConditional L1L2-triggered mobility(CLTM)が適用される場合、実施条件を満たすターゲットセルを用いたサービングセルのスイッチを決定する制御部と、取得した前記ターゲットセルのTiming Advance(TA)を用いて、前記スイッチ後の最初の上りリンク(UL)信号を前記ターゲットセルに送信する送信部と、を有することを特徴とする。
【発明の効果】
【0009】
本開示の一態様によれば、CLTMがサポートされる場合にセルスイッチを適切に行うことができる。
【図面の簡単な説明】
【0010】
図1Aは、Rel.17におけるUEのモビリティの例を示す図である。図1Bは、Rel.18におけるUEのモビリティの例を示す図である。
図2は、Rel.18のLTMの手順の一例を示す図である。
図3は、本開示の概要を示すフローチャートである。
図4は、一実施形態に係る無線通信システムの概略構成の一例を示す図である。
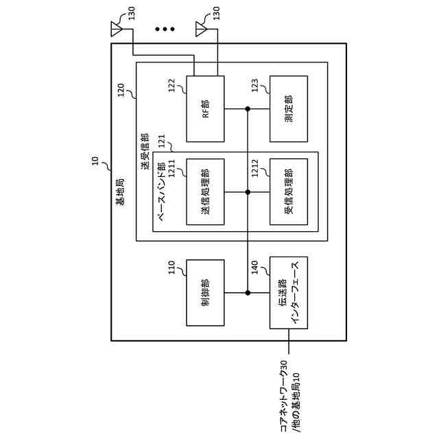
図5は、一実施形態に係る基地局の構成の一例を示す図である。
図6は、一実施形態に係るユーザ端末の構成の一例を示す図である。
図7は、一実施形態に係る基地局及びユーザ端末のハードウェア構成の一例を示す図である。
図8は、一実施形態に係る車両の一例を示す図である。
【発明を実施するための形態】
(【0011】以降は省略されています)
この特許をJ-PlatPat(特許庁公式サイト)で参照する
関連特許
株式会社NTTドコモ
端末
1日前
株式会社NTTドコモ
端末
1日前
株式会社NTTドコモ
端末
1日前
株式会社NTTドコモ
端末
2日前
株式会社NTTドコモ
端末
1日前
株式会社NTTドコモ
端末
2日前
株式会社NTTドコモ
端末
1日前
株式会社NTTドコモ
基地局
1日前
株式会社NTTドコモ
デバイス
1日前
株式会社NTTドコモ
デバイス
1日前
株式会社NTTドコモ
デバイス
1日前
株式会社NTTドコモ
基地局及び端末
1日前
株式会社NTTドコモ
端末及び基地局
1日前
株式会社NTTドコモ
端末及び基地局
1日前
株式会社NTTドコモ
基地局及び端末
1日前
株式会社NTTドコモ
端末及び基地局
1日前
株式会社NTTドコモ
端末及び通信方法
1日前
株式会社NTTドコモ
端末及び通信方法
1日前
株式会社NTTドコモ
端末及び通信方法
1日前
株式会社NTTドコモ
端末及び通信方法
1日前
株式会社NTTドコモ
端末及び通信方法
1日前
株式会社NTTドコモ
端末及び通信方法
1日前
株式会社NTTドコモ
端末及び通信方法
1日前
株式会社NTTドコモ
端末及び通信方法
1日前
株式会社NTTドコモ
端末及び通信方法
1日前
株式会社NTTドコモ
端末及び通信方法
1日前
株式会社NTTドコモ
端末及び通信方法
1日前
株式会社NTTドコモ
端末及び通信方法
1日前
株式会社NTTドコモ
端末及び通信方法
1日前
株式会社NTTドコモ
端末及び通信方法
1日前
株式会社NTTドコモ
端末及び通信方法
1日前
株式会社NTTドコモ
端末及び通信方法
1日前
株式会社NTTドコモ
端末及び通信方法
1日前
株式会社NTTドコモ
端末及び通信方法
1日前
株式会社NTTドコモ
端末及び通信方法
1日前
株式会社NTTドコモ
端末及び通信方法
1日前
続きを見る
他の特許を見る