TOP
|
特許
|
意匠
|
商標
特許ウォッチ
Twitter
他の特許を見る
10個以上の画像は省略されています。
公開番号
2025157090
公報種別
公開特許公報(A)
公開日
2025-10-15
出願番号
2024196224
出願日
2024-11-08
発明の名称
端末及び通信方法
出願人
株式会社NTTドコモ
代理人
弁理士法人ITOH
主分類
H04W
74/0833 20240101AFI20251007BHJP(電気通信技術)
要約
【課題】NTN(Non-Terrestrial Network)又はTN(Terrestrial Network)においてMsg4のPDSCH(Physical Downlink Shared Channel)繰り返しをサポートすること。
【解決手段】端末は、NTN(Non-Terrestrial Network)又はTN(Terrestrial Network)において、Msg4のPDSCH(Physical Downlink Shared Channel)繰り返しをサポートするか否かを示す能力を基地局に送信する送信部と、前記能力に基づいて前記基地局から送信される、Msg4のPDSCH繰り返しを受信する受信部とを有する。
【選択図】図6
特許請求の範囲
【請求項1】
NTN(Non-Terrestrial Network)又はTN(Terrestrial Network)において、Msg4のPDSCH(Physical Downlink Shared Channel)繰り返しをサポートするか否かを示す能力を基地局に送信する送信部と、
前記能力に基づいて前記基地局から送信される、Msg4のPDSCH繰り返しを受信する受信部とを有する端末。
続きを表示(約 960 文字)
【請求項2】
前記送信部は、Msg3のPUSCH(Physical Uplink Shared Channel)を介して前記能力を前記基地局に送信する請求項1記載の端末。
【請求項3】
前記送信部は、MAC(Medium Access Control)レイヤのLCID(Logical channel ID)コードポイントを介して前記能力を前記基地局に送信する請求項1記載の端末。
【請求項4】
NTN(Non-Terrestrial Network)又はTN(Terrestrial Network)において、基地局から送信される、Msg4のPDSCH繰り返しを受信する受信部と、
前記Msg4のPDSCH繰り返しに対応するフィードバックを前記基地局に送信する送信部とを有し、
前記送信部は、前記Msg4のPDSCH繰り返しに対応するフィードバックを送信するスロットを、Msg4のPDSCH繰り返しの先頭スロットにオフセットを適用して決定する端末。
【請求項5】
NTN(Non-Terrestrial Network)又はTN(Terrestrial Network)において、基地局から送信される、Msg4のPDSCH繰り返しを受信する受信部と、
前記Msg4のPDSCH繰り返しに対応するフィードバックを前記基地局に送信する送信部とを有し、
前記送信部は、前記Msg4のPDSCH繰り返しに対応するフィードバックを送信するスロットを、Msg4のPDSCH繰り返しをスケジューリングするDCI(Downlink Control Information)が送信されるスロットにオフセットを適用して決定する端末。
【請求項6】
NTN(Non-Terrestrial Network)又はTN(Terrestrial Network)において、Msg4のPDSCH(Physical Downlink Shared Channel)繰り返しをサポートするか否かを示す能力を基地局に送信する手順と、
前記能力に基づいて前記基地局から送信される、Msg4のPDSCH繰り返しを受信する手順とを端末が実行する通信方法。
発明の詳細な説明
【技術分野】
【0001】
本発明は、無線通信システムにおける端末及び通信方法に関する。
続きを表示(約 1,900 文字)
【背景技術】
【0002】
LTE(Long Term Evolution)の後継システムであるNR(New Radio)(「5G」ともいう。)においては、要求条件として、大容量のシステム、高速なデータ伝送速度、低遅延、多数の端末の同時接続、低コスト、省電力等を満たす技術が検討されている(例えば非特許文献1)。
【0003】
また現在、NTN(Non-Terrestrial Network)が検討されている。NTNとは、衛星等の非地上型ネットワークを使用して、地上型5Gネットワークでは主にコスト面でカバーできないエリアにサービスを提供するものである(例えば非特許文献2及び非特許文献3)。
【先行技術文献】
【非特許文献】
【0004】
3GPP TS 38.300 V18.0.0 (2023-12)
3GPP TR 38.821 V16.2.0 (2023-03)
小西 他,"HAPS移動通信システムにおける下りリンク周波数共用に関する一検討",電子情報通信学会総合大会,B-17-1,2020年
3GPP TS 38.211 V18.1.0 (2023-12)
3GPP TSG RAN Meeting #102, RP-234078, December 2023
3GPP TS 38.822 V17.1.0 (2023-06)
3GPP TS 38.331 V18.0.0 (2023-12)
3GPP TS 38.213 V18.1.0 (2023-12)
【発明の概要】
【発明が解決しようとする課題】
【0005】
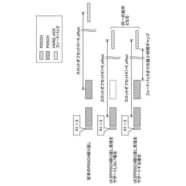
NTNでは、DLカバレッジの強化が検討されている。DLカバレッジを強化するための解決策にMsg4のPDSCH(Physical Downlink Shared Channel)繰り返し(repetition)が挙げられる。一方、Msg4のPDSCH繰り返しをサポートするUE能力は、明確に定義されていなかった。
【0006】
本発明は上記の点に鑑みてなされたものであり、NTN(Non-Terrestrial Network)又はTN(Terrestrial Network)においてMsg4のPDSCH(Physical Downlink Shared Channel)繰り返しをサポートすることを目的とする。
【課題を解決するための手段】
【0007】
開示の技術によれば、NTN(Non-Terrestrial Network)又はTN(Terrestrial Network)において、Msg4のPDSCH(Physical Downlink Shared Channel)繰り返しをサポートするか否かを示す能力を基地局に送信する送信部と、前記能力に基づいて前記基地局から送信される、Msg4のPDSCH繰り返しを受信する受信部とを有する端末が提供される。
【発明の効果】
【0008】
開示の技術によれば、NTN(Non-Terrestrial Network)又はTN(Terrestrial Network)においてMsg4のPDSCH(Physical Downlink Shared Channel)繰り返しをサポートすることができる。
【図面の簡単な説明】
【0009】
NTNの例(1)を示す図である。
NTNの例(2)を示す図である。
NTNの例(3)を示す図である。
NTNの例(4)を示す図である。
NTNの例(5)を示す図である。
本発明の実施の形態におけるPDSCH受信の例を説明するためのフローチャートである。
本発明の実施の形態におけるフィードバックの例を説明するための図である。
本発明の実施の形態における基地局10の機能構成の一例を示す図である。
本発明の実施の形態における端末20の機能構成の一例を示す図である。
本発明の実施の形態における基地局10又は端末20のハードウェア構成の一例を示す図である。
本発明の実施の形態における車両2001の構成の一例を示す図である。
【発明を実施するための形態】
【0010】
以下、図面を参照して本発明の実施の形態を説明する。なお、以下で説明する実施の形態は一例であり、本発明が適用される実施の形態は、以下の実施の形態に限られない。
(【0011】以降は省略されています)
この特許をJ-PlatPat(特許庁公式サイト)で参照する
関連特許
株式会社NTTドコモ
端末
2日前
株式会社NTTドコモ
端末
1日前
株式会社NTTドコモ
端末
1日前
株式会社NTTドコモ
端末
2日前
株式会社NTTドコモ
端末
2日前
株式会社NTTドコモ
端末
1日前
株式会社NTTドコモ
端末
1日前
株式会社NTTドコモ
端末
1日前
株式会社NTTドコモ
端末
2日前
株式会社NTTドコモ
基地局
1日前
株式会社NTTドコモ
デバイス
2日前
株式会社NTTドコモ
デバイス
1日前
株式会社NTTドコモ
デバイス
1日前
株式会社NTTドコモ
デバイス
2日前
株式会社NTTドコモ
デバイス
1日前
株式会社NTTドコモ
デバイス
2日前
株式会社NTTドコモ
デバイス
2日前
株式会社NTTドコモ
端末及び基地局
1日前
株式会社NTTドコモ
端末及び基地局
1日前
株式会社NTTドコモ
基地局及び端末
1日前
株式会社NTTドコモ
端末及び基地局
1日前
株式会社NTTドコモ
基地局及び端末
1日前
株式会社NTTドコモ
端末及び通信方法
1日前
株式会社NTTドコモ
端末及び通信方法
1日前
株式会社NTTドコモ
端末及び通信方法
1日前
株式会社NTTドコモ
端末及び通信方法
2日前
株式会社NTTドコモ
端末及び通信方法
2日前
株式会社NTTドコモ
端末及び通信方法
1日前
株式会社NTTドコモ
端末及び通信方法
2日前
株式会社NTTドコモ
端末及び通信方法
1日前
株式会社NTTドコモ
端末及び通信方法
2日前
株式会社NTTドコモ
端末及び通信方法
2日前
株式会社NTTドコモ
端末及び通信方法
1日前
株式会社NTTドコモ
端末及び通信方法
2日前
株式会社NTTドコモ
端末及び通信方法
2日前
株式会社NTTドコモ
端末及び通信方法
2日前
続きを見る
他の特許を見る