TOP
|
特許
|
意匠
|
商標
特許ウォッチ
Twitter
他の特許を見る
公開番号
2025150129
公報種別
公開特許公報(A)
公開日
2025-10-09
出願番号
2024050849
出願日
2024-03-27
発明の名称
フラットパネル製造システム及びそれに用いられるロボット制御装置
出願人
株式会社ダイヘン
代理人
個人
,
個人
,
個人
,
個人
,
個人
主分類
H01L
21/677 20060101AFI20251002BHJP(基本的電気素子)
要約
【課題】搬送ロボットがチャンバに向かって進入する進入角度を適切に把握することができるフラットパネル製造システム及びそれに用いられるロボット制御装置を提供することである。
【解決手段】フラットパネル製造システム1は、ロボット制御手段110によって搬送ロボット20の保持部22を動作させて第1チャンバTCから第2チャンバPCに向かって進入させながら、センサ装置30によって当該第2チャンバPC内部の目印をセンシングするセンシング手段120と、センシング手段120によってセンシングされることにより検知された少なくとも2つの目印の位置を算出する目印位置算出手段130と、少なくとも2つの目印の位置に基づいて、搬送ロボット20が第2チャンバPCに進入する進入角度を算出する進入角度算出手段140と、を備える。
【選択図】図6
特許請求の範囲
【請求項1】
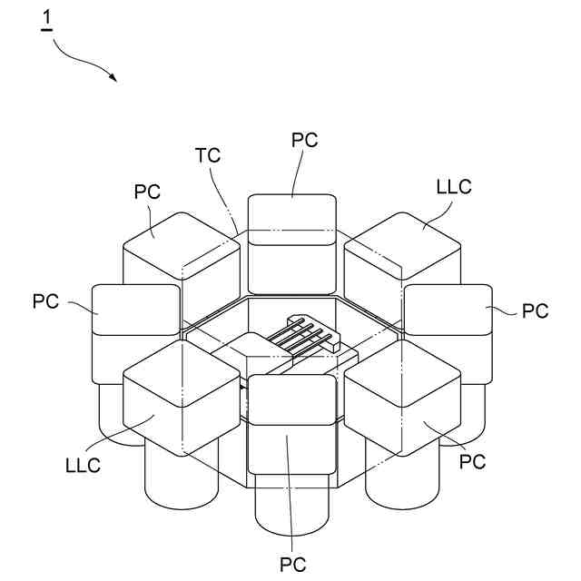
ワークを搬送する搬送ロボットと、当該搬送ロボットが配置されている第1チャンバと、当該第1チャンバの開口部に対向するように当該第1チャンバに隣接して配置される第2チャンバとを備え、フラットパネルを製造するフラットパネル製造システムであって、
前記ワークを保持する前記搬送ロボットの保持部の先端部に配置されるセンサ装置と、
前記搬送ロボットの動作を制御するロボット制御手段と、
前記ロボット制御手段によって前記搬送ロボットの保持部を動作させて前記第1チャンバから前記第2チャンバに向かって進入させながら、前記センサ装置によって当該第2チャンバ内部の目印をセンシングするセンシング手段と、
前記センシング手段によってセンシングされることにより検知された少なくとも2つの目印の位置を算出する目印位置算出手段と、
前記少なくとも2つの目印の位置に基づいて、前記搬送ロボットが前記第2チャンバに進入する進入角度を算出する進入角度算出手段と、を備える、
フラットパネル製造システム。
続きを表示(約 1,000 文字)
【請求項2】
前記搬送ロボットの保持部の先端部において、前記搬送ロボットの保持部の進行方向であって、かつ前記第2チャンバ内部の下側方向をセンシング可能に取り付けられる取付機構を用いて前記センサ装置が配置される、
請求項1に記載のフラットパネル製造システム。
【請求項3】
前記少なくとも2つの目印は、前記ワークを載置する載置台の一部として前記第2チャンバ内部に設けられた部材である、
請求項1に記載のフラットパネル製造システム。
【請求項4】
前記少なくとも2つの目印は、前記第2チャンバの開口部に対して平行又は直交する位置に設けられている、
請求項3に記載のフラットパネル製造システム。
【請求項5】
前記センサ装置は、前記搬送ロボットの保持部の進行方向であって、かつ前記第2チャンバ内部の下側方向を、当該進行方向に直交する方向に所定範囲だけセンシング可能な2次元センサを含む、
請求項1に記載のフラットパネル製造システム。
【請求項6】
前記進入角度算出手段によって算出された進入角度に基づいて、前記第2チャンバ内において前記搬送ロボットが到達する目標位置を推定する目標位置推定手段を、さらに備える、
請求項1に記載のフラットパネル製造システム。
【請求項7】
フラットパネルを製造するフラットパネル製造システムに用いられる搬送ロボットの動作を制御するロボット制御装置であって、
前記搬送ロボットの動作を制御するロボット制御手段と、
前記ロボット制御手段によって前記搬送ロボットの保持部を動作させて前記搬送ロボットが配置されている第1チャンバから当該第1チャンバの開口部に対向するように当該第1チャンバに隣接して配置される第2チャンバに向かって進入させながら、前記搬送ロボットの保持部の先端部に配置されるセンサ装置によって当該第2チャンバ内部の目印をセンシングするセンシング手段と、
前記センシング手段によってセンシングされることにより検知された少なくとも2つの目印の位置を算出する目印位置算出手段と、
前記少なくとも2つの目印の位置に基づいて、前記搬送ロボットが前記第2チャンバに進入する進入角度を算出する進入角度算出手段と、を備える、
ロボット制御装置。
発明の詳細な説明
【技術分野】
【0001】
本発明は、フラットパネル製造システム及びそれに用いられるロボット制御装置に関する。
続きを表示(約 1,800 文字)
【背景技術】
【0002】
近年、産業界において、多くの産業用ロボットが普及している。例えば、液晶ディスプレイや有機ELディスプレイなどのフラットパネルディスプレイ(FPD:Flat Panel Display)を含む大型のフラットパネル用のガラス基板に対して処理を行うための大型の製造システムがある。
【0003】
このような大型の製造システムでは、ガラス基板などのワークに対して種々の処理を行うために、各処理に対応するプロセスチャンバが複数配置されている。さらに、搬送ロボット(搬送装置)がトランスファチャンバに配置されており、当該搬送ロボット(搬送装置)によって、各プロセスチャンバにおける所望の位置へワークが搬送される。
【0004】
特許文献1では、搬送装置は、支持ピックの先端に光学センサを備えて、搬送室において当該支持ピックを上方移動させながら先端方向に光を照射することによって、搬送室とロードロック室との間の開口部の上端位置を特定している。また、ロードロック室において、支持ピックを上方移動/回転移動させながら先端方向/下方向に光を照射することによって、バッファ(溝)の上端位置/側壁位置を特定している。そして、特定された開口部の上端位置やバッファ(溝)の上端位置/側壁位置に基づいて、搬送装置の動作が補正される。このように、特許文献1では、搬送装置の動作位置に関する調整を自動的に行っている。
【先行技術文献】
【特許文献】
【0005】
特開2019-220588号公報
【発明の概要】
【発明が解決しようとする課題】
【0006】
しかしながら、そもそもトランスファチャンバとプロセスチャンバとが真っ直ぐに高精度に設置されていない可能性がある。例えば、プロセスチャンバがトランスファチャンバに対して傾いて設置されていた場合、トランスファチャンバに配置されている搬送装置がプロセスチャンバに向かって進入したとしても、当該プロセスチャンバ内部を傾いて進行することになる。
【0007】
そこで、本発明は、搬送ロボットがチャンバに向かって進入する進入角度を適切に把握することができるフラットパネル製造システム及びそれに用いられるロボット制御装置を提供することを目的とする。
【課題を解決するための手段】
【0008】
本発明の一態様に係るフラットパネル製造システムは、ワークを搬送する搬送ロボットと、当該搬送ロボットが配置されている第1チャンバと、当該第1チャンバの開口部に対向するように当該第1チャンバに隣接して配置される第2チャンバとを備え、フラットパネルを製造するフラットパネル製造システムであって、ワークを保持する搬送ロボットの保持部の先端部に配置されるセンサ装置と、搬送ロボットの動作を制御するロボット制御手段と、ロボット制御手段によって搬送ロボットの保持部を動作させて第1チャンバから第2チャンバに向かって進入させながら、センサ装置によって当該第2チャンバ内部の目印をセンシングするセンシング手段と、センシング手段によってセンシングされることにより検知された少なくとも2つの目印の位置を算出する目印位置算出手段と、少なくとも2つの目印の位置に基づいて、搬送ロボットが第2チャンバに進入する進入角度を算出する進入角度算出手段と、を備える。
【0009】
この態様によれば、センサ装置は、搬送ロボットの保持部の先端部に配置され、センシング手段は、搬送ロボットの保持部を動作させて第1チャンバから第2チャンバに向かって進入させながら、センサ装置によって当該第2チャンバ内部の目印をセンシングする。そして、進入角度算出手段は、目印位置算出手段によって算出された少なくとも2つの目印の位置に基づいて進入角度を算出する。これにより、ワークを保持する保持部が第2チャンバに向かって進入する進入角度を適切に把握することができる。
【0010】
上記態様において、搬送ロボットの保持部の先端部において、搬送ロボットの保持部の進行方向であって、かつ第2チャンバ内部の下側方向をセンシング可能に取り付けられる取付機構を用いてセンサ装置が配置されてもよい。
(【0011】以降は省略されています)
この特許をJ-PlatPat(特許庁公式サイト)で参照する
関連特許
株式会社ダイヘン
充電装置
1日前
株式会社ダイヘン
制御装置
1日前
株式会社ダイヘン
充電装置
1日前
株式会社ダイヘン
搬送装置
1日前
株式会社ダイヘン
充電装置
1日前
株式会社ダイヘン
充電装置
1日前
株式会社ダイヘン
固相接合装置
1か月前
株式会社ダイヘン
溶接電源装置
1日前
株式会社ダイヘン
固相接合装置
1か月前
株式会社ダイヘン
電力管理装置
1か月前
株式会社ダイヘン
固相接合装置
1か月前
株式会社ダイヘン
電力システム
4日前
株式会社ダイヘン
電力変換装置
4日前
株式会社ダイヘン
回生ユニット
2日前
株式会社ダイヘン
固相接合装置
1か月前
株式会社ダイヘン
インバータ装置
1日前
株式会社ダイヘン
絶縁紙巻回装置
9日前
株式会社ダイヘン
パルス電源装置
1日前
株式会社ダイヘン
プラズマ発生器
12日前
株式会社ダイヘン
変圧器組立装置
1日前
株式会社ダイヘン
パワーモジュール
1日前
株式会社ダイヘン
ロボットシステム
12日前
株式会社ダイヘン
ロボットシステム
9日前
株式会社ダイヘン
パワーモジュール
1日前
株式会社ダイヘン
パワーモジュール
1日前
株式会社ダイヘン
直流パルス電源装置
2日前
株式会社ダイヘン
アーク溶接システム
1日前
株式会社ダイヘン
制御装置及び研削システム
1日前
株式会社ダイヘン
交流パルスアーク溶接制御方法
1か月前
株式会社ダイヘン
サブマージアーク溶接システム
1日前
株式会社ダイヘン
サブマージアーク溶接システム
1か月前
株式会社ダイヘン
サブマージアーク溶接システム
1日前
株式会社ダイヘン
通信システム、および、通信方法
2日前
株式会社ダイヘン
変圧器組立方法及び変圧器組立装置
1日前
株式会社ダイヘン
絶縁紙巻回装置及び絶縁紙巻回方法
9日前
株式会社ダイヘン
固相接合装置および固相接合装置の制御方法
1か月前
続きを見る
他の特許を見る