TOP
|
特許
|
意匠
|
商標
特許ウォッチ
Twitter
他の特許を見る
公開番号
2025150218
公報種別
公開特許公報(A)
公開日
2025-10-09
出願番号
2024050995
出願日
2024-03-27
発明の名称
直流パルス電源装置
出願人
株式会社ダイヘン
代理人
弁理士法人航栄事務所
主分類
H02M
7/48 20070101AFI20251002BHJP(電力の発電,変換,配電)
要約
【課題】パルス変換部に供給される直流電圧を変動させることなく、パルス変換部により生成される直流パルスの供給対象である負荷の負荷電圧を目標電圧とすることが可能な直流パルス電源装置を提供する。
【解決手段】直流パルス電源装置1は、パルス変換部130と、可変抵抗140と、可変抵抗制御部150とを備える。パルス変換部130は、直流電圧を直流パルスに変換し、当該直流パルスを負荷(例えば容量性負荷C)へ出力する。可変抵抗140は、電気抵抗値を可変に構成され、一端がパルス変換部130へ接続されるとともに他端が負荷へ接続される。可変抵抗制御部150は、可変抵抗140の電気抵抗値を制御可能に構成され、パルス変換部130により生成された直流パルスが供給された場合の負荷の電圧である負荷電圧が目標電圧となるように可変抵抗140の電気抵抗値を制御する。
【選択図】図1
特許請求の範囲
【請求項1】
直流電圧を直流パルスに変換し、当該直流パルスを負荷へ出力するパルス変換部と、
電気抵抗値を可変に構成され、一端が前記パルス変換部へ接続されるとともに他端が前記負荷へ接続された可変抵抗と、
前記可変抵抗の電気抵抗値を制御可能に構成された可変抵抗制御部と、
を備え、
前記可変抵抗制御部は、前記直流パルスが供給された場合の前記負荷の電圧である負荷電圧が目標電圧となるように前記可変抵抗の電気抵抗値を制御する、
直流パルス電源装置。
続きを表示(約 1,200 文字)
【請求項2】
請求項1に記載の直流パルス電源装置であって、
前記可変抵抗制御部は、前記負荷電圧が前記直流パルスの電圧値と等しい前記目標電圧となるように前記可変抵抗の電気抵抗値を制御する、
直流パルス電源装置。
【請求項3】
請求項1に記載の直流パルス電源装置であって、
前記可変抵抗は、
互いに電気抵抗値が異なり、且つ前記パルス変換部及び前記負荷に対して並列に設けられた複数の抵抗と、
前記可変抵抗制御部による制御に従って前記複数の抵抗の導通状態を切り替える切替器と、を含んで構成される、
直流パルス電源装置。
【請求項4】
請求項1に記載の直流パルス電源装置であって、
前記可変抵抗は、
それぞれがNMOSトランジスタであり、且つ、互いのソース端子同士が接続された第1FET及び第2FETと、
前記可変抵抗制御部からの指示に従って前記第1FET及び前記第2FETのそれぞれのゲート電圧を制御するゲート電圧制御部と、
を備え、
前記第1FETのドレイン端子は、前記パルス変換部へ接続され、
前記第2FETのドレイン端子は、前記負荷へ接続される、
直流パルス電源装置。
【請求項5】
請求項1に記載の直流パルス電源装置であって、
前記可変抵抗は、
直列に設けられた第1ダイオード及び第2ダイオードと、
直列に設けられた第3ダイオード及び第4ダイオードと、
NMOSトランジスタであるFETと、
前記可変抵抗制御部からの指示に従って前記FETのゲート電圧を制御するゲート電圧制御部と、
を含んで構成され、
前記第1ダイオードのアノード端子と前記第2ダイオードのカソード端子とは互いに接続されるとともに、前記第1ダイオードのアノード端子と前記第2ダイオードのカソード端子との接続点は前記パルス変換部へ接続され、
前記第3ダイオードのアノード端子と前記第4ダイオードのカソード端子とは互いに接続されるとともに、前記第3ダイオードのアノード端子と前記第4ダイオードのカソード端子との接続点は前記負荷へ接続され、
前記第1ダイオードと前記第3ダイオードとは互いのカソード端子同士が接続され、
前記第2ダイオードと前記第4ダイオードとは互いのアノード端子同士が接続され、
前記FETのドレイン端子は、前記第1ダイオード及び前記第3ダイオードのカソード端子へ接続され、
前記FETのソース端子は、前記第2ダイオード及び前記第4ダイオードのアノード端子へ接続される、
直流パルス電源装置。
【請求項6】
請求項1から5のいずれか1項に記載の直流パルス電源装置であって、
カソード端子が接地され、且つ、アノード端子が前記可変抵抗と前記負荷との間へ接続されたダイオードをさらに備える、
直流パルス電源装置。
発明の詳細な説明
【技術分野】
【0001】
本発明は、直流パルス電源装置に関する。
続きを表示(約 1,800 文字)
【背景技術】
【0002】
従来から、直流電圧に対して所定のタイミングでON/OFF制御を行うことにより、一方向にのみ振幅が変化するパルス電圧を生成する直流パルス電源装置があった。このような直流パルス電源装置は、例えば、半導体デバイスを製造する際のエッチング等に利用されるプラズマ処理装置に用いられ、プラズマ処理装置のチャンバ内に対向配置されたカソード電極と対向電極との間に生起される、いわゆる『セルフバイアス電圧』を均一化するための補正に供される。
【0003】
下記特許文献1には、直流電源と、直流電源によって生成された直流電圧をさらに異なる電圧値の直流電圧に変換するDC/DC変換部と、DC/DC変換部から出力された直流電圧を直流パルスに変換し当該直流パルスをプラズマ処理装置の負荷(例えば、容量性負荷)に対して出力するパルス変換部と、を備える直流パルス電源装置が開示されている。
【先行技術文献】
【特許文献】
【0004】
特開2022-049214号公報
【発明の概要】
【発明が解決しようとする課題】
【0005】
例えば、プラズマ処理装置のチャンバの容量、言い換えると、カソード電極と対向電極とにより形成されるコンデンサの容量は、チャンバ内のプラズマの状態によって変化し得る。例えば、このコンデンサの容量は、カソード電極に供給される高周波電力、チャンバ内に充填されたガスの種類、チャンバ内のガス圧力等によって変化する。前述したセルフバイアス電圧を適切に補正するためには、チャンバの容量が変化しても、カソード電極と対向電極との間の電圧が所望値となるように制御することが望まれる。
【0006】
カソード電極と対向電極との間の電圧が所望値となるように制御する方法の1つとして、例えば、上記特許文献1に記載されたDC/DC変換部からパルス変換部に供給される直流電圧の電圧値をカソード電極と対向電極との間の電圧に応じて変動させるといった方法が考えられる。しかしながら、このような方法を採用した場合には、DC/DC変換部の動作が煩雑となってDC/DC変換部の負担が増加したり、パルス変換部のスイッチング損失が増加したりするおそれがある。
【0007】
本発明は、パルス変換部に供給される直流電圧を変動させることなく、パルス変換部により生成される直流パルスの供給対象である負荷の負荷電圧を目標電圧とすることが可能な直流パルス電源装置を提供する。
【課題を解決するための手段】
【0008】
本発明は、
直流電圧を直流パルスに変換し、当該直流パルスを負荷へ出力するパルス変換部と、
電気抵抗値を可変に構成され、一端が前記パルス変換部へ接続されるとともに他端が前記負荷へ接続された可変抵抗と、
前記可変抵抗の電気抵抗値を制御可能に構成された可変抵抗制御部と、
を備え、
前記可変抵抗制御部は、前記直流パルスが供給された場合の前記負荷の電圧である負荷電圧が目標電圧となるように前記可変抵抗の電気抵抗値を制御する、
直流パルス電源装置である。
【発明の効果】
【0009】
本発明によれば、パルス変換部に供給される直流電圧を変動させることなく、パルス変換部により生成される直流パルスの供給対象である負荷の負荷電圧を目標電圧とすることが可能な直流パルス電源装置を提供することができる。
【図面の簡単な説明】
【0010】
図1は、本発明の一実施形態である直流パルス電源装置100の構成の一例を示す図である。
図2は、可変抵抗140の構成の第1例を示す図である。
図3は、可変抵抗140の構成の第2例を示す図である。
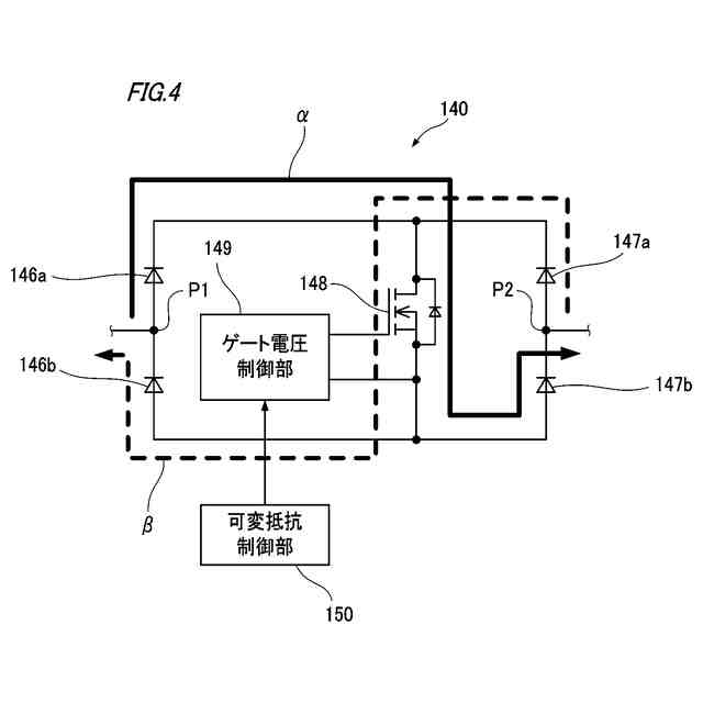
図4は、可変抵抗140の構成の第3例を示す図である。
図5は、直流パルス電源装置100による効果の一例を示す図である。
図6は、直流パルス電源装置100の変形例の構成を示す図である。
図7は、変形例の直流パルス電源装置100による効果の一例を示す図である。
【発明を実施するための形態】
(【0011】以降は省略されています)
この特許をJ-PlatPat(特許庁公式サイト)で参照する
関連特許
株式会社ダイヘン
移動装置
1か月前
株式会社ダイヘン
充電装置
1日前
株式会社ダイヘン
充電装置
1日前
株式会社ダイヘン
搬送装置
1日前
株式会社ダイヘン
充電装置
1日前
株式会社ダイヘン
制御装置
1日前
株式会社ダイヘン
充電装置
1日前
株式会社ダイヘン
電力変換装置
4日前
株式会社ダイヘン
回生ユニット
2日前
株式会社ダイヘン
電力変換装置
1か月前
株式会社ダイヘン
溶接電源装置
1日前
株式会社ダイヘン
固相接合装置
1か月前
株式会社ダイヘン
固相接合装置
1か月前
株式会社ダイヘン
固相接合装置
1か月前
株式会社ダイヘン
固相接合装置
1か月前
株式会社ダイヘン
電力管理装置
1か月前
株式会社ダイヘン
電力システム
4日前
株式会社ダイヘン
プラズマ発生器
12日前
株式会社ダイヘン
絶縁紙巻回装置
9日前
株式会社ダイヘン
変換装置集積体
1か月前
株式会社ダイヘン
インバータ装置
1日前
株式会社ダイヘン
パルス電源装置
1日前
株式会社ダイヘン
変圧器組立装置
1日前
株式会社ダイヘン
ロボットシステム
9日前
株式会社ダイヘン
パワーモジュール
1日前
株式会社ダイヘン
パワーモジュール
1日前
株式会社ダイヘン
パワーモジュール
1日前
株式会社ダイヘン
ロボットシステム
12日前
株式会社ダイヘン
直流パルス電源装置
2日前
株式会社ダイヘン
アーク溶接システム
1日前
株式会社ダイヘン
制御装置及び研削システム
1日前
株式会社ダイヘン
交流パルスアーク溶接制御方法
1か月前
株式会社ダイヘン
サブマージアーク溶接システム
1日前
株式会社ダイヘン
サブマージアーク溶接システム
1日前
株式会社ダイヘン
交流パルスアーク溶接制御方法
1か月前
株式会社ダイヘン
サブマージアーク溶接制御方法
1か月前
続きを見る
他の特許を見る