TOP
|
特許
|
意匠
|
商標
特許ウォッチ
Twitter
他の特許を見る
10個以上の画像は省略されています。
公開番号
2025150502
公報種別
公開特許公報(A)
公開日
2025-10-09
出願番号
2024051406
出願日
2024-03-27
発明の名称
堤防および堤防の施工方法
出願人
日本製鉄株式会社
代理人
弁理士法人樹之下知的財産事務所
主分類
E02B
3/10 20060101AFI20251002BHJP(水工;基礎;土砂の移送)
要約
【課題】二重の壁体を有する堤防においてコア部の強度を向上させるにあたり、施工スペースの縮減や施工期間の短縮などで施工性を向上させるとともにCO
2
削減にも寄与する。
【解決手段】堤体と、上記堤体に打設され堤防の延長方向に延びる第1および第2の壁体と、上記第1および第2の壁体の間で上記堤体に打設される丸太とを備える堤防が提供される。
【選択図】図1
特許請求の範囲
【請求項1】
堤体と、
前記堤体に打設され堤防の延長方向に延びる第1および第2の壁体と、
前記第1および第2の壁体の間で前記堤体に打設される丸太と
を備える堤防。
続きを表示(約 1,100 文字)
【請求項2】
前記第1および第2の壁体のそれぞれの頭部を連結する連結材をさらに備える、請求項1に記載の堤防。
【請求項3】
前記丸太の少なくとも一部は、前記第1および第2の壁体よりも深く打設される、請求項1または請求項2に記載の堤防。
【請求項4】
前記第1および第2の壁体、または前記丸太の少なくとも一部の少なくともいずれかが、前記堤体が構築されている地盤の支持層まで打設される、請求項1または請求項2に記載の堤防。
【請求項5】
前記丸太の少なくとも一部は、前記第1の壁体の下端または変位0点から前記第2の壁体側に引かれた前記堤体の受働崩壊線よりも深く打設される、請求項1または請求項2に記載の堤防。
【請求項6】
前記丸太の少なくとも一部は、前記第2の壁体の下端または変位0点から前記第1の壁体側に引かれた前記堤体の主働崩壊線よりも深く打設される、請求項1または請求項2に記載の堤防。
【請求項7】
前記丸太は、前記第1の壁体の下端または変位0点から前記第2の壁体側に引かれた前記堤体の受働崩壊線と、前記第2の壁体の下端または変位0点から前記第1の壁体側に引かれた前記堤体の主働崩壊線との関係において、前記第1の壁体から前記受働崩壊線と前記主働崩壊線との交点までの間で前記受働崩壊線よりも深く打設される第1の丸太と、前記交点から前記第2の壁体までの間で前記主働崩壊線よりも深く打設される第2の丸太とを含む、請求項1または請求項2に記載の堤防。
【請求項8】
前記丸太は、前記第1の壁体の下端または変位0点から前記第2の壁体側に引かれた前記堤体の第1の受働崩壊線と、前記第2の壁体の下端または変位0点から前記第1の壁体側に引かれた前記堤体の第2の受働崩壊線との関係において、前記第1の壁体から前記第1の受働崩壊線と前記第2の受働崩壊線との交点までの間で前記第1の受働崩壊線よりも深く打設される第1の丸太と、前記交点から前記第2の壁体までの間で前記第2の受働崩壊線よりも深く打設される第2の丸太とを含む、請求項1または請求項2に記載の堤防。
【請求項9】
前記丸太は、前記第1の壁体または前記第2の壁体の少なくともいずれかの頭部に連結されて鉛直方向に対して斜めに打設される丸太を含む、請求項1または請求項2に記載の堤防。
【請求項10】
前記第1または第2の壁体の頭部と前記丸太の少なくとも一部とを連結する横架材をさらに備える、請求項1または請求項2に記載の堤防。
(【請求項11】以降は省略されています)
発明の詳細な説明
【技術分野】
【0001】
本発明は、堤防および堤防の施工方法に関する。
続きを表示(約 3,400 文字)
【背景技術】
【0002】
河川や海岸、ため池の堤防では、地震による堤体の亀裂や沈下、および増水時の越水に伴う堤体の浸食などによる破堤や決壊などが懸念される。この対策として、例えば特許文献1には、堤体の幅方向両側の法肩部に堤体の連続方向に延びる鋼矢板壁を打設し、それぞれの鋼矢板壁の頭部をタイ材で連結する堤防の補強構造が記載されている。このような二重鋼矢板壁による補強構造は、地震時には2列の鋼矢板壁が土の変形および移動を抑制するため、液状化対策として有効であることが知られている。
【先行技術文献】
【特許文献】
【0003】
特開2003-13451号公報
【発明の概要】
【発明が解決しようとする課題】
【0004】
上記の二重鋼矢板壁のような壁体を有する堤防において、壁体の間にある堤体の部分(以下、コア部ともいう)の強度は構造全体の安定性に影響を及ぼす。例えばセメントを用いた地盤改良工法を用いればコア部の強度を向上させることができるが、地盤改良工法で必要とされるセメントプラントや打設重機のための広い施工ヤードを堤防の周辺に確保することは必ずしも容易ではない。また、地球温暖化対策としてのCO
2
削減は建設業においても重要な課題であり、大型重機の燃料消費によって多量のCO
2
を排出する地盤改良工法では特に改善の余地が大きい。
【0005】
そこで、本発明は、二重の壁体を有する堤防においてコア部の強度を向上させるにあたり、施工スペースの縮減や施工期間の短縮などで施工性を向上させるとともにCO
2
削減にも寄与することが可能な、堤防および堤防の施工方法を提供することを目的とする。
【課題を解決するための手段】
【0006】
[1]堤体と、上記堤体に打設され堤防の延長方向に延びる第1および第2の壁体と、上記第1および第2の壁体の間で上記堤体に打設される丸太とを備える堤防。
[2]上記第1および第2の壁体のそれぞれの頭部を連結する連結材をさらに備える、[1]に記載の堤防。
[3]上記丸太の少なくとも一部は、上記第1および第2の壁体よりも深く打設される、[1]または[2]に記載の堤防。
[4]上記第1および第2の壁体、または上記丸太の少なくとも一部の少なくともいずれかが、上記堤体が構築されている地盤の支持層まで打設される、[1]または[2]に記載の堤防。
[5]上記丸太の少なくとも一部は、上記第1の壁体の下端または変位0点から上記第2の壁体側に引かれた上記堤体の受働崩壊線よりも深く打設される、[1]または[2]に記載の堤防。
[6]上記丸太の少なくとも一部は、上記第2の壁体の下端または変位0点から上記第1の壁体側に引かれた上記堤体の主働崩壊線よりも深く打設される、[1]または[2]に記載の堤防。
[7]上記丸太は、上記第1の壁体の下端または変位0点から上記第2の壁体側に引かれた上記堤体の受働崩壊線と、上記第2の壁体の下端または変位0点から上記第1の壁体側に引かれた上記堤体の主働崩壊線との関係において、上記第1の壁体から上記受働崩壊線と上記主働崩壊線との交点までの間で上記受働崩壊線よりも深く打設される第1の丸太と、上記交点から上記第2の壁体までの間で上記主働崩壊線よりも深く打設される第2の丸太とを含む、[1]または[2]に記載の堤防。
[8]上記丸太は、上記第1の壁体の下端または変位0点から上記第2の壁体側に引かれた上記堤体の第1の受働崩壊線と、上記第2の壁体の下端または変位0点から上記第1の壁体側に引かれた上記堤体の第2の受働崩壊線との関係において、上記第1の壁体から上記第1の受働崩壊線と上記第2の受働崩壊線との交点までの間で上記第1の受働崩壊線よりも深く打設される第1の丸太と、上記交点から上記第2の壁体までの間で上記第2の受働崩壊線よりも深く打設される第2の丸太とを含む、[1]または[2]に記載の堤防。
[9]上記丸太は、上記第1の壁体または上記第2の壁体の少なくともいずれかの頭部に連結されて鉛直方向に対して斜めに打設される丸太を含む、[1]または[2]に記載の堤防。
[10]上記第1または第2の壁体の頭部と上記丸太の少なくとも一部とを連結する横架材をさらに備える、[1]または[2]に記載の堤防。
[11]上記堤防の単位長さあたりで、上記丸太の炭素貯蔵量が上記第1および第2の壁体の打設時の重機による炭素排出量以上である、[1]または[2]に記載の堤防。
[12][1]に記載の堤防の施工方法であって、上記堤体を掘削して杭孔を形成する工程と、上記杭孔に上記丸太を打設する工程とを含む、堤防の施工方法。
[13][2]に記載の堤防の施工方法であって、上記連結材を設置した後に上記丸太を打設する工程を含む、堤防の施工方法。
[14]上記堤体を掘削して杭孔を形成する工程を含まない、[13]に記載の堤防の施工方法。
[15]上記丸太を打設する工程によって上記連結材に引張力を導入する、[13]または[14]に記載の堤防の施工方法。
【発明の効果】
【0007】
上記の構成によれば、堤体のコア部に丸太が打設されることによって、コア部と第1および第2の壁体とによって構成される構造体の滑動やせん断に対する抵抗力を高めることができる。丸太を用いる工法は、例えばセメントを用いた地盤改良工法に比べて施工スペースを縮減し施工期間を短縮できるため施工性が高い。また、木材である丸太の炭素貯蔵量によってCO
2
削減にも寄与することができる。
【図面の簡単な説明】
【0008】
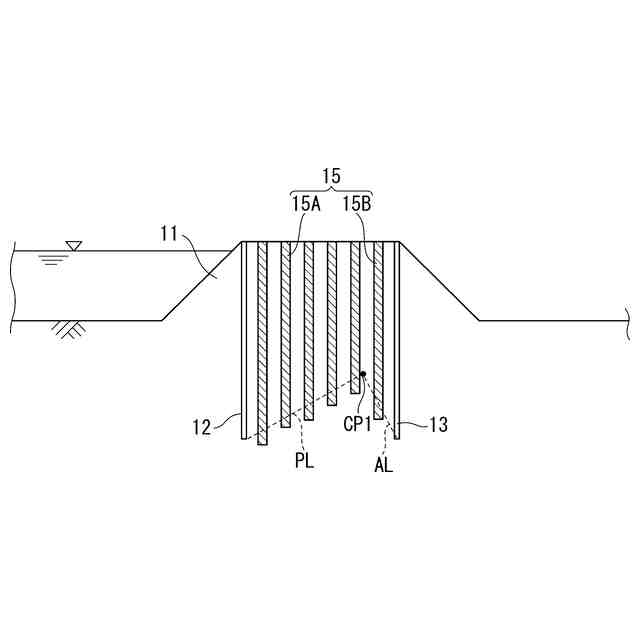
本発明の第1の実施形態に係る堤防の構造を示す概略的な断面図である。
本発明の第2の実施形態に係る堤防の構造を示す概略的な断面図である。
本発明の実施形態における丸太の打設深さの例を示す図である。
本発明の実施形態における丸太の打設深さの例を示す図である。
本発明の実施形態における丸太の打設深さと堤体の受働崩壊線との関係の例を示す図である。
本発明の実施形態における丸太の打設深さと堤体の受働崩壊線および主働崩壊線との関係の例を示す図である。
本発明の実施形態における丸太の打設深さと堤体の受働崩壊線との関係の例を示す図である。
本発明の実施形態における丸太の打設深さと堤体の受働崩壊線との関係の例を示す図である。
本発明の実施形態におけるさらなる補強構造の例を示す図である。
本発明の実施形態におけるさらなる補強構造の例を示す図である。
改良率の定義について説明するための図である。
解析によって算出された改良率と洗掘発生時の鋼矢板頭部の水平変位との関係を示すグラフである。
解析によって算出されたコア部の単位体積重量と洗掘発生時の鋼矢板頭部の水平変位との関係を示すグラフである。
【発明を実施するための形態】
【0009】
以下に添付図面を参照しながら、本発明の好適な実施形態について詳細に説明する。なお、本明細書および図面において、実質的に同一の機能構成を有する構成要素については、同一の符号を付することにより重複した説明を省略する。
【0010】
図1は、本発明の第1の実施形態に係る堤防の構造を示す概略的な断面図である。本実施形態において、堤防10Aは、堤体11と、堤体11の法肩部分に打設される鋼矢板壁12,13と、鋼矢板壁12,13の間、すなわち堤体11のコア部11Cに打設される丸太15とを含む。鋼矢板壁12,13は、堤防10Aの延長方向(図中の奥行き方向)に延びる第1および第2の壁体の例であり、他の実施形態ではコンクリート壁などであってもよい。なお丸太15は、木片を釘や接着によりつなぎ合わせて加工したものであってもよい。
(【0011】以降は省略されています)
この特許をJ-PlatPat(特許庁公式サイト)で参照する
関連特許
日本製鉄株式会社
線材
2日前
日本製鉄株式会社
床構造
17日前
日本製鉄株式会社
鋼部品
8日前
日本製鉄株式会社
剪断機
17日前
日本製鉄株式会社
床構造
17日前
日本製鉄株式会社
鋼部品
8日前
日本製鉄株式会社
ボルト
17日前
日本製鉄株式会社
管理装置
1か月前
日本製鉄株式会社
構造部材
27日前
日本製鉄株式会社
橋脚構造
6日前
日本製鉄株式会社
溶接継手
今日
日本製鉄株式会社
腐食センサ
6日前
日本製鉄株式会社
鍛鋼ロール
7日前
日本製鉄株式会社
耐火構造物
29日前
日本製鉄株式会社
耐火構造物
29日前
日本製鉄株式会社
耐火構造物
29日前
日本製鉄株式会社
鍛鋼ロール
7日前
日本製鉄株式会社
管理システム
6日前
日本製鉄株式会社
転炉精錬方法
27日前
日本製鉄株式会社
高Ni合金鋼
6日前
日本製鉄株式会社
学習システム
9日前
日本製鉄株式会社
高Ni合金鋼
6日前
日本製鉄株式会社
高Ni合金板
1か月前
日本製鉄株式会社
高炉の操業方法
1か月前
日本製鉄株式会社
高炉の操業方法
8日前
日本製鉄株式会社
高炉の操業方法
1か月前
日本製鉄株式会社
溶鉄の製造方法
8日前
日本製鉄株式会社
原油油槽用鋼材
2日前
日本製鉄株式会社
焼結鉱の製造方法
7日前
日本製鉄株式会社
鋼の連続鋳造方法
7日前
日本製鉄株式会社
モールドパウダー
7日前
日本製鉄株式会社
合成梁及び床構造
27日前
日本製鉄株式会社
合成梁及び床構造
27日前
日本製鉄株式会社
焼結鉱の製造方法
27日前
日本製鉄株式会社
鉄道車両用の車軸
今日
日本製鉄株式会社
金属材の製造方法
8日前
続きを見る
他の特許を見る