TOP
|
特許
|
意匠
|
商標
特許ウォッチ
Twitter
他の特許を見る
10個以上の画像は省略されています。
公開番号
2025150976
公報種別
公開特許公報(A)
公開日
2025-10-09
出願番号
2024052165
出願日
2024-03-27
発明の名称
測量装置の補正画像表示方法、測量装置、および測量装置の自動視準または自動追尾のためのターゲット光位置特定方法
出願人
株式会社トプコン
代理人
弁理士法人前川知的財産事務所
主分類
G01C
15/00 20060101AFI20251002BHJP(測定;試験)
要約
【課題】撮像素子の光軸上に回転する反射鏡を備えた測量装置においても、正確なトラッキングを行えること
【解決手段】走査鏡の第1の位置で第1の画像を撮像し、走査鏡を第1の位置から回転軸の回転方向に第1の角度回転させ、第2の位置に移動させ、第2の位置で第2の画像を撮像し、第1の画像と、第2の画像と、測角センサが測定した第1の角度を用いて、第1の画像に対する第2の画像の回転中心座標を得て、回転中心座標と、第1の角度と、第2の画像を用いて、第2の画像の回転、及び回転軸方向への移動を補正した補正画像を生成する。
【選択図】図11
特許請求の範囲
【請求項1】
測量装置の補正画像表示方法であって、
画像を撮像する撮像素子を有する撮像部と、
水平方向または鉛直方向のいずれか1つの回転軸に沿って回転し、前記回転軸に対して傾斜した平面反射面を有する走査鏡と、
前記回転軸の回転角を測定する測角センサと、
制御部と、
前記回転軸に沿って回転することなく前記托架部内に固定される前記撮像部と、前記走査鏡と、前記測角センサと、前記制御部とを内部に備えた托架部と、を備えた測量装置を用いて、
前記撮像部が撮像した画像を前記測量装置の表示部、または携帯端末の表示部に表示する際に、
前記撮像部が、前記走査鏡の第1の位置で第1の画像を撮像する第1の撮像ステップと、
前記制御部が、前記走査鏡を前記第1の位置から前記回転軸の回転方向に第1の角度回転させ、第2の位置に移動させる回転ステップと、
前記撮像部が、前記第2の位置で第2の画像を撮像する第2の撮像ステップと、
前記制御部が、回転中心座標と、前記第1の角度と、前記第2の画像を用いて、前記第2の画像の回転及び前記回転軸方向への移動を補正した補正画像を生成する画像補正ステップと、
前記制御部が、前記補正画像を前記第2の画像の代わりに前記測量装置の表示部、または携帯端末の表示部に表示する補正画像表示ステップと、を含む測量装置の補正画像表示方法。
続きを表示(約 1,800 文字)
【請求項2】
測量装置であって、
画像を撮像する撮像素子を有する撮像部と、
水平方向または垂直方向のいずれか1つの回転軸に沿って回転し、前記回転軸に対して傾斜した平面反射面を有する走査鏡と、
前記回転軸の回転角を測定する測角センサと、
制御部と、
前記撮像部と、前記走査鏡と、前記測角センサと、前記制御部とを内部に備えた托架部と、
を備え、
前記撮像部は、前記回転軸に沿って回転することなく前記托架部内に固定され、
前記撮像部が撮像した画像を前記測量装置の表示部、または携帯端末の表示部に表示する際に、
前記撮像部が、前記走査鏡の第1の位置で第1の画像を撮像し、
前記制御部が、前記走査鏡を前記第1の位置から前記回転軸の回転方向に第1の角度回転させ、第2の位置に移動させ、
前記撮像部が、前記第2の位置で第2の画像を撮像し、
前記制御部が、回転中心座標と、前記第1の角度と、前記第2の画像を用いて、前記第2の画像の回転、及び前記回転軸方向への移動を補正した補正画像を生成し、
前記制御部が、前記補正画像を前記第2の画像の代わりに前記測量装置の表示部、または携帯端末の表示部に表示する、測量装置。
【請求項3】
測量装置の自動視準または自動追尾のためのターゲット光位置特定方法であって、
画像を撮像する撮像素子を有する撮像部と、
水平方向または鉛直方向のいずれか1つの回転軸に沿って回転し、前記回転軸に対して傾斜した平面反射面を有する走査鏡と、
前記回転軸の回転角を測定する測角センサと、
制御部と、
前記回転軸に沿って回転することなく前記托架部内に固定される前記撮像部と、前記走査鏡と、前記測角センサと、前記制御部とを内部に備えた托架部と、を備えた測量装置と、
発光および消光が可能なターゲットを用いて、
前記撮像部が、発光または消光が第1の状態にある前記走査鏡の第1の位置で第1の画像を撮像する第1の撮像ステップと、
前記制御部が、前記走査鏡を前記第1の位置から前記回転軸の回転方向に第1の角度回転させ、第2の位置に移動させる回転ステップと、
前記撮像部が、発光または消光が前記第1の状態と異なる状態である第2の状態にある前記第2の位置で第2の画像を撮像する第2の撮像ステップと、
前記制御部が、回転中心座標と、前記第1の角度と、前記第2の画像を用いて、前記第2の画像の回転、および前記回転軸方向への移動を補正した補正画像を生成する画像補正ステップと、
前記制御部が、前記第1の画像と前記補正画像の差分画像を求め、前記差分画像を用いて前記ターゲット光位置を特定するターゲット位置特定ステップと、を含む測量装置の自動視準または自動追尾のためのターゲット光位置特定方法。
【請求項4】
ターゲット光位置を自動視準または自動追尾可能な測量装置であって、
画像を撮像する撮像素子を有する撮像部と、
水平方向または垂直方向のいずれか1つの回転軸に沿って回転し、前記回転軸に対して傾斜した平面反射面を有する走査鏡と、
前記回転軸の回転角を測定する測角センサと、
制御部と、
前記回転軸に沿って回転することなく前記托架部内に固定される前記撮像部と、前記走査鏡と、前記測角センサと、前記制御部とを内部に備えた托架部と、を備えた測量装置と、
発光および消光が可能なターゲットとを備え、
前記撮像部が、発光または消光が第1の状態にある前記走査鏡の第1の位置で第1の画像を撮像し、
前記制御部が、前記走査鏡を前記第1の位置から前記回転軸の回転方向に第1の角度だけ回転させ、第2の位置に移動させ、
前記撮像部が、発光または消光が前記第1の状態と異なる状態である第2の状態にある前記第2の位置で第2の画像を撮像し、
前記制御部が、回転中心座標と、前記第1の角度と、前記第2の画像を用いて、前記第2の画像の回転、および移動を補正した補正画像を生成し、
前記制御部が、前記第1の画像と前記補正画像の差分画像を求め、前記差分画像を用いて前記ターゲット光位置を特定する、測量装置。
発明の詳細な説明
【技術分野】
【0001】
本開示は測量装置の補正画像表示方法、測量装置、および測量装置の自動視準または自動追尾のためのターゲット光位置特定方法に関するものである。
続きを表示(約 2,600 文字)
【背景技術】
【0002】
測定対象物からの反射測距光を受光する受光素子と、測定対象物に出射された追尾光の反射光を受光する追尾受光素子と、背景光を受光する撮像部とを具備し、測距光と追尾光と背景光とが同軸となる測量装置が検討された(特許文献1)。
【先行技術文献】
【特許文献】
【0003】
特開2022-23609号公報
【発明の概要】
【発明が解決しようとする課題】
【0004】
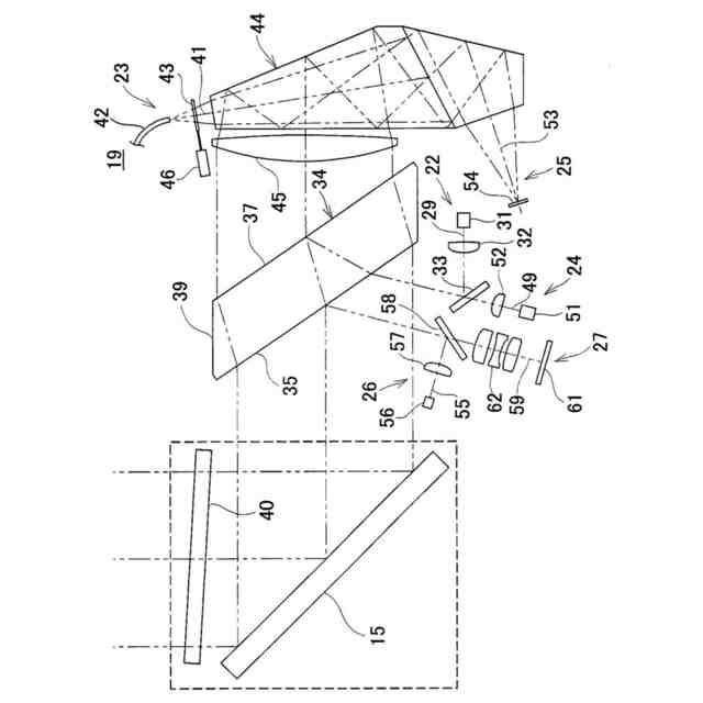
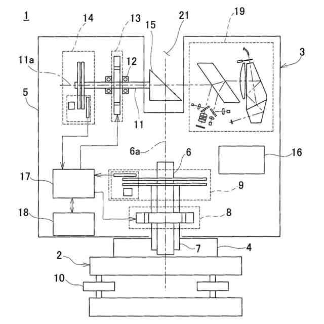
ところで、測距光と追尾光と背景光とが同軸となる測量装置においては、撮像素子の光軸上に回転する反射鏡を備え、視準する光軸を鉛直方向に上下回転させる際には反射鏡が回転軸に沿って回転するが、反射面で反射される像が回転し移動し、撮像素子は測量装置内部で固定されているので、撮像される二次元画像は回転し移動することになる。
【0005】
また、測量装置のトラッキング時には発光画像と消光画像の差分として現れるターゲット位置を用いるので、撮像画像が回転し移動することによるずれを補正し表示する必要があった。
【0006】
そこで、本開示では、撮像素子の光軸上に回転する反射鏡を備えた測量装置においても、正確なトラッキングを行えることを目的とする。
【課題を解決するための手段】
【0007】
上記した目的を達成するために、本開示の測量装置の補正画像表示方法は、画像を撮像する撮像素子を有する撮像部と、水平方向または鉛直方向のいずれか1つの回転軸に沿って回転し、回転軸に対して傾斜した平面反射面を有する走査鏡と、回転軸の回転角を測定する測角センサと、制御部と、回転軸に沿って回転することなく托架部内に固定される撮像部と、走査鏡と、測角センサと、制御部とを内部に備えた托架部と、を備えた測量装置を用いて、撮像部が撮像した画像を測量装置の表示部、または携帯端末の表示部に表示する際に、撮像部が、走査鏡の第1の位置で第1の画像を撮像する第1の撮像ステップと、制御部が、走査鏡を第1の位置から回転軸の回転方向に第1の角度回転させ、第2の位置に移動させる回転ステップと、撮像部が、第2の位置で第2の画像を撮像する第2の撮像ステップと、制御部が、回転中心座標と、第1の角度と、第2の画像を用いて、第2の画像の回転及び回転軸方向への移動を補正した補正画像を生成する画像補正ステップと、制御部が、補正画像を第2の画像の代わりに測量装置の表示部、または携帯端末の表示部に表示する補正画像表示ステップと、を含む。
【0008】
また、上記した目的を達成するために、本開示の測量装置は、画像を撮像する撮像素子を有する撮像部と、水平方向または垂直方向のいずれか1つの回転軸に沿って回転し、回転軸に対して傾斜した平面反射面を有する走査鏡と、回転軸の回転角を測定する測角センサと、制御部と、撮像部と、走査鏡と、測角センサと、制御部とを内部に備えた托架部と、を備え、撮像部は、回転軸に沿って回転することなく托架部内に固定され、撮像部が撮像した画像を測量装置の表示部、または携帯端末の表示部に表示する際に、撮像部が、走査鏡の第1の位置で第1の画像を撮像し、制御部が、走査鏡を第1の位置から回転軸の回転方向に第1の角度回転させ、第2の位置に移動させ、撮像部が、第2の位置で第2の画像を撮像し、制御部が、回転中心座標と、第1の角度と、第2の画像を用いて、第2の画像の回転、及び回転軸方向への移動を補正した補正画像を生成し、制御部が、補正画像を第2の画像の代わりに測量装置の表示部、または携帯端末の表示部に表示する。
【0009】
また、上記した目的を達成するために、測量装置の自動視準または自動追尾のためのターゲット光位置特定方法は、画像を撮像する撮像素子を有する撮像部と、水平方向または鉛直方向のいずれか1つの回転軸に沿って回転し、回転軸に対して傾斜した平面反射面を有する走査鏡と、回転軸の回転角を測定する測角センサと、制御部と、回転軸に沿って回転することなく托架部内に固定される撮像部と、走査鏡と、測角センサと、制御部とを内部に備えた托架部と、を備えた測量装置と、発光および消光が可能なターゲットを用いて、撮像部が、発光または消光が第1の状態にある走査鏡の第1の位置で第1の画像を撮像する第1の撮像ステップと、制御部が、走査鏡を第1の位置から回転軸の回転方向に第1の角度回転させ、第2の位置に移動させる回転ステップと、撮像部が、発光または消光が第1の状態と異なる状態である第2の状態にある第2の位置で第2の画像を撮像する第2の撮像ステップと、制御部が、回転中心座標と、第1の角度と、第2の画像を用いて、第2の画像の回転、および回転軸方向への移動を補正した補正画像を生成する画像補正ステップと、制御部が、第1の画像と補正画像の差分画像を求め、差分画像を用いてターゲット光位置を特定するターゲット位置特定ステップと、を含む。
【0010】
また、上記した目的を達成するために、本開示の測量装置は、ターゲット光位置を自動視準または自動追尾可能な測量装置であって、画像を撮像する撮像素子を有する撮像部と、水平方向または垂直方向のいずれか1つの回転軸に沿って回転し、回転軸に対して傾斜した平面反射面を有する走査鏡と、回転軸の回転角を測定する測角センサと、制御部と、回転軸に沿って回転することなく托架部内に固定される撮像部と、走査鏡と、測角センサと、制御部とを内部に備えた托架部と、を備えた測量装置と、発光および消光が可能なターゲットとを備え、撮像部が、発光または消光が第1の状態にある走査鏡の第1の位置で第1の画像を撮像し、制御部が、走査鏡を第1の位置から回転軸の回転方向に第1の角度だけ回転させ、第2の位置に移動させ、撮像部が、発光または消光が第1の状態と異なる状態である第2の状態にある第2の位置で第2の画像を撮像し、制御部が、回転中心座標と、第1の角度と、第2の画像を用いて、第2の画像の回転、および移動を補正した補正画像を生成し、制御部が、第1の画像と補正画像の差分画像を求め、差分画像を用いてターゲット光位置を特定する。
【発明の効果】
(【0011】以降は省略されています)
この特許をJ-PlatPat(特許庁公式サイト)で参照する
関連特許
株式会社トプコン
眼科装置
4日前
株式会社トプコン
測定装置
4日前
株式会社トプコン
眼科装置
5日前
株式会社トプコン
眼科装置
5日前
株式会社トプコン
眼科装置
10日前
株式会社トプコン
眼科装置
6日前
株式会社トプコン
測定装置
4日前
株式会社トプコン
眼科装置
6日前
株式会社トプコン
測定装置
3日前
株式会社トプコン
ミラー部材
3日前
株式会社トプコン
眼底観察装置
4日前
株式会社トプコン
視標呈示装置
4日前
株式会社トプコン
測量システム
3日前
株式会社トプコン
多面反射装置
14日前
株式会社トプコン
非接触式眼圧計
3日前
株式会社トプコン
測量装置の校正方法
10日前
株式会社トプコン
測量システム及び測量方法
4日前
株式会社トプコン
眼科システム及び端末装置
18日前
株式会社トプコン
眼科装置及び変換式の生成方法
5日前
株式会社トプコン
物体検出装置および測量システム
3日前
株式会社トプコン
測量システム及び測量方法及び測量プログラム
18日前
株式会社トプコン
計測モジュールを用いた3次元データ計測システム
3日前
株式会社トプコン
傾斜検出装置及び該傾斜検出装置を用いた傾斜検出方法
14日前
株式会社トプコン
3次元データ計測システムおよび3次元データ計測方法
3日前
株式会社トプコン
眼科装置
10日前
株式会社トプコン
眼科装置
10日前
株式会社トプコン
眼科装置
10日前
株式会社トプコン
眼科装置、眼科装置を制御する方法、プログラム、及び記録媒体
4日前
株式会社トプコン
代替ターゲットの位置測定方法、点群計測装置、点群情報処理装置、媒体
4日前
株式会社トプコン
測量データ処理装置、測量データ処理方法および測量データ処理用プログラム
14日前
株式会社トプコン
測量装置の補正画像表示方法、測量装置、および測量装置の自動視準または自動追尾のためのターゲット光位置特定方法
4日前
個人
メジャー文具
6日前
日本精機株式会社
位置検出装置
12日前
日本精機株式会社
位置検出装置
12日前
ユニパルス株式会社
ロードセル
5日前
日本精機株式会社
位置検出装置
12日前
続きを見る
他の特許を見る