TOP
|
特許
|
意匠
|
商標
特許ウォッチ
Twitter
他の特許を見る
10個以上の画像は省略されています。
公開番号
2025159213
公報種別
公開特許公報(A)
公開日
2025-10-17
出願番号
2025138152,2024117691
出願日
2025-08-21,2019-05-22
発明の名称
籾摺選別機
出願人
井関農機株式会社
代理人
主分類
B02B
7/00 20060101AFI20251009BHJP(破砕,または粉砕;製粉のための穀粒の前処理)
要約
【課題】
この発明は、仕上米昇降機の底部の残米を効率よく除去することができる籾摺選別機を提供することを課題とする。
【解決手段】
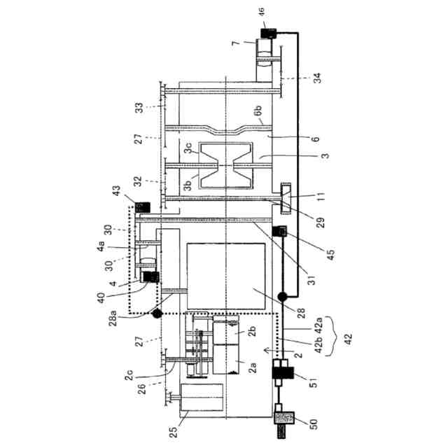
籾を脱ぷする籾摺装置(2)と、脱ぷ穀粒である混合米を風選する風選部(3)と、混合米を選別する揺動選別装置(6)と、仕上玄米を揚穀する仕上米昇降機(7)を備え、
仕上米昇降機(7)の底部に向けエアを噴出する仕上米昇降機用エアノズル(46)を設け、
エアを噴出する清掃モード運転を行う清掃モードスイッチ(70)と、清掃モード運転の残時間をカウントダウン表示するデジタル表示部(66)を設けることを特徴とする。
【選択図】図8
特許請求の範囲
【請求項1】
籾を脱ぷする籾摺装置(2)と、脱ぷ穀粒である混合米を風選する風選部(3)と、混合米を選別する揺動選別装置(6)と、仕上玄米を揚穀する仕上米昇降機(7)を備え、
仕上米昇降機(7)の底部に向けエアを噴出する仕上米昇降機用エアノズル(46)を設け、
エアを噴出する清掃モード運転を行う清掃モードスイッチ(70)と、清掃モード運転の残時間をカウントダウン表示するデジタル表示部(66)を設けることを特徴とする籾摺選別機。
続きを表示(約 360 文字)
【請求項2】
揺動選別装置(6)の選別玄米を仕上米昇降機(7)に案内する排出側と、選別玄米を再選別路(13)側に案内する循環側とに切り換わる循環・排出切換弁(59)を設け、
籾摺選別作業中に混合米タンク(5)が所定量以下になると、循環・排出切換弁(59)は循環側に切り換えられ、循環・排出切換弁(59)が循環側に切り換えられると残籾は籾摺装置(2)に戻されて脱ぷ処理される残米処理運転がなされ、
残米処理運転時にコンプレッサ(41)からのエアを仕上米昇降機(7)に噴出させる清掃モード運転を備えることを特徴とする請求項1記載の籾摺選別機。
【請求項3】
清掃モード運転は最初に連続エア噴出を行い、途中から間欠エア噴出に切り換えることを特徴とする請求項2記載の籾摺選別機。
発明の詳細な説明
【技術分野】
【0001】
本発明は、籾摺選別機に関し、特に籾と玄米を比重選別する多段構成の揺動選別板に搬送する搬送装置、及び機外取出する搬送装置の残米処理装置に関する。
続きを表示(約 1,100 文字)
【背景技術】
【0002】
従来籾摺選別機において、混合米揚穀機内底部に残留した籾や玄米などの混合米を除去するため、噴風口を混合米揚穀機内の底部に向けたエアノズルを設け、さらに、玄米揚穀機内の底部に残留した玄米などを除去するため、噴風口を玄米揚穀機内の底部に向けたエアノズルを設ける構成がある(特許文献1)。
【先行技術文献】
【特許文献】
【0003】
特開2008-55280号公報
【発明の概要】
【発明が解決しようとする課題】
【0004】
特許文献1の構成によると、エアノズルの噴風によって揚穀機の底部に残留しようとする籾や玄米を除去することができる。
【0005】
本発明は、仕上米昇降機の底部の残米を効率よく除去することを課題とする。
【課題を解決するための手段】
【0006】
この発明は、上記課題を解決すべく次のような技術的手段を講じた。
【0007】
請求項1に係る発明は、籾を脱ぷする籾摺装置(2)と、脱ぷ穀粒である混合米を風選する風選部(3)と、混合米を選別する揺動選別装置(6)と、仕上玄米を揚穀する仕上米昇降機(7)を備え、
仕上米昇降機(7)の底部に向けエアを噴出する仕上米昇降機用エアノズル(46)を設け、
エアを噴出する清掃モード運転を行う清掃モードスイッチ(70)と、清掃モード運転の残時間をカウントダウン表示するデジタル表示部(66)を設けることを特徴とする。
【0008】
請求項2に記載の発明は、請求項1に記載の発明において、揺動選別装置(6)の選別玄米を仕上米昇降機(7)に案内する排出側と、選別玄米を再選別路(13)側に案内する循環側とに切り換わる循環・排出切換弁(59)を設け、
籾摺選別作業中に混合米タンク(5)が所定量以下になると、循環・排出切換弁(59)は循環側に切り換えられ、循環・排出切換弁(59)が循環側に切り換えられると残籾は籾摺装置(2)に戻されて脱ぷ処理される残米処理運転がなされ、
残米処理運転時にコンプレッサ(41)からのエアを仕上米昇降機(7)に噴出させる清掃モード運転を備えることを特徴とすることを特徴とする。
【0009】
請求項3に記載の発明は、請求項2に記載の発明において、清掃モード運転は最初に連続エア噴出を行い、途中から間欠エア噴出に切り換えることを特徴とする。
【発明の効果】
【0010】
本発明によれば、エアを供給して仕上米昇降機の残米を効率的に除去処理できる。
【図面の簡単な説明】
(【0011】以降は省略されています)
この特許をJ-PlatPat(特許庁公式サイト)で参照する
関連特許
井関農機株式会社
作業車両
12日前
井関農機株式会社
作業車両
10日前
井関農機株式会社
作業車両
11日前
井関農機株式会社
作業車両
11日前
井関農機株式会社
作業車両
11日前
井関農機株式会社
作業車両
10日前
井関農機株式会社
作業車両
3日前
井関農機株式会社
作業車両
4日前
井関農機株式会社
コンバイン
5日前
井関農機株式会社
歩行型耕運機
11日前
井関農機株式会社
乗用型苗移植機
11日前
井関農機株式会社
電動式移植作業車両
11日前
井関農機株式会社
農産物の管理システム
11日前
井関農機株式会社
作業車両
6日前
井関農機株式会社
作業車両
3日前
井関農機株式会社
籾摺選別機
3日前
井関農機株式会社
籾摺選別機
3日前
古河ロックドリル株式会社
破砕機
21日前
古河ロックドリル株式会社
破砕機
21日前
個人
気泡緩衝材減容装置
3日前
個人
気泡緩衝材減容装置
3日前
個人
粉砕乾燥用蒸気ジェット噴射装置
3日前
日本化学工業株式会社
湿式粉砕方法
21日前
井関農機株式会社
籾摺選別機
3日前
井関農機株式会社
籾摺選別機
3日前
UBE株式会社
金属異物の除去方法および装置
10日前
株式会社栗本鐵工所
破砕制御システムおよびプログラム
11日前
三菱重工業株式会社
粉砕テーブル及び固体燃料粉砕装置並びに粉砕テーブルの補修方法
10日前
三菱重工業株式会社
固体燃料粉砕装置及びボイラ設備並びに固体燃料粉砕装置の運転方法
11日前
株式会社栗本鐵工所
破砕制御システム、摩耗量予測装置およびプログラム
12日前
DOWAホールディングス株式会社
シミュレーション装置及びプログラム
10日前
株式会社プロテイン・エクスプレス
抗SARS-CoV-2単ドメイン抗体
5日前
他の特許を見る