TOP
|
特許
|
意匠
|
商標
特許ウォッチ
Twitter
他の特許を見る
公開番号
2025153005
公報種別
公開特許公報(A)
公開日
2025-10-10
出願番号
2024055253
出願日
2024-03-29
発明の名称
非接触型充電表示装置
出願人
株式会社関電工
,
三和電気計器株式会社
代理人
個人
,
個人
主分類
G01R
15/16 20060101AFI20251002BHJP(測定;試験)
要約
【課題】電気設備に係るケーブル等の対象機器が充電されているか否かを充電部に接触することなく表示することが可能な非接触型充電表示装置を提供する。
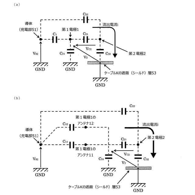
【解決手段】接触することなく、対象機器が充電されているか否かを検出し、検出結果を表示する非接触型充電表示装置Aにおいて、検出回路6は、前記対象機器に印加された電圧を測定対象とした第1電極1と、大地に対して静電容量を介した電圧を測定対象とした第2電極2とを有し、前記対象機器に電圧が印加された際、検出回路6から信号を出力する回路を備え、第1電極1は、一定面積を有する板からなり、前記対象機器との間で所定の距離を有するように配置され、第2電極2は、第1電極1に対する垂直投影面積を小さくし、かつ、大地に対する面積を大きくした形状とし、大地との間で誘電体を介するように配置された構成とした。
【選択図】図2
特許請求の範囲
【請求項1】
接触することなく、対象機器が充電されているか否かを検出し、検出結果を表示する非接触型充電表示装置において、
検出回路は、前記対象機器に印加された電圧を測定対象とした第1電極と、大地に対して静電容量を介した電圧を測定対象とした第2電極とを有し、
前記対象機器に電圧が印加された際、前記検出回路から信号を出力する回路を備え、
前記第1電極は、一定面積を有する板からなり、前記対象機器との間で所定の距離を有するように配置され、
前記第2電極は、前記第1電極に対する垂直投影面積を小さくし、かつ、大地に対する面積を大きくした形状とし、大地との間で誘電体を介するように配置されたことを特徴とする、非接触型充電表示装置。
続きを表示(約 460 文字)
【請求項2】
前記対象機器が、ケーブルであって、
前記大地との間に介在する誘電体は、前記ケーブル内の遮蔽層を被覆することを特徴とする、請求項1に記載の非接触型充電表示装置。
【請求項3】
前記第1電極が、対象機器である前記ケーブルの充電部に印加された電圧を測定対象とし、
前記ケーブルを把持するケーブル把持部の当接部に前記第2電極を設け、
前記ケーブル把持部で前記ケーブルを把持した場合、前記第2電極が前記ケーブルの外周に近接することを特徴とする、請求項2に記載の非接触型充電表示装置。
【請求項4】
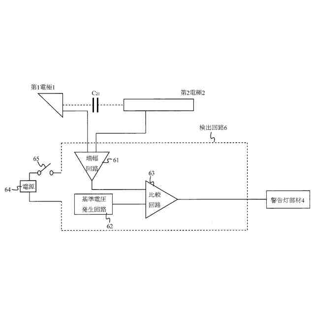
前記第1電極は、第1アンテナ、第2アンテナ及び差動アンプを有し、
前記差動アンプは、前記第1アンテナと前記第2アンテナに接続され、
前記第1アンテナが検知した電位と前記第2アンテナが検知した電位を受け付け、
検知した電位が異なる場合には、差分に係る電位を出力することを特徴とする、請求項1~3のいずれかに記載の非接触型充電表示装置。
発明の詳細な説明
【技術分野】
【0001】
本発明は、電気設備に係るケーブル等の対象機器が充電されているか否かを、充電部に接触することなく表示する、非接触型充電表示装置に関する。
続きを表示(約 1,700 文字)
【背景技術】
【0002】
従来の高圧検電器の場合、対象機器の電圧(充電)の有無を確認する際には、電気的に遮蔽(シールド)されていない部分を用いて行う。高圧の電圧を測定する際にも、電気的に遮蔽(シールド)されていない部分で、VT(変成器)等を付けて測定する。つまり、電圧(充電)の有無を確認するには、通常、遮蔽(シールド)されていない部分で行われる。
【0003】
こうした電圧検出方法は、遮蔽(シールド)されていない部分(=電気的に危険性の高い部分)で行うため、特に高圧以上の場合は、ケーブル等の対象機器が停電状態でないと、充電されているか否かを表示する充電表示装置を取り付けることができない。電気設備の点検や工事の際、作業員等の感電防止の観点から、充電表示装置は有効である。しかし、充電表示装置を対象機器に取り付けるには、事前に停電させる必要がある。
【0004】
電力需要家にとっては、1)充電表示装置を取り付けるための停電、2)電気設備の点検や工事のための停電と、2回の停電が必要となる。近年のICT(Information and Communication Technology)の普及に伴い、停電させること自体が困難となっている。作業の安全のためとはいえ、停電回数の増加は、需要家の利益に反する。また、工事を行う側にとっても作業負担(作業回数や作業工程)が増え、結局は、需要家側の経済的負担に反映される。
【0005】
また、VTを付けて測定する場合には、機器のA種接地が必要になる等、設備が大がかりになってしまう。
【0006】
そのため、充電したケーブル等の対象機器の電源とは接触することなく、対象機器の充電の有無を検出可能な構成も開示されている。詳しくは、ケーブル等の対象機器を流れる電流を用いて、電磁誘導の原理により、表示装置に充電の有無を表示させる構成が開示されている。
【先行技術文献】
【特許文献】
【0007】
特開2011-227090号公報
【発明の開示】
【発明が解決しようとする課題】
【0008】
しかしながら、特許文献1の構成の場合、確かに、充電したケーブルの電源とは非接触で検出可能であるが、ケーブルに電流が流れていないと充電の有無を検出できない。つまり、ケーブルに電圧は印加されているが、無負荷(電流が流れていない)状態の場合は、検出できない。特に、電気設備の定期点検等においては、上記の状態が想定されるケースが多く、それでは、作業員等の感電保護の観点からは、用をなさない。また、この技術も電気的に遮蔽(シールド)されていない部分でなければ検知できない。そのため、この技術を用いる場合であっても、対象機器を停電状態にする必要がある。
【0009】
そこで、本発明は上述の課題を解決するため、電気設備に係るケーブル等の対象機器が充電されているか否かを充電部に接触することなく、かつ、電気的に遮蔽(シールド)された部分(=電気的に安全性の高い部分)に安全に取り付けて検知可能な非接触型充電表示装置を提供することを目的としたものである。
【課題を解決するための手段】
【0010】
具体的には、請求項1の発明は、
接触することなく、対象機器が充電されているか否かを検出し、検出結果を表示する非接触型充電表示装置において、
検出回路は、前記対象機器に印加された電圧を測定対象とした第1電極と、大地に対して静電容量を介した電圧を測定対象とした第2電極とを有し、
前記対象機器に電圧が印加された際、前記検出回路から信号を出力する回路を備え、
前記第1電極は、一定面積を有する板からなり、前記対象機器との間で所定の距離を有するように配置され、
前記第2電極は、前記第1電極に対する垂直投影面積を小さくし、かつ、大地に対する面積を大きくした形状とし、大地との間で誘電体を介するように配置された、非接触型充電表示装置とした。
(【0011】以降は省略されています)
この特許をJ-PlatPat(特許庁公式サイト)で参照する
関連特許
株式会社関電工
検相器用治具
1か月前
株式会社関電工
車両運行通知システム
5日前
株式会社関電工
非接触型充電表示装置
9日前
株式会社関電工
ケーブルドラム逸走防止治具
12日前
株式会社関電工
ケーブル不具合箇所検知システム
9日前
株式会社関電工
襟首隙間確保具及び冷却空気流通方法
1か月前
株式会社関電工
オーガ式簡易掘削機における拡縮カッタ構造
9日前
株式会社関電工
プログラム、情報処理装置及び情報処理方法
11日前
株式会社関電工
プログラム、情報処理方法及び情報処理装置
1か月前
株式会社関電工
脚立型誘導アンテナ架台及び当該架台を用いた誘導アンテナの設置方法
9日前
東京電力ホールディングス株式会社
判定装置、制御システム及び判定方法
11日前
株式会社関電工
ケーブル用ドラム架台及び当該ドラム架台を用いたケーブルドラムの運搬車両への搭載方法
9日前
個人
メジャー文具
12日前
個人
高精度同時多点測定装置
4日前
個人
アクセサリー型テスター
5日前
ユニパルス株式会社
ロードセル
11日前
日本精機株式会社
位置検出装置
18日前
日本精機株式会社
位置検出装置
18日前
日本精機株式会社
位置検出装置
18日前
アズビル株式会社
圧力センサ
17日前
株式会社ヨコオ
ソケット
10日前
ダイキン工業株式会社
監視装置
9日前
トヨタ自動車株式会社
監視装置
10日前
株式会社ヨコオ
ソケット
11日前
エイブリック株式会社
磁気センサ回路
17日前
株式会社チノー
放射光測温装置
11日前
ローム株式会社
半導体装置
3日前
TDK株式会社
ガスセンサ
11日前
TDK株式会社
磁気センサ
10日前
株式会社東芝
重量測定装置
16日前
長崎県
形状計測方法
5日前
TDK株式会社
ガスセンサ
17日前
TDK株式会社
ガスセンサ
16日前
ローム株式会社
半導体装置
3日前
中国電力株式会社
電柱管理システム
9日前
日本特殊陶業株式会社
センサ
9日前
続きを見る
他の特許を見る