TOP
|
特許
|
意匠
|
商標
特許ウォッチ
Twitter
他の特許を見る
公開番号
2025149569
公報種別
公開特許公報(A)
公開日
2025-10-08
出願番号
2024050298
出願日
2024-03-26
発明の名称
プログラム、情報処理装置及び情報処理方法
出願人
株式会社関電工
代理人
個人
,
個人
主分類
H02J
3/00 20060101AFI20251001BHJP(電力の発電,変換,配電)
要約
【課題】対象施設における電力消費量を好適に予測することができるプログラム等を提供する。
【解決手段】プログラムは、第1時間帯の直前の一又は複数の時間帯である第2時間帯における対象施設の電力消費量と、前記第1時間帯の外気温とを取得し、前記第2時間帯の電力消費量及び前記第1時間帯の外気温を入力した場合に前記第1時間帯の電力消費量の予測値を出力するよう学習済みのモデルであって、時間帯毎に用意されたモデルに、取得した前記第2時間帯の電力消費量及び前記第1時間帯の外気温を入力することで前記第1時間帯の電力消費量の予測値を出力する処理をコンピュータに実行させる。
【選択図】図3
特許請求の範囲
【請求項1】
第1時間帯の直前の一又は複数の時間帯である第2時間帯における対象施設の電力消費量と、前記第1時間帯の外気温とを取得し、
前記第2時間帯の電力消費量及び前記第1時間帯の外気温を入力した場合に前記第1時間帯の電力消費量の予測値を出力するよう学習済みのモデルであって、時間帯毎に用意されたモデルに、取得した前記第2時間帯の電力消費量及び前記第1時間帯の外気温を入力することで前記第1時間帯の電力消費量の予測値を出力する
処理をコンピュータに実行させるプログラム。
続きを表示(約 1,300 文字)
【請求項2】
前記第2時間帯の一部又は全部の時間帯である第3時間帯における前記対象施設の電力消費量が未知の場合、前記第3時間帯の直前の一又は複数の時間帯である第4時間帯における前記対象施設の電力消費量と、前記第3時間帯の外気温とを取得し、
取得した前記第4時間帯の電力消費量及び前記第3時間帯の外気温を、前記第3時間帯に対応する前記モデルに入力することで前記第3時間帯の電力消費量の予測値を出力し、
出力された前記第3時間帯の電力消費量の予測値を含む前記第2時間帯の電力消費量と、前記第1時間帯の外気温とを、前記第1時間帯に対応する前記モデルに入力することで前記第1時間帯の電力消費量の予測値を出力する
請求項1に記載のプログラム。
【請求項3】
前記モデルは、前記対象施設における営業日又は定休日毎に、かつ、時間帯毎に用意されており、
予測対象日が営業日又は定休日であるか、及び前記第1時間帯に応じて、複数の前記モデルのいずれかを選択し、
選択した前記モデルに前記第2時間帯の電力消費量及び前記第1時間帯の外気温を入力することで前記第1時間帯の電力消費量の予測値を出力する
請求項1に記載のプログラム。
【請求項4】
前記対象施設に関連する所定のパラメータを取得し、
前記第2時間帯の電力消費量及び前記第1時間帯の外気温と、前記パラメータとを前記モデルに入力することで前記第1時間帯の電力消費量の予測値を出力する
請求項1に記載のプログラム。
【請求項5】
前記第1時間帯の所定時間前になった場合、直近所定期間における前記第2時間帯の電力消費量及び前記第1時間帯の外気温と、前記第1時間帯の電力消費量とを含む訓練データを取得し、
前記訓練データに基づき、前記モデルを生成する
請求項1に記載のプログラム。
【請求項6】
制御部を備える情報処理装置であって、
前記制御部が、
第1時間帯の直前の一又は複数の時間帯である第2時間帯における対象施設の電力消費量と、前記第1時間帯の外気温とを取得し、
前記第2時間帯の電力消費量及び前記第1時間帯の外気温を入力した場合に前記第1時間帯の電力消費量の予測値を出力するよう学習済みのモデルであって、時間帯毎に用意されたモデルに、取得した前記第2時間帯の電力消費量及び前記第1時間帯の外気温を入力することで前記第1時間帯の電力消費量の予測値を出力する
情報処理装置。
【請求項7】
第1時間帯の直前の一又は複数の時間帯である第2時間帯における対象施設の電力消費量と、前記第1時間帯の外気温とを取得し、
前記第2時間帯の電力消費量及び前記第1時間帯の外気温を入力した場合に前記第1時間帯の電力消費量の予測値を出力するよう学習済みのモデルであって、時間帯毎に用意されたモデルに、取得した前記第2時間帯の電力消費量及び前記第1時間帯の外気温を入力することで前記第1時間帯の電力消費量の予測値を出力する
処理をコンピュータが実行する情報処理方法。
発明の詳細な説明
【技術分野】
【0001】
本発明は、プログラム、情報処理装置及び情報処理方法に関する。
続きを表示(約 1,800 文字)
【背景技術】
【0002】
需要家の電力消費量を予測する技術がある。例えば特許文献1では、数理モデルに基づき需要家の電力需要量を予測する電力需要量予測装置等が開示されている。
【先行技術文献】
【特許文献】
【0003】
特開2021-52588号公報
【発明の概要】
【発明が解決しようとする課題】
【0004】
一つの側面では、対象施設における電力消費量を好適に予測することができるプログラム等を提供することを目的とする。
【課題を解決するための手段】
【0005】
一つの側面では、プログラムは、第1時間帯の直前の一又は複数の時間帯である第2時間帯における対象施設の電力消費量と、前記第1時間帯の外気温とを取得し、前記第2時間帯の電力消費量及び前記第1時間帯の外気温を入力した場合に前記第1時間帯の電力消費量の予測値を出力するよう学習済みのモデルであって、時間帯毎に用意されたモデルに、取得した前記第2時間帯の電力消費量及び前記第1時間帯の外気温を入力することで前記第1時間帯の電力消費量の予測値を出力する処理をコンピュータに実行させる。
【発明の効果】
【0006】
一つの側面では、対象施設における電力消費量を好適に予測することができる。
【図面の簡単な説明】
【0007】
情報処理装置の構成例を示すブロック図である。
実績値DBのレコードレイアウトの一例を示す説明図である。
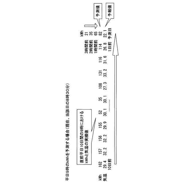
予測モデルによる電力消費量の予測処理に関する説明図である。
予測モデルの構成例を示す図である。
予測モデルによる電力消費量の予測値を入力に用いる場合の説明図である。
予測モデルの生成処理に関する説明図である。
サーバが実行する処理手順の一例を示すフローチャートである。
【発明を実施するための形態】
【0008】
以下、本発明をその実施の形態を示す図面に基づいて詳述する。
(実施の形態)
図1は、情報処理装置1の構成例を示すブロック図である。本実施の形態では、機械学習により構築(生成)された予測モデル50(図4参照)を用いて、対象施設における電力消費量を予測する情報処理装置1について説明する。
【0009】
情報処理装置1は、種々の情報処理、情報の送受信が可能な情報処理装置であり、例えばサーバコンピュータ、パーソナルコンピュータ等である。本実施の形態では情報処理装置1がサーバコンピュータであるものとし、以下では簡潔のためサーバ1と読み替える。サーバ1は、直近所定期間における対象施設の電力消費量及び外気温のデータを学習する機械学習を行うことで、予測対象時間帯(以下では「第1時間帯」と言う)の直前の一又は複数の時間帯(以下では「第2時間帯」と言う)の電力消費量と、第1時間帯の外気温とを入力した場合に、第1時間帯の電力消費量の予測値を出力する予測モデル50を生成する。サーバ1は当該予測モデル50を用いて、対象施設における第1時間帯の電力消費量を予測する。
【0010】
サーバ1は、制御部11、主記憶部12、通信部13、表示部14、入力部15、及び補助記憶部16を備える。
制御部11は、一又は複数のCPU(Central Processing Unit)、MPU(Micro-Processing Unit)、GPU(Graphics Processing Unit)等の演算処理装置を有し、補助記憶部16に記憶されたプログラムPを読み出して実行することにより、種々の情報処理、制御処理等を行う。主記憶部12は、SRAM(Static Random Access Memory)、DRAM(Dynamic Random Access Memory)等の一時記憶領域であり、制御部11が演算処理を実行するために必要なデータを一時的に記憶する。通信部13は、通信に関する処理を行うための通信モジュールであり、外部と情報の送受信を行う。表示部14は、液晶ディスプレイ等の表示画面であり、画像を表示する。入力部15は、キーボード、マウス等の操作インターフェイスであり、操作入力を受け付ける。
(【0011】以降は省略されています)
この特許をJ-PlatPat(特許庁公式サイト)で参照する
関連特許
株式会社関電工
検相器用治具
1か月前
株式会社関電工
車両運行通知システム
8日前
株式会社関電工
非接触型充電表示装置
12日前
株式会社関電工
ケーブルドラム逸走防止治具
15日前
株式会社関電工
ケーブル不具合箇所検知システム
12日前
株式会社関電工
オーガ式簡易掘削機における拡縮カッタ構造
12日前
株式会社関電工
プログラム、情報処理装置及び情報処理方法
14日前
株式会社関電工
プログラム、情報処理方法及び情報処理装置
1か月前
株式会社関電工
脚立型誘導アンテナ架台及び当該架台を用いた誘導アンテナの設置方法
12日前
東京電力ホールディングス株式会社
判定装置、制御システム及び判定方法
14日前
株式会社関電工
ケーブル用ドラム架台及び当該ドラム架台を用いたケーブルドラムの運搬車両への搭載方法
12日前
個人
単極モータ
8日前
株式会社アイシン
ロータ
12日前
株式会社アイシン
ロータ
8日前
日本精機株式会社
サージ保護回路
15日前
日星電気株式会社
ケーブル組立体
今日
西部電機株式会社
充電装置
15日前
西部電機株式会社
充電装置
15日前
トヨタ自動車株式会社
固定子
13日前
トヨタ自動車株式会社
製造装置
13日前
株式会社デンソー
回転機
6日前
個人
連続ガウス加速器形磁力増幅装置
15日前
株式会社アイシン
ステータ
12日前
株式会社アイシン
ステータ
12日前
株式会社アイシン
ステータ
12日前
株式会社ダイヘン
充電装置
12日前
個人
太陽エネルギー収集システム
13日前
東京瓦斯株式会社
通信装置
14日前
株式会社ミツバ
ブラシレスモータ
14日前
株式会社ダイヘン
充電装置
12日前
株式会社ダイヘン
充電装置
12日前
カヤバ株式会社
筒型リニアモータ
14日前
株式会社ダイヘン
充電装置
12日前
株式会社アイシン
ステータ
12日前
株式会社kaisei
発電システム
8日前
トヨタ自動車株式会社
被膜形成装置
13日前
続きを見る
他の特許を見る