TOP
|
特許
|
意匠
|
商標
特許ウォッチ
Twitter
他の特許を見る
公開番号
2025153695
公報種別
公開特許公報(A)
公開日
2025-10-10
出願番号
2024056306
出願日
2024-03-29
発明の名称
直接空気回収システム及びその制御方法
出願人
トヨタ自動車株式会社
代理人
個人
主分類
B01D
53/04 20060101AFI20251002BHJP(物理的または化学的方法または装置一般)
要約
【課題】回収される二酸化炭素の用途によって、適切な回収方法を選択可能な直接空気回収システムを提供する。
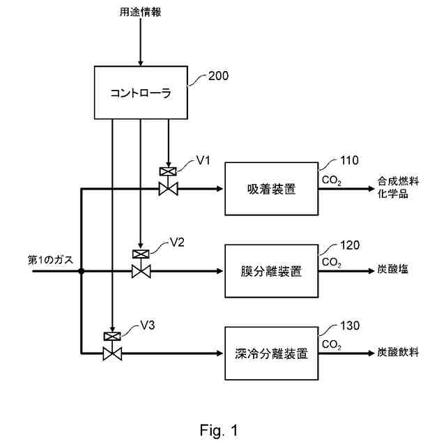
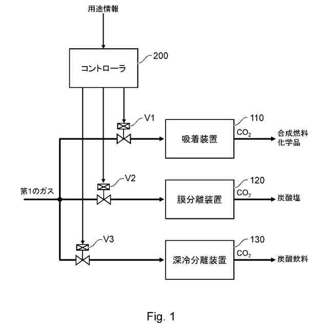
【解決手段】本開示に係る直接空気回収システムは、二酸化炭素の回収手法が異なる複数の直接空気回収装置と、複数の直接空気回収装置を制御するコントローラと、を備えた直接空気回収システムである。コントローラは、当該直接空気回収システムによって回収される二酸化炭素の用途に関する用途情報を取得し、用途情報に基づいて、複数の直接空気回収装置のいずれか一つを選択する。
【選択図】図1
特許請求の範囲
【請求項1】
二酸化炭素の回収手法が異なる複数の直接空気回収装置と、
前記複数の直接空気回収装置を制御するコントローラと、を備えた直接空気回収システムであって、
前記コントローラは、
当該直接空気回収システムによって回収される二酸化炭素の用途に関する用途情報を取得し、
前記用途情報に基づいて、前記複数の直接空気回収装置のいずれか一つを選択する、
直接空気回収システム。
続きを表示(約 720 文字)
【請求項2】
前記回収手法は、
大気中の二酸化炭素を固体吸着剤に吸着させて回収する化学吸着法と、
大気中の二酸化炭素を吸収液に吸収させて回収する化学吸収法と、
大気中の二酸化炭素を選択的に透過させる分離膜を用いて二酸化炭素を回収する膜分離法と、
大気中の二酸化炭素を冷却して固化させて二酸化炭素を回収する深冷分離法と、のいずれかである、
請求項1に記載の直接空気回収システム。
【請求項3】
当該直接空気回収システムによって回収される二酸化炭素の用途が、当該二酸化炭素と水素とを合成する合成燃料又は化学品の製造である場合、
前記コントローラは、
前記回収手法として前記化学吸着法又は前記化学吸収法を用いた直接空気回収装置を選択する、
請求項2に記載の直接空気回収システム。
【請求項4】
当該直接空気回収システムによって回収される二酸化炭素の用途が、当該二酸化炭素を用いた炭酸塩の製造である場合、
前記コントローラは、
前記回収手法として前記膜分離法を用いた直接空気回収装置を選択する、
請求項2に記載の直接空気回収システム。
【請求項5】
二酸化炭素の回収手法が異なる複数の直接空気回収装置を備えた直接空気回収システムの制御方法であって、
コンピュータが、
当該直接空気回収システムによって回収される二酸化炭素の用途に関する用途情報を取得し、
前記用途情報に基づいて、前記複数の直接空気回収装置のいずれか一つを選択する、
直接空気回収システムの制御方法。
発明の詳細な説明
【技術分野】
【0001】
本開示は、直接空気回収システム及びその制御方法に関する。
続きを表示(約 1,300 文字)
【背景技術】
【0002】
特許文献1には、二酸化炭素吸着剤を壁に含む反応流路と、反応流路を加熱もしくは冷却するための熱媒体を流すための熱交換流路と、を備えた直接空気回収(DAC:Direct Air Capture)装置が開示されている。
【先行技術文献】
【特許文献】
【0003】
国際公開第2013/106043号
【発明の概要】
【発明が解決しようとする課題】
【0004】
特許文献1に開示された直接空気回収装置は、大気中の二酸化炭素を吸着剤に吸着させて回収する化学吸着法を用いている。直接空気回収装置における二酸化炭素の回収手法としては、化学吸着法以外に、化学吸収法、膜分離法、及び深冷分離法などが知られている。
二酸化炭素の回収手法によって、回収された二酸化炭素の濃度が異なるため、回収された二酸化炭素に適した用途も異なる。換言すると、回収される二酸化炭素の用途によって、適切な回収方法も異なる。
【0005】
本開示は、このような事情に鑑みなされたものであって、回収される二酸化炭素の用途によって、適切な回収方法を選択可能な直接空気回収システムを提供する。
【課題を解決するための手段】
【0006】
本開示に係る直接空気回収システムは、
二酸化炭素の回収手法が異なる複数の直接空気回収装置と、
前記複数の直接空気回収装置を制御するコントローラと、を備えた直接空気回収システムであって、
前記コントローラは、
当該直接空気回収システムによって回収される二酸化炭素の用途に関する用途情報を取得し、
前記用途情報に基づいて、前記複数の直接空気回収装置のいずれか一つを選択する。
【0007】
本開示に係る直接空気回収システムでは、当該直接空気回収システムによって回収される二酸化炭素の用途に関する用途情報を取得し、前記用途情報に基づいて、二酸化炭素の回収手法が異なる複数の直接空気回収装置のいずれか一つを選択する。このように、回収される二酸化炭素の用途によって、適切な回収方法を選択できる。
【0008】
前記回収手法は、大気中の二酸化炭素を固体吸着剤に吸着させて回収する化学吸着法と、大気中の二酸化炭素を吸収液に吸収させて回収する化学吸収法と、大気中の二酸化炭素を選択的に透過させる分離膜を用いて二酸化炭素を回収する膜分離法と、大気中の二酸化炭素を冷却して固化させて二酸化炭素を回収する深冷分離法と、のいずれかでもよい。
【0009】
当該直接空気回収システムによって回収される二酸化炭素の用途が、当該二酸化炭素と水素とを合成する合成燃料又は化学品の製造である場合、前記コントローラは、前記回収手法として前記化学吸着法又は前記化学吸収法を用いた直接空気回収装置を選択してもよい。
【0010】
当該直接空気回収システムによって回収される二酸化炭素の用途が、当該二酸化炭素を用いた炭酸塩の製造である場合、前記コントローラは、前記回収手法として前記膜分離法を用いた直接空気回収装置を選択してもよい。
(【0011】以降は省略されています)
この特許をJ-PlatPat(特許庁公式サイト)で参照する
関連特許
株式会社西部技研
除湿装置
今日
ユニチカ株式会社
複合中空糸膜
14日前
東レ株式会社
中空糸膜モジュール
13日前
株式会社MRT
微細バブル発生装置
17日前
個人
攪拌装置
17日前
株式会社笹山工業所
濁水処理システム
17日前
ヤマシンフィルタ株式会社
フィルタ装置
15日前
大和ハウス工業株式会社
反応装置
7日前
本田技研工業株式会社
ガス回収装置
9日前
大陽日酸株式会社
CO2の回収方法
9日前
杉山重工株式会社
回転円筒型反応装置
17日前
本田技研工業株式会社
二酸化炭素回収装置
15日前
本田技研工業株式会社
二酸化炭素回収装置
9日前
ノリタケ株式会社
触媒材料およびその利用
7日前
本田技研工業株式会社
二酸化炭素回収装置
2日前
本田技研工業株式会社
二酸化炭素回収装置
13日前
本田技研工業株式会社
二酸化炭素回収装置
15日前
本田技研工業株式会社
二酸化炭素回収装置
7日前
本田技研工業株式会社
二酸化炭素回収装置
15日前
本田技研工業株式会社
二酸化炭素回収装置
7日前
本田技研工業株式会社
二酸化炭素回収装置
7日前
ノリタケ株式会社
触媒材料およびその利用
7日前
ノリタケ株式会社
触媒材料およびその利用
7日前
本田技研工業株式会社
分離システム
17日前
本田技研工業株式会社
二酸化炭素回収装置
7日前
日東電工株式会社
吸着材
13日前
東京応化工業株式会社
ろ過処理方法、及び多孔質膜
7日前
株式会社プロテリアル
触媒複合物および触媒前駆体複合物
8日前
セイコーエプソン株式会社
気体分離膜
17日前
Planet Savers株式会社
気体濃縮装置
9日前
新甲エンジニアリング株式会社
使用済フロン再生装置
10日前
JFEエンジニアリング株式会社
二酸化炭素回収方法
9日前
日本碍子株式会社
電気加熱式担体
6日前
日本碍子株式会社
ハニカム構造体
17日前
株式会社笹山工業所
沈砂ピット及び濁水処理システム
17日前
TPR株式会社
多孔質ブリーザ
7日前
続きを見る
他の特許を見る