TOP
|
特許
|
意匠
|
商標
特許ウォッチ
Twitter
他の特許を見る
公開番号
2025153798
公報種別
公開特許公報(A)
公開日
2025-10-10
出願番号
2024056435
出願日
2024-03-29
発明の名称
室内3次元形状生成装置、室内3次元形状生成方法及び室内3次元形状生成プログラム
出願人
株式会社奥村組
,
株式会社アラヤ
代理人
弁理士法人翔和国際特許事務所
主分類
G01B
11/24 20060101AFI20251002BHJP(測定;試験)
要約
【課題】建物の室内の3次元形状を簡便且つ高精度に作成すること。
【解決手段】室内3次元形状生成装置であって、建物の室内の内面に対して照射したレーザ光の反射光の反射時間及び反射方向を含むレーザ光データを取得するレーザ光データ取得部と、前記レーザ光データから前記室内の点群データを作成する点群データ作成部と、前記点群データを、前記点群データに含まれる各点における法線の方向によって、天井候補点群データ、床候補点群データ及び壁候補点群データに分類する分類部と、前記床候補点群データ及び前記天井候補点群データに床天井点群データ検出アルゴリズムを適用し、前記室内の床点群データ及び天井点群データを検出する床天井点群データ検出部と、前記壁候補点群データに壁点群データ検出アルゴリズムを適用し、前記室内の壁点群データを検出する壁点群データ検出部と、前記床点群データ、前記天井点群データ及び前記壁点群データから、前記室内の3次元形状を生成する3次元形状生成部と、を備えた。
【選択図】図2A
特許請求の範囲
【請求項1】
建物の室内の内面に対して照射したレーザ光の反射光の反射時間及び反射方向を含むレーザ光データを取得するレーザ光データ取得部と、
前記レーザ光データから前記室内の点群データを作成する点群データ作成部と、
前記点群データを、前記点群データに含まれる各点における法線の方向によって、天井候補点群データ、床候補点群データ及び壁候補点群データに分類する分類部と、
前記床候補点群データ及び前記天井候補点群データに床天井点群データ検出アルゴリズムを適用し、前記室内の床点群データ及び天井点群データを検出する床天井点群データ検出部と、
前記壁候補点群データに壁点群データ検出アルゴリズムを適用し、前記室内の壁点群データを検出する壁点群データ検出部と、
前記床点群データ、前記天井点群データ及び前記壁点群データから、前記室内の3次元形状を生成する3次元形状生成部と、
を備えた室内3次元形状生成装置。
続きを表示(約 1,700 文字)
【請求項2】
前記壁点群データ検出部は、
前記壁点群データ検出アルゴリズムとして、前記壁候補点群データを、前記床点群データにより生成される床面に正射影して得られる2次元壁候補点群データに直線検出アルゴリズムを適用して2次元壁点群データを抽出し、
前記2次元壁点群データを、前記床面から前記天井点群データにより生成される天井面まで同一の壁輪郭線が連続するように複製し、前記壁点群データを得る、請求項1に記載の室内3次元形状生成装置。
【請求項3】
前記直線検出アルゴリズムは、前記2次元壁候補点群データから任意に選択した2点を通る直線と、前記2次元壁候補点群データとの一致度に基づいて、前記2次元壁点群データを抽出する、請求項2に記載の室内3次元形状生成装置。
【請求項4】
前記床天井点群データ検出アルゴリズムは、
前記床候補点群データから任意に選択した3点を通る平面と、前記床候補点群データとの一致度に基づいて、前記床点群データを検出し、
前記天井候補点群データから任意に選択した3点を通る平面と、前記天井候補点群データとの一致度に基づいて、前記天井点群データを検出する、請求項1に記載の室内3次元形状生成装置。
【請求項5】
前記2次元壁候補点群データのうち、前記2次元壁点群データとの距離が所定距離以上である壁凹凸部点群データに基づいて、前記室内の壁の凹凸形状を推定する壁凹凸形状推定部と、
前記床候補点群データのうち、前記床点群データとの距離が所定距離以上である床凹凸部点群データに基づいて、前記室内の床の凹凸形状を推定する床凹凸形状推定部と、
前記天井候補点群データのうち、前記天井点群データとの距離が所定距離以上である天井凹凸部点群データに基づいて、前記室内の天井の凹凸形状を推定する天井凹凸形状推定部とを、
更に備える、請求項2に記載の室内3次元形状生成装置。
【請求項6】
建物の室内に照射したレーザ光の反射光の反射時間及び反射方向を含むレーザ光データを取得するレーザ光データ取得ステップと、
前記レーザ光データから前記室内の点群データを作成する点群データ作成ステップと、
前記点群データを、前記点群データに含まれる各点における法線の方向によって、天井候補点群データ、床候補点群データ及び壁候補点群データに分類する分類ステップと、
前記床候補点群データ及び前記天井候補点群データに床天井点群データ検出アルゴリズムを適用し、前記室内の床点群データ及び天井点群データを検出する床天井点群データ検出ステップと、
前記壁候補点群データに壁点群データ検出アルゴリズムを適用し、前記室内の壁点群データを検出する壁点群データ検出ステップと、
前記床点群データ、前記天井点群データ及び前記壁点群データから、前記室内の3次元形状を生成する3次元形状生成ステップと、
を含む室内3次元形状生成方法。
【請求項7】
建物の室内に照射したレーザ光の反射光の反射時間及び反射方向を含むレーザ光データを取得するレーザ光データ取得ステップと、
前記レーザ光データから前記室内の点群データを作成する点群データ作成ステップと、
前記点群データを、前記点群データに含まれる各点における法線の方向によって、天井候補点群データ、床候補点群データ及び壁候補点群データに分類する分類ステップと、
前記床候補点群データ及び前記天井候補点群データに床天井点群データ検出アルゴリズムを適用し、前記室内の床点群データ及び天井点群データを検出する床天井点群データ検出ステップと、
前記壁候補点群データに壁点群データ検出アルゴリズムを適用し、前記室内の壁点群データを検出する壁点群データ検出ステップと、
前記床点群データ、前記天井点群データ及び前記壁点群データから、前記室内の3次元形状を生成する3次元形状生成ステップと、
をコンピュータに実行させる室内3次元形状生成プログラム。
発明の詳細な説明
【技術分野】
【0001】
本発明は、室内3次元形状生成装置、室内3次元形状生成方法及び室内3次元形状生成プログラムに関する。
続きを表示(約 3,700 文字)
【背景技術】
【0002】
上記技術分野において、特許文献1には、3Dレーザースキャナーにより屋内をスキャンして得られる屋内点群データと、想定される屋内の部屋数や、想定される部屋の面積等の、ユーザが入力するパラメータとに基づいて、屋内の3Dモデルを作成することが開示されている(同文献の請求項1、段落[0009]等)。
【先行技術文献】
【特許文献】
【0003】
特開2022-142994号公報
【発明の概要】
【発明が解決しようとする課題】
【0004】
しかしながら、上記特許文献1に記載の技術では、ユーザが入力したパラメータに基づいて3Dモデルを作成するので、3Dモデルを簡便に作成できる一方、入力されたパラメータが正確でない場合、生成される3Dモデルの精度は低かった。
【課題を解決するための手段】
【0005】
上記目的を達成するため、本発明に係る室内3次元形状生成装置は、
建物の室内の内面に対して照射したレーザ光の反射光の反射時間及び反射方向を含むレーザ光データを取得するレーザ光データ取得部と、
前記レーザ光データから前記室内の点群データを作成する点群データ作成部と、
前記点群データを、前記点群データに含まれる各点における法線の方向によって、天井候補点群データ、床候補点群データ及び壁候補点群データに分類する分類部と、
前記床候補点群データ及び前記天井候補点群データに床天井点群データ検出アルゴリズムを適用し、前記室内の床点群データ及び天井点群データを検出する床天井点群データ検出部と、
前記壁候補点群データに壁点群データ検出アルゴリズムを適用し、前記室内の壁点群データを検出する壁点群データ検出部と、
前記床点群データ、前記天井点群データ及び前記壁点群データから、前記室内の3次元形状を生成する3次元形状生成部と、
を備えた。
【0006】
また、上記目的を達成するため、本発明に係る室内3次元形状生成方法は、
建物の室内に照射したレーザ光の反射光の反射位置、反射時間及び反射方向を含むレーザ光データを取得するレーザ光データ取得ステップと、
前記レーザ光データを、前記レーザ光の反射位置における法線の方向によって、天井候補点群データ、床候補点群データ及び壁候補点群データに分類する分類ステップと、
前記床候補点群データ及び前記天井候補点群データに床天井検出アルゴリズムを適用し、前記室内の床及び天井を検出する床天井検出ステップと、
前記壁候補点群データに壁検出アルゴリズムを適用し、前記室内の壁を検出する壁検出ステップと、
前記床天井検出部が検出した床及び天井と、前記壁検出部が検出した壁とから、前記室内の3次元形状を生成する3次元形状生成ステップと
を含む。
【0007】
さらに、上記目的を達成するため、本発明に係る室内3次元形状生成プログラムは、
建物の室内に照射したレーザ光の反射光の反射位置、反射時間及び反射方向を含むレーザ光データを取得するレーザ光データ取得ステップと、
前記レーザ光データを、前記レーザ光の反射位置における法線の方向によって、天井候補点群データ、床候補点群データ及び壁候補点群データに分類する分類ステップと、
前記床候補点群データ及び前記天井候補点群データに床天井検出アルゴリズムを適用し、前記室内の床及び天井を検出する床天井検出ステップと、
前記壁候補点群データに壁検出アルゴリズムを適用し、前記室内の壁を検出する壁検出ステップと、
前記床天井検出部が検出した床及び天井と、前記壁検出部が検出した壁とから、前記室内の3次元形状を生成する3次元形状生成ステップと
をコンピュータに実行させる。
【発明の効果】
【0008】
本発明によれば、建物の室内の3次元形状を簡便且つ高精度に作成することができる。
【図面の簡単な説明】
【0009】
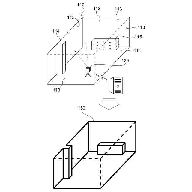
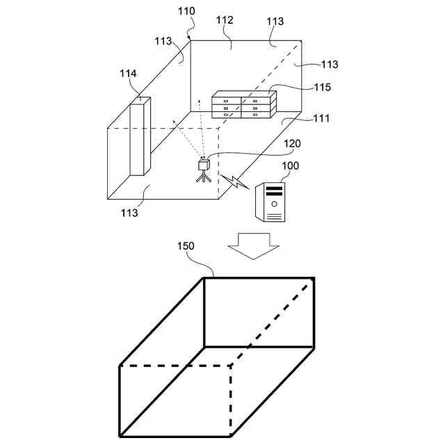
室内にレーザ光を照射し、その反射光のデータを単純に3Dモデル化して3Dモデルを生成する方法を説明するための図である。
図1Aに示す3Dモデルの平面図である。
本発明の第1実施形態に係る室内3次元形状生成装置による室内3次元形状生成の概要を説明するための図である。
図1Cに示す3次元形状の平面図である。
本発明の第1実施形態に係る室内3次元形状生成装置の構成を説明するためのブロック図である。
本発明の第1実施形態に係る室内3次元形状生成装置によって作成される点群データの一例を示す図である。
本発明の第1実施形態に係る室内3次元形状生成装置による点群データの分類方法を説明するための図である。
本発明の第1実施形態に係る室内3次元形状生成装置によって検出される床点群データ及び天井点群データの一例を示す図である。
本発明の第1実施形態に係る室内3次元形状生成装置が用いる床天井点群データ検出アルゴリズムを説明するための図であり、床候補点群データの一部を模式的に示した斜視図である。
図2Eに示す床候補点群データを水平方向から見た状態を模式的に示す側面図である。
本発明の第1実施形態に係る室内3次元形状生成装置によって、壁候補点群データから2次元壁点群データを検出する方法を説明するための図である。
本発明の第1実施形態に係る室内3次元形状生成装置が用いる直線検出アルゴリズムを説明するための図であり、2次元壁候補点群データの一部を模式的に示した平面図である。
本発明の第1実施形態に係る室内3次元形状生成装置が有する外れ値データ検出テーブルの一例を説明するための図である。
本発明の第1実施形態に係る室内3次元形状生成装置のハードウェア構成を説明するための図である。
本発明の第1実施形態に係る室内3次元形状生成装置の処理手順を説明するためのフローチャートである。
本発明の第2実施形態に係る室内3次元形状生成装置による室内3次元形状生成の概要を説明するための図である。
本発明の第2実施形態に係る室内3次元形状生成装置の構成を説明するためのブロック図である。
本発明の第2実施形態に係る室内3次元形状生成装置によって検出される2次元壁候補点群データ及び2次元壁点群データの一例を示す図である。
図7Bに示す2次元壁候補点群データおける、居室の壁に対応する点群データと、玄関の壁に対応する点群データとの境界付近を模式的に示した拡大平面図である。
本発明の第2実施形態に係る室内3次元形状生成装置によって生成される、壁の凹凸形状が反映された2次元壁点群データの一例を示す図である。
本発明の第2実施形態に係る室内3次元形状生成装置によって2次元壁点群データを生成する方法の別の例を説明するための図である。
本発明の第2実施形態に係る室内3次元形状生成装置によって2次元壁点群データを生成する方法のさらに別の例を説明するための図である。
本発明の第2実施形態に係る室内3次元形状生成装置によって検出される床候補点群データの一例を示す図である。
図7Gにおける、居室の床に対応する点群データ、及び床に対応する点群データを模式的に示した拡大側面図である。
本発明の第2実施形態に係る室内3次元形状生成装置によって生成される、凹凸形状が反映された床点群データの一例を示す図である。
本発明の第2実施形態に係る室内3次元形状生成装置によって検出される天井候補点群データの一例を示す図である。
図7Jにおける、天井における梁以外の部分に対応する点群データ、及び梁に対応する点群データを模式的に示した拡大側面図である。
本発明の第2実施形態に係る室内3次元形状生成装置によって生成される、凹凸形状が反映された天井点群データの一例を示す図である。
本発明の第2実施形態に係る室内3次元形状生成装置が有する凹凸形状推定テーブルの一例を説明するための図である。
本発明の第2実施形態に係る室内3次元形状生成装置のハードウェア構成を説明するための図である。
本発明の第2実施形態に係る室内3次元形状生成装置の処理手順を説明するためのフローチャートである。
【発明を実施するための形態】
【0010】
以下に、本発明を実施するための形態について、図面を参照して、例示的に詳しく説明する。ただし、以下の実施形態に記載されている、構成、数値、処理の流れ、機能要素などは一例に過ぎず、その変形や変更は自由であって、本発明の技術範囲を以下の記載に限定する趣旨のものではない。
(【0011】以降は省略されています)
この特許をJ-PlatPat(特許庁公式サイト)で参照する
関連特許
個人
メジャー文具
6日前
日本精機株式会社
位置検出装置
12日前
日本精機株式会社
位置検出装置
12日前
日本精機株式会社
位置検出装置
12日前
ユニパルス株式会社
ロードセル
5日前
大和製衡株式会社
組合せ秤
17日前
大和製衡株式会社
組合せ秤
17日前
アズビル株式会社
圧力センサ
11日前
トヨタ自動車株式会社
検査装置
14日前
エイブリック株式会社
磁気センサ回路
11日前
株式会社チノー
放射光測温装置
5日前
ダイキン工業株式会社
監視装置
3日前
株式会社ヨコオ
ソケット
5日前
株式会社ヨコオ
ソケット
4日前
株式会社東芝
センサ
17日前
株式会社東芝
センサ
17日前
トヨタ自動車株式会社
監視装置
4日前
株式会社ユーシン
操作検出装置
14日前
TDK株式会社
ガスセンサ
5日前
東レエンジニアリング株式会社
計量装置
14日前
TDK株式会社
磁気センサ
4日前
TDK株式会社
ガスセンサ
10日前
株式会社東芝
重量測定装置
10日前
株式会社ナリス化粧品
角層細胞採取用具
24日前
TDK株式会社
ガスセンサ
11日前
三菱マテリアル株式会社
温度センサ
24日前
日本特殊陶業株式会社
センサ
3日前
三菱マテリアル株式会社
温度センサ
24日前
ダイハツ工業株式会社
移動支援装置
4日前
三恵技研工業株式会社
融雪レドーム
4日前
富士電機株式会社
エンコーダ
11日前
日本特殊陶業株式会社
センサ
3日前
日本特殊陶業株式会社
センサ
3日前
多摩川精機株式会社
冗長エンコーダ
4日前
日本特殊陶業株式会社
センサ
3日前
三菱マテリアル株式会社
温度センサ
6日前
続きを見る
他の特許を見る