TOP
|
特許
|
意匠
|
商標
特許ウォッチ
Twitter
他の特許を見る
10個以上の画像は省略されています。
公開番号
2025155923
公報種別
公開特許公報(A)
公開日
2025-10-14
出願番号
2025026036
出願日
2025-02-20
発明の名称
端末及び通信方法
出願人
株式会社NTTドコモ
代理人
弁理士法人ITOH
主分類
H04W
72/21 20230101AFI20251006BHJP(電気通信技術)
要約
【課題】無線通信システムにおいて、上りリンクの容量を増大させること。
【解決手段】端末は、DFT-s-OFDM(Discrete fourier transform spread Orthogonal Frequency Division Multiplexing)又はOFDMにより変調される物理上りリンク共有チャネルの繰り返しに適用するOCC(Orthogonal Cover Code)を決定する制御部と、前記OCCを適用した前記物理上りリンク共有チャネルの繰り返しを基地局に送信する送信部とを有し、前記制御部は、前記OCCを適用した前記物理上りリンク共有チャネルの繰り返しと、PRACH(Physical random access channel)又はSRS(Sounding Reference Signal)とが、時間領域でオーバラップする場合の処理を決定する。
【選択図】図10
特許請求の範囲
【請求項1】
DFT-s-OFDM(Discrete fourier transform spread Orthogonal Frequency Division Multiplexing)又はOFDMにより変調される物理上りリンク共有チャネルの繰り返しに適用するOCC(Orthogonal Cover Code)を決定する制御部と、
前記OCCを適用した前記物理上りリンク共有チャネルの繰り返しを基地局に送信する送信部とを有し、
前記制御部は、前記OCCを適用した前記物理上りリンク共有チャネルの繰り返しと、PRACH(Physical random access channel)又はSRS(Sounding Reference Signal)とが、時間領域でオーバラップする場合の処理を決定する端末。
続きを表示(約 900 文字)
【請求項2】
前記制御部は、前記OCCを適用した前記物理上りリンク共有チャネルの繰り返しと、前記PRACH又は前記SRSとが、時間領域でオーバラップする場合、前記PRACH又は前記SRSを送信しない請求項1記載の端末。
【請求項3】
前記制御部は、前記OCCを適用した前記物理上りリンク共有チャネルの繰り返しと、前記PRACHとが、時間領域でオーバラップする場合、前記OCCを適用した前記物理上りリンク共有チャネルの繰り返しすべてを送信しない請求項1記載の端末。
【請求項4】
前記制御部は、前記OCCを適用した前記物理上りリンク共有チャネルの繰り返しと、前記PRACH又は前記SRSとが、あるスロットでオーバラップする場合、前記スロット及び前記スロットと同一のOCCグループのスロットにおける前記物理上りリンク共有チャネルの繰り返しを送信しない請求項1記載の端末。
【請求項5】
前記制御部は、前記OCCがスロット間OCCである場合、前記OCCを適用した前記物理上りリンク共有チャネルの繰り返しと、前記PRACH又は前記SRSとが、時間領域でオーバラップする場合の処理を決定する請求項1記載の端末。
【請求項6】
DFT-s-OFDM(Discrete fourier transform spread Orthogonal Frequency Division Multiplexing)又はOFDMにより変調される物理上りリンク共有チャネルの繰り返しに適用するOCC(Orthogonal Cover Code)を決定する手順と、
前記OCCを適用した前記物理上りリンク共有チャネルの繰り返しを基地局に送信する手順と、
前記OCCを適用した前記物理上りリンク共有チャネルの繰り返しと、PRACH(Physical random access channel)又はSRS(Sounding Reference Signal)とが、時間領域でオーバラップする場合の処理を決定する手順とを端末が実行する通信方法。
発明の詳細な説明
【技術分野】
【0001】
本発明は、無線通信システムにおける端末及び通信方法に関する。
続きを表示(約 2,200 文字)
【背景技術】
【0002】
LTE(Long Term Evolution)の後継システムであるNR(New Radio)(「5G」ともいう。)においては、要求条件として、大容量のシステム、高速なデータ伝送速度、低遅延、多数の端末の同時接続、低コスト、省電力等を満たす技術が検討されている(例えば非特許文献1)。
【0003】
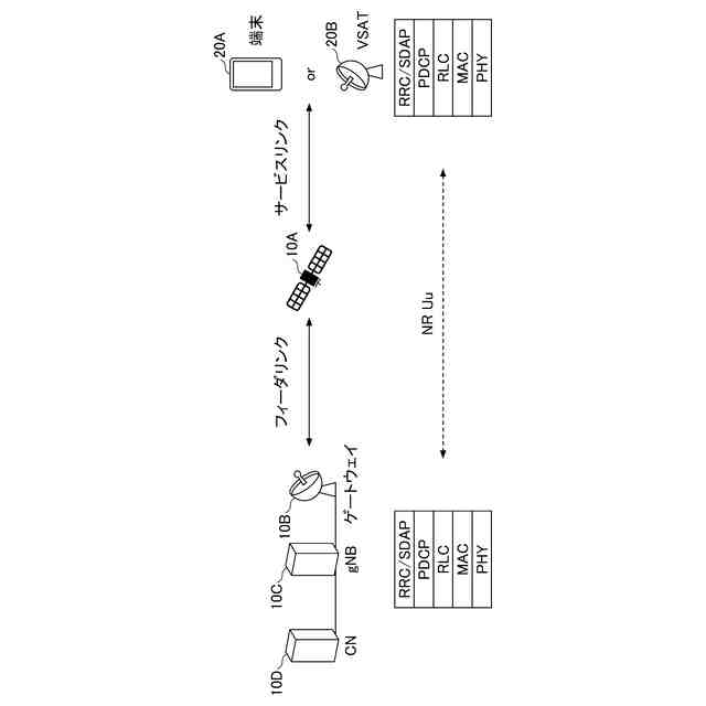
また現在、NTN(Non-Terrestrial Network)が検討されている。NTNとは、衛星等の非地上型ネットワークを使用して、地上型5Gネットワークでは主にコスト面でカバーできないエリアにサービスを提供するものである(例えば非特許文献2及び非特許文献3)。
【先行技術文献】
【非特許文献】
【0004】
3GPP TS 38.300 V18.3.0 (2024-09)
3GPP TR 38.821 V16.2.0 (2023-03)
小西 他,"HAPS移動通信システムにおける下りリンク周波数共用に関する一検討",電子情報通信学会総合大会,B-17-1,2020年
3GPP TS 38.211 V18.4.0 (2024-09)
3GPP TS 38.213 V18.4.0 (2024-09)
3GPP TS 38.214 V18.4.0 (2024-09)
3GPP TS 38.321 V18.3.0 (2024-09)
【発明の概要】
【発明が解決しようとする課題】
【0005】
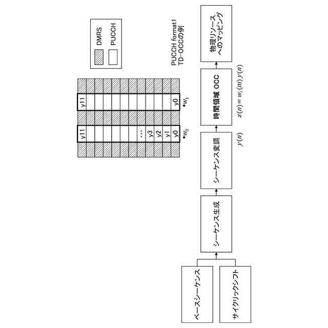
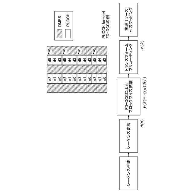
NTNでは、上空の基地局と端末間の距離が非常に大きく、基地局のリソースが限られるため、UL(Uplink)の容量及びスループットの強化が必要である。そこで、OCC(Orthogonal Cover Code)をDFT-s-OFDM(Discrete fourier transform spread Orthogonal Frequency Division Multiplexing)のPUSCH(Physical Uplink Shared Channel)に適用する手法が検討されている。
【0006】
本発明は上記の点に鑑みてなされたものであり、無線通信システムにおいて、上りリンクの容量を増大させることを目的とする。
【課題を解決するための手段】
【0007】
開示の技術によれば、DFT-s-OFDM(Discrete fourier transform spread Orthogonal Frequency Division Multiplexing)又はOFDMにより変調される物理上りリンク共有チャネルの繰り返しに適用するOCC(Orthogonal Cover Code)を決定する制御部と、前記OCCを適用した前記物理上りリンク共有チャネルの繰り返しを基地局に送信する送信部とを有し、前記制御部は、前記OCCを適用した前記物理上りリンク共有チャネルの繰り返しと、PRACH(Physical random access channel)又はSRS(Sounding Reference Signal)とが、時間領域でオーバラップする場合の処理を決定する端末が提供される。
【発明の効果】
【0008】
開示の技術によれば、無線通信システムにおいて、上りリンクの容量を増大させることができる。
【図面の簡単な説明】
【0009】
NTNの例(1)を示す図である。
NTNの例(2)を示す図である。
NTNの例(3)を示す図である。
NTNの例(4)を示す図である。
本発明の実施の形態におけるOCCの例(1)を示す図である。
本発明の実施の形態におけるOCCの例(2)を示す図である。
本発明の実施の形態におけるOCCの例(3)を示す図である。
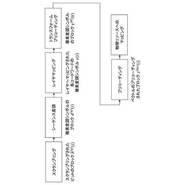
本発明の実施の形態におけるPUSCHの信号生成の例を示す図である。
本発明の実施の形態におけるOCCの適用例を説明するためのフローチャートである。
本発明の実施の形態におけるオーバラップ時の処理例を説明するためのフローチャートである。
本発明の実施の形態におけるオーバラップ時の処理例(1)を示す図である。
本発明の実施の形態におけるオーバラップ時の処理例(2)を示す図である。
本発明の実施の形態におけるオーバラップ時の処理例(3)を示す図である。
本発明の実施の形態におけるオーバラップ時の処理例(4)を示す図である。
本発明の実施の形態における基地局10の機能構成の一例を示す図である。
本発明の実施の形態における端末20の機能構成の一例を示す図である。
本発明の実施の形態における基地局10又は端末20のハードウェア構成の一例を示す図である。
本発明の実施の形態における車両2001の構成の一例を示す図である。
【発明を実施するための形態】
【0010】
以下、図面を参照して本発明の実施の形態を説明する。なお、以下で説明する実施の形態は一例であり、本発明が適用される実施の形態は、以下の実施の形態に限られない。
(【0011】以降は省略されています)
この特許をJ-PlatPat(特許庁公式サイト)で参照する
関連特許
株式会社NTTドコモ
端末
3日前
株式会社NTTドコモ
端末
3日前
株式会社NTTドコモ
端末
3日前
株式会社NTTドコモ
端末
3日前
株式会社NTTドコモ
基地局
3日前
株式会社NTTドコモ
デバイス
3日前
株式会社NTTドコモ
デバイス
3日前
株式会社NTTドコモ
デバイス
3日前
株式会社NTTドコモ
装置及び方法
1日前
株式会社NTTドコモ
基地局及び端末
3日前
株式会社NTTドコモ
端末及び基地局
3日前
株式会社NTTドコモ
端末及び基地局
3日前
株式会社NTTドコモ
端末及び基地局
3日前
株式会社NTTドコモ
基地局及び端末
3日前
株式会社NTTドコモ
端末及び通信方法
3日前
株式会社NTTドコモ
端末及び通信方法
3日前
株式会社NTTドコモ
端末及び通信方法
3日前
株式会社NTTドコモ
端末及び通信方法
3日前
株式会社NTTドコモ
端末及び通信方法
3日前
株式会社NTTドコモ
端末及び通信方法
3日前
株式会社NTTドコモ
端末及び通信方法
3日前
株式会社NTTドコモ
端末及び通信方法
3日前
株式会社NTTドコモ
端末及び通信方法
3日前
株式会社NTTドコモ
端末及び通信方法
3日前
株式会社NTTドコモ
端末及び通信方法
3日前
株式会社NTTドコモ
端末及び通信方法
3日前
株式会社NTTドコモ
端末及び通信方法
3日前
株式会社NTTドコモ
端末及び通信方法
3日前
株式会社NTTドコモ
端末及び通信方法
3日前
株式会社NTTドコモ
端末及び通信方法
3日前
株式会社NTTドコモ
端末及び通信方法
3日前
株式会社NTTドコモ
端末及び通信方法
3日前
株式会社NTTドコモ
端末及び通信方法
3日前
株式会社NTTドコモ
端末及び通信方法
3日前
株式会社NTTドコモ
端末及び通信方法
3日前
株式会社NTTドコモ
端末及び通信方法
3日前
続きを見る
他の特許を見る