TOP
|
特許
|
意匠
|
商標
特許ウォッチ
Twitter
他の特許を見る
10個以上の画像は省略されています。
公開番号
2025157118
公報種別
公開特許公報(A)
公開日
2025-10-15
出願番号
2025010790
出願日
2025-01-24
発明の名称
端末及び通信方法
出願人
株式会社NTTドコモ
代理人
弁理士法人ITOH
主分類
H04W
52/02 20090101AFI20251007BHJP(電気通信技術)
要約
【課題】無線通信システムにおいて、低電力信号をLP-WUR(Low power Wake up receiver)で受信すること。
【解決手段】端末は、低電力ウェイクアップ信号に係る周波数設定を基地局から受信する受信部と、前記低電力ウェイクアップ信号に係る周波数設定に基づいて、前記低電力ウェイクアップ信号をモニタリングし、前記低電力ウェイクアップ信号を受信した場合、前記低電力ウェイクアップ信号に関連付けられるページング機会をモニタリングする制御部とを有し、前記制御部は、前記低電力ウェイクアップ信号に係る周波数設定に基づいて、前記低電力ウェイクアップ信号を、MR(Main Radio)のバンド幅の内部又は外部でモニタリングする。
【選択図】図9
特許請求の範囲
【請求項1】
低電力ウェイクアップ信号に係る周波数設定を基地局から受信する受信部と、
前記低電力ウェイクアップ信号に係る周波数設定に基づいて、前記低電力ウェイクアップ信号をモニタリングし、前記低電力ウェイクアップ信号を受信した場合、前記低電力ウェイクアップ信号に関連付けられるページング機会をモニタリングする制御部とを有し、
前記制御部は、前記低電力ウェイクアップ信号に係る周波数設定に基づいて、前記低電力ウェイクアップ信号を、MR(Main Radio)のバンド幅の内部又は外部でモニタリングする端末。
続きを表示(約 790 文字)
【請求項2】
前記制御部は、前記低電力ウェイクアップ信号に係る周波数設定に基づいて、前記低電力ウェイクアップ信号をMRのバンド幅の中心、開始位置又は終了位置でモニタリングする請求項1記載の端末。
【請求項3】
前記制御部は、前記低電力ウェイクアップ信号に係る周波数設定に基づいて、MRバンド幅の内部の、前記低電力ウェイクアップ信号のサブグループIDから導出される周波数ギャップが適用される位置において、前記低電力ウェイクアップ信号をモニタリングする請求項1記載の端末。
【請求項4】
前記制御部は、前記低電力ウェイクアップ信号に係る周波数設定に基づいて、MRバンド幅の外部の、MRのバンド幅の開始位置又は終了位置に接する位置において、前記低電力ウェイクアップ信号をモニタリングする請求項1記載の端末。
【請求項5】
前記制御部は、前記低電力ウェイクアップ信号に係る周波数設定に基づいて、MRバンド幅の外部の、前記低電力ウェイクアップ信号のサブグループIDから導出される周波数ギャップが適用される位置において、前記低電力ウェイクアップ信号をモニタリングする請求項1記載の端末。
【請求項6】
低電力ウェイクアップ信号に係る周波数設定を基地局から受信する手順と、
前記低電力ウェイクアップ信号に係る周波数設定に基づいて、前記低電力ウェイクアップ信号をモニタリングし、前記低電力ウェイクアップ信号を受信した場合、前記低電力ウェイクアップ信号に関連付けられるページング機会をモニタリングする手順と、
前記低電力ウェイクアップ信号に係る周波数設定に基づいて、前記低電力ウェイクアップ信号を、MR(Main Radio)のバンド幅の内部又は外部でモニタリングする手順とを端末が実行する通信方法。
発明の詳細な説明
【技術分野】
【0001】
本発明は、無線通信システムにおける端末及び通信方法に関する。
続きを表示(約 2,200 文字)
【背景技術】
【0002】
3GPP(登録商標)(3rd Generation Partnership Project)では、システム容量の更なる大容量化、データ伝送速度の更なる高速化、無線区間における更なる低遅延化等を実現するために、5GあるいはNR(New Radio)と呼ばれる無線通信方式(以下、当該無線通信方式を「NR」という。)の検討が進んでいる。5Gでは、10Gbps以上のスループットを実現しつつ無線区間の遅延を1ms以下にするという要求条件を満たすために、様々な無線技術及びネットワークアーキテクチャの検討が行われている(例えば、非特許文献1及び非特許文献2)。
【先行技術文献】
【非特許文献】
【0003】
3GPP TS 38.300 V18.3.0 (2024-09)
3GPP TS 38.401 V18.3.0 (2024-09)
3GPP TS 38.304 V18.3.0 (2024-09)
3GPP TS 38.331 V18.3.0 (2024-09)
【発明の概要】
【発明が解決しようとする課題】
【0004】
3GPP Rel-19では、従来のWUS(Wake Up Signal)の消費電力をより低減することを目的として、超低消費電力なLP(Low Power)-WUS(Wake Up Signal)/WUR(Wake Up Receiver)と呼ばれる方式が検討されている。
【0005】
本発明は上記の点に鑑みてなされたものであり、無線通信システムにおいて、低電力信号をLP-WUR(Low power Wake up receiver)で受信することを目的とする。
【課題を解決するための手段】
【0006】
開示の技術によれば、低電力ウェイクアップ信号に係る周波数設定を基地局から受信する受信部と、前記低電力ウェイクアップ信号に係る周波数設定に基づいて、前記低電力ウェイクアップ信号をモニタリングし、前記低電力ウェイクアップ信号を受信した場合、前記低電力ウェイクアップ信号に関連付けられるページング機会をモニタリングする制御部とを有し、前記制御部は、前記低電力ウェイクアップ信号に係る周波数設定に基づいて、前記低電力ウェイクアップ信号を、MR(Main Radio)のバンド幅の内部又は外部でモニタリングする端末が提供される。
【発明の効果】
【0007】
開示の技術によれば、無線通信システムにおいて、低電力信号をLP-WUR(Low power Wake up receiver)で受信することができる。
【図面の簡単な説明】
【0008】
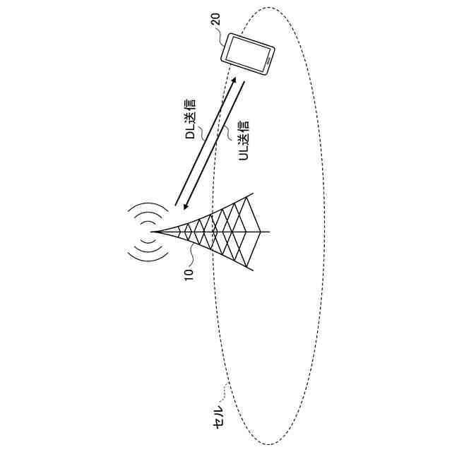
本発明の実施の形態における無線通信システムを説明するための図である。
本発明の実施の形態における無線通信システムを説明するための図である。
低電力信号を受信する例を説明するためのシーケンス図である。
低電力信号を受信する例(1)を説明するための図である。
低電力信号を受信する例(2)を説明するための図である。
低電力信号を受信する例(3)を説明するための図である。
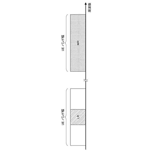
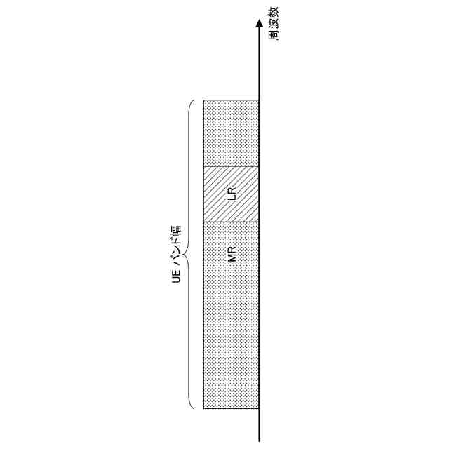
バンド運用の例(1)を説明するための図である。
バンド運用の例(2)を説明するための図である。
バンド運用の例(3)を説明するための図である。
本発明の実施の形態におけるLP-WUSの周波数設定の例(1)を示す図である。
本発明の実施の形態におけるLP-WUSの周波数設定の例(2)を示す図である。
本発明の実施の形態におけるLP-WUSの周波数設定の例(3)を示す図である。
本発明の実施の形態におけるLP-WUSの周波数設定の例(4)を示す図である。
本発明の実施の形態におけるLP-WUSの周波数設定の例(5)を示す図である。
本発明の実施の形態におけるLP-WUSの周波数設定の例(6)を示す図である。
本発明の実施の形態における基地局10の機能構成の一例を示す図である。
本発明の実施の形態における端末20の機能構成の一例を示す図である。
本発明の実施の形態における基地局10又は端末20のハードウェア構成の一例を示す図である。
本発明の実施の形態における車両2001の構成の一例を示す図である。
【発明を実施するための形態】
【0009】
以下、図面を参照して本発明の実施の形態を説明する。なお、以下で説明する実施の形態は一例であり、本発明が適用される実施の形態は、以下の実施の形態に限られない。
【0010】
本発明の実施の形態の無線通信システムの動作にあたっては、適宜、既存技術が使用される。ただし、当該既存技術は、例えば既存のLTEであるが、既存のLTEに限られない。また、本明細書で使用する用語「LTE」は、特に断らない限り、LTE-Advanced、及び、LTE-Advanced以降の方式(例:NR)を含む広い意味を有するものとする。
(【0011】以降は省略されています)
この特許をJ-PlatPat(特許庁公式サイト)で参照する
関連特許
株式会社NTTドコモ
端末
6日前
株式会社NTTドコモ
端末
6日前
株式会社NTTドコモ
端末
5日前
株式会社NTTドコモ
端末
5日前
株式会社NTTドコモ
端末
5日前
株式会社NTTドコモ
端末
5日前
株式会社NTTドコモ
端末
6日前
株式会社NTTドコモ
端末
6日前
株式会社NTTドコモ
端末
5日前
株式会社NTTドコモ
基地局
5日前
株式会社NTTドコモ
デバイス
5日前
株式会社NTTドコモ
デバイス
6日前
株式会社NTTドコモ
デバイス
5日前
株式会社NTTドコモ
デバイス
5日前
株式会社NTTドコモ
デバイス
6日前
株式会社NTTドコモ
デバイス
6日前
株式会社NTTドコモ
デバイス
6日前
株式会社NTTドコモ
端末及び方法
1か月前
株式会社NTTドコモ
リニアライザ
13日前
株式会社NTTドコモ
情報処理装置
12日前
株式会社NTTドコモ
装置及び方法
3日前
株式会社NTTドコモ
端末及び基地局
5日前
株式会社NTTドコモ
端末及び基地局
5日前
株式会社NTTドコモ
装置および方法
18日前
株式会社NTTドコモ
基地局及び端末
5日前
株式会社NTTドコモ
基地局及び端末
5日前
株式会社NTTドコモ
端末及び基地局
5日前
株式会社NTTドコモ
端末及び通信方法
6日前
株式会社NTTドコモ
端末及び通信方法
6日前
株式会社NTTドコモ
端末及び通信方法
6日前
株式会社NTTドコモ
端末及び通信方法
6日前
株式会社NTTドコモ
端末及び通信方法
6日前
株式会社NTTドコモ
端末及び通信方法
6日前
株式会社NTTドコモ
端末及び通信方法
6日前
株式会社NTTドコモ
端末及び通信方法
6日前
株式会社NTTドコモ
端末及び通信方法
6日前
続きを見る
他の特許を見る