TOP
|
特許
|
意匠
|
商標
特許ウォッチ
Twitter
他の特許を見る
公開番号
2025157349
公報種別
公開特許公報(A)
公開日
2025-10-15
出願番号
2025116826,2023166827
出願日
2025-07-10,2012-08-16
発明の名称
低温電子気化デバイスおよびその方法
出願人
ジュール・ラブズ・インコーポレイテッド
,
JUUL Labs, Inc.
代理人
アインゼル・フェリックス=ラインハルト
,
個人
,
個人
,
個人
主分類
A24F
40/50 20200101AFI20251007BHJP(たばこ;葉巻たばこ;紙巻たばこ;喫煙具)
要約
【課題】吸入可能なエアロゾルを生成するデバイスを提供する。
【解決手段】デバイス100は、吸入可能なエアロゾルを生成するように構成され、少なくともオンモードとスタンバイモードとのために構成されている、ヒーターと、加速度計または振動センサーの少なくとも一つを含む、前記デバイスの移動を検知するように構成されている、少なくとも一つのセンサーと、並びに、前記少なくとも一つのセンサーが前記デバイスの移動を検知することに基づいて、スタンバイモードからオンモードに変換するように構成されているコントローラとを備える。
【選択図】図1
特許請求の範囲
【請求項1】
吸入可能なエアロゾルを生成するデバイスであって、
吸入可能なエアロゾルを生成するように構成され、少なくともオンモードとスタンバイモードとのために構成されている、ヒーターと、
加速度計または振動センサーの少なくとも一つを含む、前記デバイスの移動を検知するように構成されている、少なくとも一つのセンサーと、
前記少なくとも一つのセンサーが前記デバイスの移動を検知することに基づいて、スタンバイモードからオンモードに変換するように構成されているコントローラと
を備える、デバイス。
続きを表示(約 1,100 文字)
【請求項2】
更に、前記コントローラは、前記少なくとも一つのセンサーにより検知される移動の欠如に基づいて、オンモードから、オフモード若しくはスタンバイモードに変換するように構成されている、請求項1に記載のデバイス。
【請求項3】
前記スタンバイモードにおけるヒーターの標的スタンバイ温度は、前記オンモードのための標的運転温度未満の約5℃と、当該標的運転温度未満の約30℃との間である、請求項2に記載のデバイス。
【請求項4】
更に、前記コントローラは、前記少なくとも一つのセンサーに基づいて、前記デバイスについての、動きのない時間の長さと、位置との、少なくとも一つを測定するように構成され、
更に、前記コントローラは、当該時間の長さと、当該位置との、少なくとも一つに基づいて、オンモードからスタンバイモードに変換するように構成されている、
請求項1に記載のデバイス。
【請求項5】
前記少なくとも一つのセンサーは、触覚センサーを含む、請求項1に記載のデバイス。
【請求項6】
前記オンモードにおけるヒーターの標的運転温度が固定されている、請求項1に記載のデバイス。
【請求項7】
前記オンモードにおけるヒーターの標的運転温度がユーザーによって選択自在である、請求項1に記載のデバイス。
【請求項8】
前記少なくとも一つのセンサーは、タッチセンサー式インタフェースを含み、
更に、前記コントローラは、
前記タッチセンサー式インタフェースの第1のユーザーのタッチに基づいて、オフモードからオンモードに変換し、
前記タッチセンサー式インタフェースの第2のユーザーのタッチに基づいて、スタンバイモードからオンモードに変換し、及び、
前記タッチセンサー式インタフェースの第3のユーザーのタッチに基づいて、オンモードからオフモードに変換する
ように構成されている、請求項1に記載のデバイス。
【請求項9】
前記タッチセンサー式インタフェースは、機械的スイッチ、触覚ボタン、及び容量センサーのうちの、少なくとも一つを含む、請求項8に記載のデバイス。
【請求項10】
更に、前記コントローラは、ヒーターの温度を調節するように構成され、
当該温度の調節は、
ヒーターのスタンバイモードの間に、第1の温度を適用すること、及び、
スタンバイモードの間に移動を検知する前記少なくとも一つのセンサーに応じて、第2の温度を適用すること
を含む、請求項1に記載のデバイス。
(【請求項11】以降は省略されています)
発明の詳細な説明
【技術分野】
【0001】
(相互参照)
本出願は、2011年8月16日に出願された米国仮特許出願第61/524,308号の優先権を主張し、その全体は引用によって本明細書に組み込まれる。
続きを表示(約 3,100 文字)
【背景技術】
【0002】
タバコ製品の使用と喫煙の有害な副作用は、世界中で注目を集め続けている。職場または公共の場での喫煙に関して多くの規定が施行されると、代替製品の開発に対する関心が著しく大きくなる。喫煙の有害な副作用を減らす1つの方法は、タバコ製品を燃やさないことである。これは、喫煙から得られるホフマン検体(Hoffman analytes)などの有害な検体の多くが、物質の燃焼によって摂取されるからである。
【先行技術文献】
【特許文献】
【0003】
米国出願第11/485,168号
米国特許第4,819,665号
米国特許第4,793,365号
米国特許第5,027,836号
国際出願WO2006/082571号
【発明の概要】
【発明が解決しようとする課題】
【0004】
エアロゾル化したタバコ製品を運ぶことができるデバイスを開発し販売することの難しさは、使用することの視覚的かつ物理的な魅力という点で、ユーザーに迎合しつつある。様々な異なる物質をエアロゾル化するために何度も使用可能で、一方で、目に見える蒸気などの喫煙の感覚と同じような感覚をユーザーに提供するデバイスが望ましい。タバコ製品をエアロゾル化することができ、喫煙と比較して、ユーザーに送達されるホフマン検体および突然変異誘発性物質を減らすことができるデバイスおよび製品が望ましい。
【課題を解決するための手段】
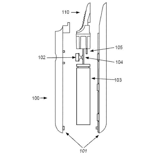
【0005】
吸入可能なエアロゾルを生成するためのデバイスが本明細書で提供され、該デバイスは以下を含む:吸い口、本体部;吸入可能なエアロゾルを生成するべく粘着性の気化可能な材料を加熱するためにプリント回路基板を含む、前記本体部内の電子ヒーター;および、温度調節器。吸入可能なエアロゾルは、約2ミクロン未満の粒子(長さ、幅、深さに関係なく、その最長寸法で)を含むポッド、または、ほぐれた葉タバコおよび他の植物製品(ポッドはない)を収容することができる。
【0006】
1つの態様では、抵抗発熱体と、蒸発温度をモニタし正確に制御するためのサーミスタが、材料をエアロゾル化するためのデバイスでの使用のために開示される。幾つかの実施形態では、発熱体は、電子ヒーターを駆動させるためのパワートランジスタを備えた電子回路を含む。特定の実施形態では、電子回路の尾部(tail)は、PCB(プリント回路基板)とはんだ付けされる。幾つかの実施形態では、デバイスは、効率および低露出面温度を維持するために、エアロゲル絶縁体を含む。特定の実施形態では、エアロゲルは、強化繊維(例えば、Pyrogel 2250 フレキシブルエアロゲルブランケット)を備えたシリカエアロゲルである。幾つかの実施形態では、デバイスは単一のボタン・インタフェースを含み、単一のボタン・インタフェースは、オンにする、オフにする、および、スリープから起こすための手段を提供する。
【0007】
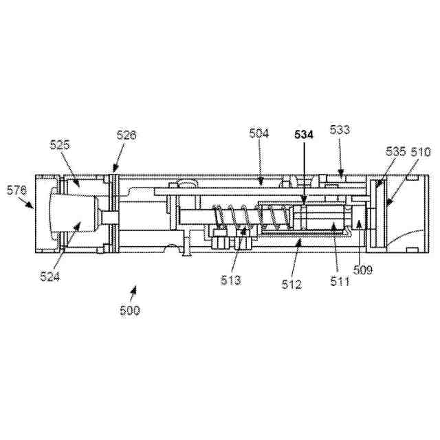
幾つかの実施形態では、電子ヒーターは、ポリイミド薄膜(「flex」)プリントヒーター回路(heater circuit)(同様に/代替的にフレキシブルヒータ回路と呼ぶ)を含む。特定の実施形態において、制御ループのためにはんだ付けしたサーミスタ素子を含む電子ヒーターが提供される。特定の実施形態では、デバイスは、運転温度を制御するためにPID(比例・積分・微分の)制御ループを含む。
【0008】
幾つかの実施形態において、デバイスは、磁荷コネクタ(magnetic charge connector)を含む。幾つかの実施形態では、デバイスは、バッテリーを節約するために、時間またはセンサーベースのスタンバイ起動部(stanby actication)を含む。これも同様に/代替的にスタンバイモードと呼ばれることもある。特定の実施形態において、検知手段は、加速度計または他の触覚/振動センサー、容量(タッチ)センサー、または、デバイスを吹かすユーザーによってヒーターが装填されているかどうか検知するためにサーミスタをモニタすることを含む。
【0009】
幾つかの実施形態では、ヒーターは金属ヒーターであり、ヒーターの部品はヒートステークされ、超音波接合され、または、オーバーモールドされ、高温に対応するプラスチック部品になる。そのプロセスはハーメチックシールまたはダストシールを形成する。幾つかの実施形態では、分離した吸い口設計が、材料をエアロゾル化するデバイスでの使用について開示されている。分離した吸い口の半分は除去可能であり、デバイスの外形に一致する。幾つかの実施形態では、吸い口は、希土類磁石を用いてデバイスの本体部に取り付けられる。幾つかの実施形態では、吸い口は、プラスチックの戻り止めまたは他の同様の機構で本体部に取り付けられる。他の実施形態では、吸い口は、ヒンジまたは他の機構(例えば、紐など)を用いてデバイスと一体化する。特定の実施形態では、吸い口は、加熱チャンバーを見えるようにするために、回転するまたはスライドする。特定の実施形態では、吸い口は、掃除または交換のために取り付け機構から完全に分離されるが、デバイスには再度接続する(「取り外し可能なように捕らえられる」)。
【0010】
別の態様において、ほぐれた葉タバコおよび/または他の植物製品とともに使用するための電子による独立型の気化器デバイスが提供される。幾つかの実施形態では、デバイスは、プッシュプッシュ(push-push)機構を備えた前記デバイスから引っ込められる吸い口を含む。幾つかの実施形態では、プッシュプッシュ機構も、吸い口に埋め込まれた磁石とPCB(プリント回路基板)の上のホール効果センサーによって、デバイスを回転させる。特定の実施形態では、吸い口は、圧縮ばね、板ばね、および、キャッチ用溝(catch groove)とトグルスライダ(toggle slider)で吸い口に取り付けられたステンレス鋼管を含む。幾つかの実施形態では、デバイスは、リードまたはホール効果スイッチを用いる、磁気オン・オフ制御部を含む。特定の実施形態では、磁気制御部は、追加のボタンを除去するために吸い口に一体化される。幾つかの実施形態では、吸い口は、吸い口の引っ張りおよび/または引っ込みのためにプッシュプッシュ機構を適合させる。幾つかの実施形態では、デバイスは、気化チャンバーを覆うための磁石の蓋を含む。幾つかの実施形態では、デバイスは、余剰な熱を分配し、かつ低露出面温度を維持するために、熱伝導性のシェルを含む。幾つかの実施形態では、デバイスは、視覚式の、可聴式のインジケータ、および/または、他の体感出力(例えば振動)を含むボタン作動型の温度選択部を含む。幾つかの実施形態では、吸い口は、ヒンジまたは他の機構(例えば、紐など)を用いてデバイスと一体化する。幾つかの実施形態では、気化デバイスは薄壁金属加熱チャンバーを含む。薄壁は低熱量とゆえに迅速な始動を可能にする。幾つかの実施形態では、デバイスは、蓋が偶然開くのを防ぐべく蓋をその閉位置に留めるために、磁石取り付け具またはスナップ取り付け具を用いる傾斜した蓋を含む。傾斜した蓋には目に見える取り外しボタンがない。
(【0011】以降は省略されています)
この特許をJ-PlatPat(特許庁公式サイト)で参照する
関連特許
個人
ヒートスティック除去具
3か月前
日本たばこ産業株式会社
香味吸引物品
1か月前
個人
電子タバコの加熱素子
3か月前
日本たばこ産業株式会社
香味発生物品
1か月前
日本たばこ産業株式会社
喫煙システム
2か月前
日本たばこ産業株式会社
口腔用組成物
2か月前
個人
フレーバ用ブースター器具およびシーシャ装置
3か月前
東莞市佳かい精密金属制品有限公司
充電可能な電子タバコケース
3か月前
日本たばこ産業株式会社
香味吸引システム
2か月前
日本たばこ産業株式会社
香味吸引システム
2か月前
Future Technology株式会社
エアロゾル吸引カートリッジ
1か月前
エム・クリエイト株式会社
灰皿装置及び灰皿管理システム
4か月前
日本たばこ産業株式会社
低香味原料を含むたばこセグメント
1か月前
日本たばこ産業株式会社
非燃焼加熱型香味吸引物品用フィルタ
5か月前
日本たばこ産業株式会社
粒状再生セルロースを含有する口腔用組成物
2か月前
日本たばこ産業株式会社
香味発生物品および香味吸引システム
2か月前
日本たばこ産業株式会社
電子装置
2か月前
日本たばこ産業株式会社
吸引器
2か月前
Future Technology株式会社
喫煙器具
1か月前
Future Technology株式会社
芳香基材
3か月前
日本たばこ産業株式会社
たばこ材料、その製造方法、および非燃焼加熱型喫煙物品
1か月前
Future Technology株式会社
芳香カートリッジ
3か月前
Future Technology株式会社
芳香カートリッジ
5日前
Future Technology株式会社
芳香カートリッジ
4か月前
Future Technology株式会社
芳香カートリッジ
3か月前
Future Technology株式会社
タバコ充填物集積体
1か月前
Future Technology株式会社
喫煙具用カートリッジ
2か月前
Future Technology株式会社
喫煙具用カートリッジ
1か月前
Future Technology株式会社
喫煙具用カートリッジ
2か月前
Future Technology株式会社
喫煙具用カートリッジ
19日前
Future Technology株式会社
喫煙具用カートリッジ
3か月前
Future Technology株式会社
喫煙具用カートリッジ
3か月前
Future Technology株式会社
喫煙具用カートリッジ
3か月前
Future Technology株式会社
喫煙具用カートリッジ
1か月前
日本たばこ産業株式会社
たばこ用の組成物
4か月前
Future Technology株式会社
喫煙具用カートリッジ
2か月前
続きを見る
他の特許を見る