TOP
|
特許
|
意匠
|
商標
特許ウォッチ
Twitter
他の特許を見る
10個以上の画像は省略されています。
公開番号
2025157444
公報種別
公開特許公報(A)
公開日
2025-10-15
出願番号
2025121079,2021577538
出願日
2025-07-18,2020-07-03
発明の名称
複数の温度プロファイルで誘導加熱エアロゾル発生システムを動作させる方法
出願人
フィリップ・モーリス・プロダクツ・ソシエテ・アノニム
代理人
個人
,
個人
,
個人
,
個人
,
個人
,
個人
,
個人
,
個人
主分類
A24F
40/465 20200101AFI20251007BHJP(たばこ;葉巻たばこ;紙巻たばこ;喫煙具)
要約
【課題】エアロゾル発生システムを制御する方法、エアロゾル発生システム、およびエアロゾル発生システムのためのエアロゾル発生装置を提供する。
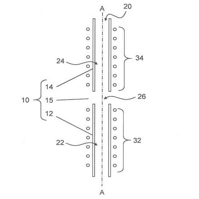
【解決手段】エアロゾル発生システムの誘導加熱配設は、エアロゾル形成基体を加熱するために変動する磁界の透過によって加熱可能な少なくとも一つのサセプタ12、14を含む、誘導発熱体10と、第一のインダクタコイル32と、第二のインダクタコイル34とを含む。第一のインダクタコイルが誘導発熱体の第一の部分を加熱する第一の変動する磁界を発生するように、第一のインダクタコイル内に第一の変動する電流を駆動し、第一の動作温度プロファイルに従って、誘導発熱体の第一の部分の温度を初期温度から上昇させるように、第一の変動する電流を制御する。
【選択図】図1
特許請求の範囲
【請求項1】
エアロゾル発生システムを制御する方法であって、前記システムが、
エアロゾル形成基体を加熱するように構成された誘導加熱配設であって、
エアロゾル形成基体を加熱するために変動する磁界の透過によって加熱可能な少なくとも一つのサセプタを含む、誘導発熱体、
第一のインダクタコイル、および、
第二のインダクタコイル、を含む、誘導加熱配設と、
前記誘導加熱配設に電力を供給するように構成された電源と、を備え、
前記方法が、
前記第一のインダクタコイルが前記誘導発熱体の第一の部分を加熱する第一の変動する磁界を発生するように、前記第一のインダクタコイル内に第一の変動する電流を駆動し、第一の動作温度プロファイルに従って、前記誘導発熱体の前記第一の部分の温度を初期温度から上昇させるように、前記第一の変動する電流を制御することと、
前記第二のインダクタコイルが前記誘導発熱体の第二の部分を加熱する第二の変動する磁界を発生するように、前記第二のインダクタコイル内に第二の変動する電流を駆動し、第二の動作温度プロファイルに従って、前記誘導発熱体の前記第二の部分の温度を初期温度から上昇させるように、前記第二の変動する電流を制御することと、を含み、
前記第二の動作温度プロファイルが、前記第一の動作温度プロファイルとは異なる、方法。
続きを表示(約 790 文字)
【請求項2】
前記第一の動作温度プロファイルが、時間と共に変化する、請求項1に記載の方法。
【請求項3】
前記第二の動作温度プロファイルが、時間と共に変化する、請求項1または2に記載の方法。
【請求項4】
前記第一の変動する電流および前記第二の変動する電流が、
第一の段階で、前記第一の変動する電流が前記第一のインダクタコイルに供給され、
第二の段階で、前記第二の変動する電流が前記第二のコイルに供給されるように制御される、請求項1~3のいずれか一項に記載の方法。
【請求項5】
前記第一の段階の少なくとも一部分では、前記第一の動作温度プロファイルが、前記第二の動作温度プロファイルよりも大きい、請求項4に記載の方法。
【請求項6】
前記第一の段階の少なくとも一部分では、前記第一の動作温度プロファイルが、前記第二の動作温度プロファイルよりも少なくとも摂氏約50度だけ大きい、請求項5に記載の方法。
【請求項7】
前記第一の動作温度プロファイルが、前記第一の段階全体を通して、前記第二の動作温度プロファイルよりも大きい、請求項5または6に記載の方法。
【請求項8】
前記第二の段階の少なくとも一部分では、前記第二の動作温度プロファイルが、前記第一の動作温度プロファイルよりも大きい、請求項4~7のいずれか一項に記載の方法。
【請求項9】
前記第二の段階では、前記第二の動作温度プロファイルが、前記第一の動作温度プロファイルよりも摂氏約50度以下だけ大きい、請求項7に記載の方法。
【請求項10】
前記第一の段階が、所定の持続時間を有する、請求項4~9のいずれか一項に記載の方法。
(【請求項11】以降は省略されています)
発明の詳細な説明
【技術分野】
【0001】
本開示は、誘導加熱配設を有するエアロゾル発生システムを制御する方法、誘導加熱配設を有するエアロゾル発生システム、および誘導加熱配設を有するエアロゾル発生装置に関する。
続きを表示(約 3,000 文字)
【背景技術】
【0002】
たばこプラグなどのエアロゾル形成基体を加熱するために電気ヒーターを有するエアロゾル発生装置が使用される数多くの電気的に作動するエアロゾル発生システムが、当該技術分野において提唱されてきた。こうしたエアロゾル発生システムの一つの目的は、従来の紙巻たばこにおけるたばこの燃焼および熱分解によって生成されるタイプの周知の有害な煙成分を減少させることである。典型的に、エアロゾル発生基体は、エアロゾル発生装置の空洞の中に挿入されるエアロゾル発生物品の一部として提供される。一部の周知のシステムにおいて、エアロゾルを形成することができる揮発性成分を放出することが可能な温度にエアロゾル形成基体を加熱するために、加熱ブレードなどの抵抗発熱体は、物品がエアロゾル発生装置内に受容されている時にエアロゾル形成基体の中に、またはその周りに挿入される。他のエアロゾル発生システムにおいて、抵抗発熱体ではなく誘導ヒーターが使用されている。誘導ヒーターは典型的に、エアロゾル発生装置の一部を形成するインダクタコイルと、エアロゾル形成基体と熱的に近接するように配設されたサセプタとを備える。インダクタは変動する磁界を発生して、サセプタ内に渦電流およびヒステリシス損失を発生させ、サセプタを加熱し、それによってエアロゾル形成基体を加熱する。誘導加熱は、ヒーターをエアロゾル発生物品に露出することなく、エアロゾルを発生することを可能にする。これは、ヒーターが洗浄されうる容易さを改善することができる。
【0003】
一部の公知のエアロゾル発生装置は、複数のインダクタコイルを備え、各インダクタコイルは、サセプタの異なる部分を加熱するように配設されている。こうしたエアロゾル発生装置は、異なる時間で、または異なる温度にエアロゾル発生物品の異なる部分を加熱するために使用され得る。しかしながら、こうしたエアロゾル発生装置において、エアロゾル発生物品の隣接する部分も間接的に加熱することなく、エアロゾル発生物品の一つの部分を加熱することは困難であり得る。
【0004】
周知のシステムでのこれらの問題を軽減または克服するエアロゾル発生装置を提供することが望ましいことになる。
【発明の概要】
【0005】
本開示によると、エアロゾル発生システムを制御する方法が提供されている。エアロゾル発生システムは、エアロゾル形成基体を加熱するように構成された誘導加熱配設と、誘導加熱配設に電力を供給するように構成された電源とを備える。誘導加熱配設は、エアロゾル形成基体を加熱するために変動する磁界の透過によって加熱可能な少なくとも一つのサセプタを含む、誘導発熱体と、第一のインダクタコイルと、第二のインダクタコイルとを含む。方法は、第一のインダクタコイルが誘導発熱体の第一の部分を加熱する第一の変動する磁界を発生するように、第一のインダクタコイル内に第一の変動する電流を駆動し、第一の動作温度プロファイルに従って、誘導発熱体の第一の部分の温度を初期温度から上昇させるように、第一の変動する電流を制御することを含む。方法はさらに、第二のインダクタコイルが誘導発熱体の第二の部分を加熱する第二の変動する磁界を発生するように、第二のインダクタコイル内に第二の変動する電流を駆動し、第二の動作温度プロファイルに従って、誘導発熱体の第二の部分の温度を初期温度から上昇させるように、第二の変動する電流を制御することを含む。第二の動作温度プロファイルは、第一の動作温度プロファイルとは異なる。
【0006】
本開示では、第一の変動する電流は、第一の温度プロファイルに従って、誘導発熱体の第一の部分の温度を初期温度から上昇させるように制御される。第一の温度プロファイルは、誘導発熱体の第一の部分の経時的な所定の所望の温度である。任意の所与の時点において、誘導発熱体の第一の部分の実際の温度が、その時点の第一の温度プロファイルの温度とは異なる場合、第一の変動する電流は、誘導発熱体の第一の部分の温度を、その時点において第一の温度プロファイルによって指定される温度に調整するように調整される。
【0007】
同様に、第二の変動する電流は、第二の温度プロファイルに従って、誘導発熱体の第二の部分の温度を初期温度から上昇させるように制御される。第二の温度プロファイルは、誘導発熱体の第二の部分の経時的な所定の所望の温度である。任意の所与の時点において、誘導発熱体の第二の部分の実際の温度が、その時点の第二の温度プロファイルの温度とは異なる場合、第二の変動する電流は、誘導発熱体の第二の部分の温度を、その時点において第二の温度プロファイルによって指定される温度に調整するように調整される。
【0008】
有利なことに、エアロゾル形成基体の異なる部分を異なる温度プロファイルで加熱することにより、特に望ましい特性を有するエアロゾルを発生することが可能になり得る。有利なことに、エアロゾル形成基体の異なる部分を異なる温度プロファイルで加熱することにより、特に図9を参照して以下でより詳細に説明するように、エアロゾル形成基体の一部分が同じ温度に加熱される場合よりも、望ましい特性を有するエアロゾルをより長期間発生することが可能になり得る。
【0009】
本開示によると、エアロゾル発生システムが提供されている。エアロゾル発生システムは、エアロゾル形成基体、エアロゾル形成基体を加熱するように構成された誘導加熱配設、誘導加熱配設に電力を供給するように構成された電源、およびコントローラを備える。誘導加熱配設は、エアロゾル形成基体を加熱するために変動する磁界の透過によって加熱可能な少なくとも一つのサセプタを含む、誘導発熱体と、第一のインダクタコイルと、第二のインダクタコイルとを含む。コントローラは、上述の方法工程を実施するように構成されている。
【0010】
具体的には、本開示によると、エアロゾル形成基体、エアロゾル形成基体を加熱するように構成された誘導加熱配設、誘導加熱配設に電力を供給するように構成された電源、およびコントローラを備える、エアロゾル発生システムが提供されている。誘導加熱配設は、エアロゾル形成基体を加熱するために変動する磁界の透過によって加熱可能な少なくとも一つのサセプタを含む、誘導発熱体と、第一のインダクタコイルと、第二のインダクタコイルとを含む。コントローラは、誘導発熱体の第一の部分を加熱するための第一の変動する磁界を発生するように、第一のインダクタコイル内に第一の変動する電流を駆動し、第一の動作温度プロファイルに従って、誘導発熱体の第一の部分の温度を初期温度から上昇させるように、第一の変動する電流を制御するように構成されている。コントローラは、誘導発熱体の第二の部分を加熱するための第二の変動する磁界を発生するように、第二のインダクタコイル内に第二の変動する電流を駆動し、第二の動作温度プロファイルに従って、誘導発熱体の第二の部分の温度を初期温度から上昇させるように、第二の変動する電流を制御するように構成されている。第二の動作温度プロファイルは、第一の動作温度プロファイルとは異なる。
(【0011】以降は省略されています)
この特許をJ-PlatPat(特許庁公式サイト)で参照する
関連特許
個人
ヒートスティック除去具
3か月前
日本たばこ産業株式会社
香味吸引物品
1か月前
個人
電子タバコの加熱素子
3か月前
日本たばこ産業株式会社
喫煙システム
2か月前
日本たばこ産業株式会社
香味発生物品
1か月前
個人
フレーバ用ブースター器具およびシーシャ装置
3か月前
日本たばこ産業株式会社
口腔用組成物
2か月前
東莞市佳かい精密金属制品有限公司
充電可能な電子タバコケース
3か月前
Future Technology株式会社
エアロゾル吸引カートリッジ
1か月前
日本たばこ産業株式会社
香味吸引システム
2か月前
日本たばこ産業株式会社
香味吸引システム
2か月前
日本たばこ産業株式会社
低香味原料を含むたばこセグメント
1か月前
日本たばこ産業株式会社
香味発生物品および香味吸引システム
2か月前
日本たばこ産業株式会社
粒状再生セルロースを含有する口腔用組成物
2か月前
日本たばこ産業株式会社
電子装置
3か月前
Future Technology株式会社
芳香基材
3か月前
Future Technology株式会社
喫煙器具
1か月前
日本たばこ産業株式会社
吸引器
2か月前
日本たばこ産業株式会社
たばこ材料、その製造方法、および非燃焼加熱型喫煙物品
1か月前
Future Technology株式会社
芳香カートリッジ
9日前
Future Technology株式会社
芳香カートリッジ
3か月前
Future Technology株式会社
芳香カートリッジ
3か月前
Future Technology株式会社
タバコ充填物集積体
1か月前
Future Technology株式会社
喫煙具用カートリッジ
3か月前
Future Technology株式会社
喫煙具用カートリッジ
3か月前
Future Technology株式会社
喫煙具用カートリッジ
3か月前
Future Technology株式会社
喫煙具用カートリッジ
3か月前
Future Technology株式会社
喫煙具用カートリッジ
23日前
Future Technology株式会社
喫煙具用カートリッジ
2か月前
Future Technology株式会社
喫煙具用カートリッジ
2か月前
Future Technology株式会社
喫煙具用カートリッジ
2か月前
Future Technology株式会社
喫煙具用カートリッジ
1か月前
Future Technology株式会社
電子タバコカートリッジ
今日
Future Technology株式会社
電子タバコカートリッジ
1か月前
Future Technology株式会社
電子タバコカートリッジ
2か月前
Future Technology株式会社
電子タバコカートリッジ
1か月前
続きを見る
他の特許を見る