TOP
|
特許
|
意匠
|
商標
特許ウォッチ
Twitter
他の特許を見る
10個以上の画像は省略されています。
公開番号
2025157447
公報種別
公開特許公報(A)
公開日
2025-10-15
出願番号
2025121159,2023547220
出願日
2025-07-18,2022-03-11
発明の名称
送達システムのための構成要素、並びに送達システムのための構成要素を製造するための方法及び装置
出願人
ニコベンチャーズ トレーディング リミテッド
,
Nicoventures Trading Limited
代理人
個人
,
個人
,
個人
,
個人
主分類
A24D
3/04 20060101AFI20251007BHJP(たばこ;葉巻たばこ;紙巻たばこ;喫煙具)
要約
【課題】送達システムのための構成要素に関する。
【解決手段】構成要素3は、材料のシート10から形成された本体と、前記本体内の空間8内に保持された少なくとも1つの物体11とを備える。前記シート材料は、前記空間の境界を少なくとも部分的に画定する第1の内縁部を含む。本開示はまた、送達システムの構成要素を製造する方法と、送達システムの構成要素を製造するための装置とに関する。本開示はまた、複数の構成要素を形成するために少なくとも1回切断されるように構成されたロッドと、構成要素を備える送達システムとに関する。
【選択図】図2
特許請求の範囲
【請求項1】
実質的に明細書本文に記載し図面に示した通りの構成要素。
発明の詳細な説明
【技術分野】
【0001】
本開示は、送達システムのための構成要素と、この構成要素を備える送達システムとに関する。本開示は、送達システムのための構成要素を製造するための方法及び装置にも関する。
続きを表示(約 850 文字)
【背景技術】
【0002】
香味料を含有するカプセルを有するシガレットを提供することが当該技術分野において既知である。使用中、ユーザーは、カプセルを破壊して、シガレットを通って流れる煙の中に香味料を放出することができる。したがって、ユーザーは、香味料を選択的に煙に加えることができる。
【発明の概要】
【0003】
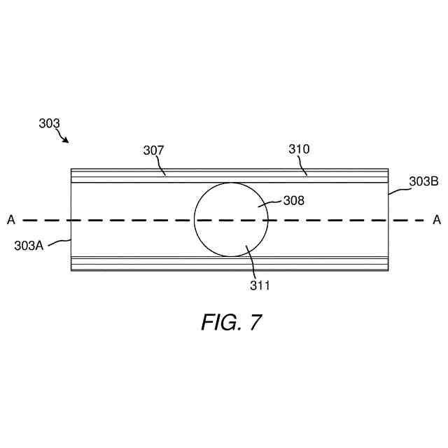
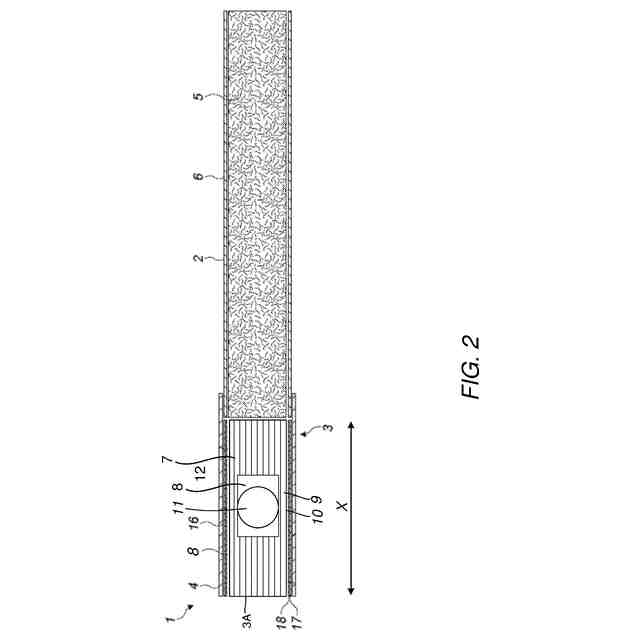
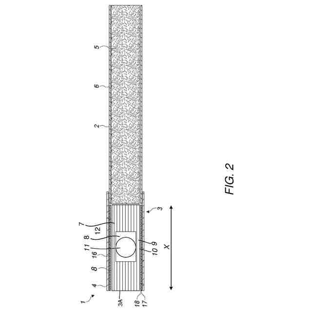
本明細書に記載のいくつかの実施形態によれば、送達システムのための構成要素であって、材料のシートから形成された本体と、本体内の空間に保持された少なくとも1つの物体とを備え、シート材料が、空間の境界を少なくとも部分的に画定する第1の内縁部を含む、構成要素が提供される。
【0004】
いくつかの実施形態において、第1の内縁部はシート材料の切断縁である。
【0005】
いくつかの実施形態において、シート材料は、第1の内縁部を形成するスリットを含む。
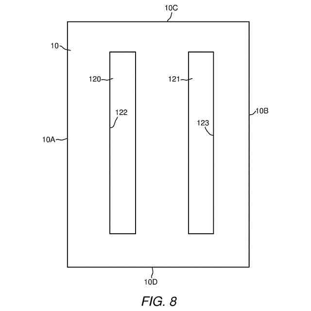
【0006】
いくつかの実施形態において、シート材料はシート材料内にアパーチャー(開口)を含み、アパーチャーの縁部はシート材料の第1の内縁部を含み、好ましくは、アパーチャーは実質的に矩形である。
【0007】
いくつかの実施形態において、アパーチャーはシート材料における切欠きである。
【0008】
いくつかの実施形態において、第1の内縁部は連続している。他の実施形態において、第1の内縁部は断続的であり、シート材料の1つ又は複数の中間部分が介在する。
【0009】
いくつかの実施形態において、シート材料がシート材料の軸線方向の端部に第1及び第2の外縁部を備え、第1の内縁部が第1及び/又は第2の外縁部に実質的に平行である。
【0010】
いくつかの実施形態において、第1の内縁部は、少なくとも1つの物体が空間から出るのに抵抗するように構成される。
(【0011】以降は省略されています)
この特許をJ-PlatPat(特許庁公式サイト)で参照する
関連特許
個人
ヒートスティック除去具
3か月前
日本たばこ産業株式会社
香味吸引物品
1か月前
個人
電子タバコの加熱素子
3か月前
日本たばこ産業株式会社
口腔用組成物
2か月前
日本たばこ産業株式会社
喫煙システム
2か月前
個人
フレーバ用ブースター器具およびシーシャ装置
3か月前
日本たばこ産業株式会社
香味発生物品
1か月前
東莞市佳かい精密金属制品有限公司
充電可能な電子タバコケース
3か月前
日本たばこ産業株式会社
香味吸引システム
2か月前
Future Technology株式会社
エアロゾル吸引カートリッジ
1か月前
日本たばこ産業株式会社
香味吸引システム
2か月前
エム・クリエイト株式会社
灰皿装置及び灰皿管理システム
4か月前
日本たばこ産業株式会社
低香味原料を含むたばこセグメント
1か月前
日本たばこ産業株式会社
香味発生物品および香味吸引システム
2か月前
日本たばこ産業株式会社
粒状再生セルロースを含有する口腔用組成物
2か月前
日本たばこ産業株式会社
電子装置
2か月前
日本たばこ産業株式会社
吸引器
2か月前
Future Technology株式会社
芳香基材
3か月前
Future Technology株式会社
喫煙器具
1か月前
日本たばこ産業株式会社
たばこ材料、その製造方法、および非燃焼加熱型喫煙物品
1か月前
Future Technology株式会社
芳香カートリッジ
3か月前
Future Technology株式会社
芳香カートリッジ
3か月前
Future Technology株式会社
芳香カートリッジ
5日前
Future Technology株式会社
タバコ充填物集積体
1か月前
Future Technology株式会社
喫煙具用カートリッジ
2か月前
Future Technology株式会社
喫煙具用カートリッジ
3か月前
Future Technology株式会社
喫煙具用カートリッジ
2か月前
Future Technology株式会社
喫煙具用カートリッジ
3か月前
Future Technology株式会社
喫煙具用カートリッジ
1か月前
Future Technology株式会社
喫煙具用カートリッジ
2か月前
Future Technology株式会社
喫煙具用カートリッジ
3か月前
Future Technology株式会社
喫煙具用カートリッジ
19日前
Future Technology株式会社
喫煙具用カートリッジ
1か月前
Future Technology株式会社
被加熱芳香カートリッジ
1か月前
Future Technology株式会社
電子タバコカートリッジ
1か月前
Future Technology株式会社
電子タバコカートリッジ
1か月前
続きを見る
他の特許を見る