TOP
|
特許
|
意匠
|
商標
特許ウォッチ
Twitter
他の特許を見る
10個以上の画像は省略されています。
公開番号
2025157496
公報種別
公開特許公報(A)
公開日
2025-10-15
出願番号
2025123103,2023570411
出願日
2025-07-23,2022-05-19
発明の名称
エアロゾル生成装置
出願人
ケーティー アンド ジー コーポレイション
代理人
個人
,
個人
,
個人
,
個人
主分類
A24F
40/53 20200101AFI20251007BHJP(たばこ;葉巻たばこ;紙巻たばこ;喫煙具)
要約
【課題】エアロゾル生成装置を提供する。
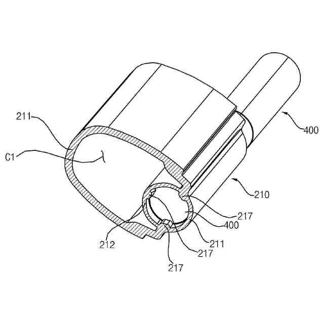
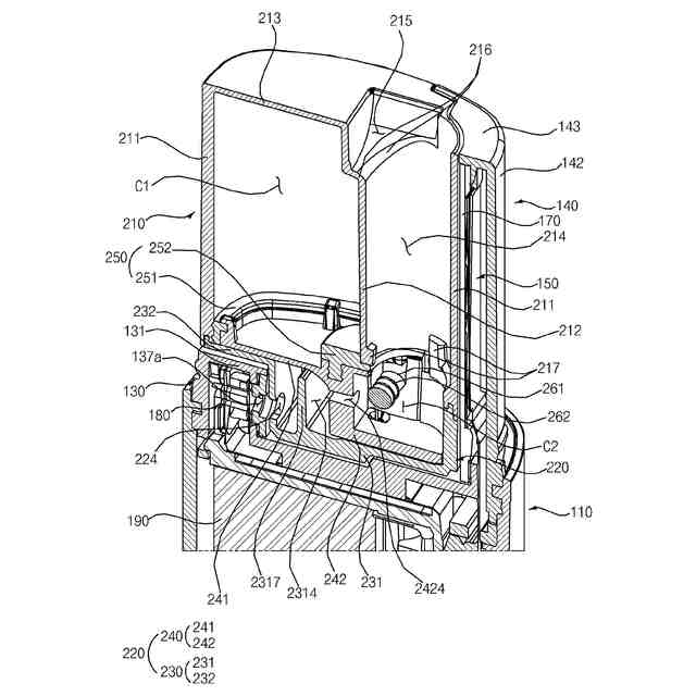
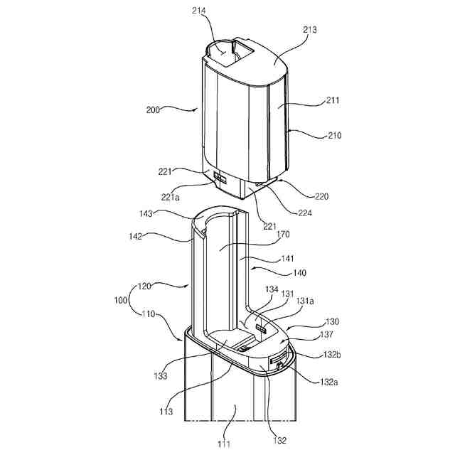
【解決手段】エアロゾル生成装置は、長く延びた挿入空間214が形成されたカートリッジ200と、前記カートリッジと結合されるボディー100と、前記ボディーに結合された前記カートリッジの前記挿入空間に隣接して前記ボディー内に配置されるセンサーと、制御部と、を含む。前記センサーは、前記カートリッジに結合された前記カートリッジの前記挿入空間に向けて光を照射するセンサー光源と、入射する光に反応するフォトダイオードと、を含む。前記制御部は、前記センサー光源が前記光を照射するように制御し、前記フォトダイオードから受信する信号に基づいて、前記挿入空間に物体が挿入されるかを判断し、前記挿入空間に前記物体が挿入された場合、前記フォトダイオードから受信する信号に基づいて、前記挿入空間に挿入された物体がスティックであるかを判断する。
【選択図】図1
特許請求の範囲
【請求項1】
ボディーと、
前記ボディーに結合され、長い挿入空間を有するカートリッジと、
前記カートリッジが前記ボディーに結合されたとき、前記カートリッジの前記挿入空間
に隣接して前記ボディー内に配置されるセンサーと、
制御部と、を含み、
前記センサーは、
前記カートリッジの前記挿入空間に向けて光を照射するセンサー光源と、
入射光に反応するフォトダイオードと、を含み、
前記制御部は、
前記センサー光源が前記光を照射するように制御し、
前記フォトダイオードから受信する信号に基づいて、前記挿入空間に物体が挿入された
と判断し、
前記フォトダイオードから受信する信号に基づいて、前記挿入空間に挿入された物体が
スティックであるかを判断することを特徴とする、エアロゾル生成装置。
続きを表示(約 1,700 文字)
【請求項2】
前記カートリッジは、
液体を貯蔵するチャンバーを備える第1コンテナと、
前記第1コンテナと結合される第2コンテナと、
前記第2コンテナ内に設けられ、前記チャンバーと連結される芯と、
前記芯を加熱するヒーターと、を含み、
前記第1コンテナは、前記挿入空間を定義する内壁、及び外壁を含み、
前記チャンバーは、前記内壁と前記外壁との間に形成されることを特徴とする、請求項
1に記載のエアロゾル生成装置。
【請求項3】
前記ボディーは、
前記カートリッジの下部を支持するロウワーボディーと、
前記カートリッジの側部に隣接して前記ロウワーボディー上に配置されるアッパーボデ
ィーと、を含み、
前記センサー光源及び前記フォトダイオードは、前記アッパーボディー内に設けられる
ことを特徴とする、請求項1に記載のエアロゾル生成装置。
【請求項4】
前記挿入空間は、前記アッパーボディーに接触している前記カートリッジの側部に隣接
して形成され、
前記センサー光源及び前記フォトダイオードは、前記カートリッジの側部に接触してい
る前記アッパーボディーの一側面に隣接して配置されることを特徴とする、請求項3に記
載のエアロゾル生成装置。
【請求項5】
前記センサー光源から照射された光に前記フォトダイオードが反応するまでの時間に基
づいて、前記挿入空間に物体が挿入されたかを判断することを特徴とする、請求項1に記
載のエアロゾル生成装置。
【請求項6】
前記制御部は、さらに、前記時間が既設定の時間未満の場合、前記挿入空間に物体が挿
入されたと判断することを特徴とする、請求項5に記載のエアロゾル生成装置。
【請求項7】
前記フォトダイオードから受信する信号は前記フォトダイオードに入射する光の光量に
対応するレベルを示し、
前記制御部は、さらに、前記フォトダイオードから受信する信号のレベルに基づいて、
前記挿入空間に挿入された物体がスティックであると判断することを特徴とする、請求項
1に記載のエアロゾル生成装置。
【請求項8】
前記制御部は、さらに、
ルックアップテーブル(lookup table)に基づいて、前記信号の信号レベ
範囲を確認し、
前記信号のレベル範囲が第1信号のレベル範囲に相当する場合、前記挿入空間に挿入さ
れた物体がスティックではないと判断し、
前記信号のレベル範囲が前記第1レベル範囲よりも大きい第2レベル範囲に相当する場
合、前記挿入空間に挿入された物体がスティックであると判断することを特徴とする、請
求項7に記載のエアロゾル生成装置。
【請求項9】
前記制御部は、さらに、
前記挿入空間に挿入された物体がスティックであると判断する場合、前記ヒーターに電
力を供給するように制御し、
前記挿入空間に挿入された物体がスティックでないと判断する場合、前記ヒーターに対
する電力の供給が遮断するように制御することを特徴とする、請求項2に記載のエアロゾ
ル生成装置。
【請求項10】
前記ボディーは、前記カートリッジが前記ボディーに結合されたとき、前記ヒーターに
電気的に連結される突出接続端子を含み、
前記制御部は、さらに、
前記突出接続端子が前記ヒーターに電気的に連結される場合、前記カートリッジと前記
ボディーとが互いに結合されるかを判断し、
前記カートリッジと前記ボディーとが互いに結合されたと判断する場合、前記センサー
光源が光を照射するように制御することを特徴とする、請求項2に記載のエアロゾル生成
装置。
発明の詳細な説明
【技術分野】
【0001】
本開示はエアロゾル生成装置に関する。
続きを表示(約 1,400 文字)
【背景技術】
【0002】
エアロゾル生成装置はエアロゾルを介して媒質又は物質から所定の成分を抽出するため
のものである。媒質は多様な成分の物質を含むことができる。媒質に含まれる物質は多様
な成分の香味物質であり得る。例えば、媒質に含まれる物質は、ニコチン成分、ハーブ成
分及び/又はコーヒー成分などを含むことができる。近年、このようなエアロゾル生成装
置に対する多くの研究が行われている。
【発明の概要】
【発明が解決しようとする課題】
【0003】
本開示は前述した問題及び他の問題を解決することを目的とする。
【0004】
本開示の他の目的は、気体流動の効率を改善して、スティックに対するエアロゾルの熱
伝逹効率を改善することができるエアロゾル生成装置を提供することである。
【0005】
本開示のさらに他の目的は、カートリッジに物体が挿入されたか及び挿入された物体が
スティックであるかのうちの少なくとも一つを判断することができるエアロゾル生成装置
を提供することである。
【0006】
本開示のさらに他の目的は、カートリッジ及び/又はスティックに対する判断の正確度
を向上させることができるセンサーを備えるエアロゾル生成装置を提供することである。
【課題を解決するための手段】
【0007】
上述した目的を果たすために、本開示の一側面によるエアロゾル生成装置は、長く延び
た挿入空間が形成されたカートリッジと、前記カートリッジと結合されるボディーと、前
記ボディーに結合された前記カートリッジの前記挿入空間に隣接して前記ボディー内に配
置されるセンサーと、制御部と、を含む。前記センサーは、前記カートリッジに結合され
た前記カートリッジの前記挿入空間に向けて光を照射するセンサー光源と、入射する光に
反応するフォトダイオードと、を含む。前記制御部は、前記センサー光源が前記光を照射
するように制御し、前記フォトダイオードから受信する信号に基づいて、前記挿入空間に
物体が挿入されるかを判断し、前記挿入空間に前記物体が挿入された場合、前記フォトダ
イオードから受信する信号に基づいて、前記挿入空間に挿入された物体がスティックであ
るかを判断する。
【発明の効果】
【0008】
本開示の実施例のうちの少なくとも一つによれば、気体流動の効率を改善して、スティ
ックに対するエアロゾルの熱伝逹効率を改善することができる。
【0009】
本開示の実施例のうちの少なくとも一つによれば、カートリッジに物体が挿入されたか
及び挿入された物体がスティックであるかのうちの少なくとも一つを判断することができ
るエアロゾル生成装置を提供することができる。
【0010】
本開示の実施例のうちの少なくとも一つによれば、カートリッジ及び/又はスティック
に対する判断の正確度を向上させることができるセンサーを備えるエアロゾル生成装置を
提供することができる。
(【0011】以降は省略されています)
この特許をJ-PlatPat(特許庁公式サイト)で参照する
関連特許
個人
ヒートスティック除去具
3か月前
日本たばこ産業株式会社
香味吸引物品
1か月前
個人
電子タバコの加熱素子
3か月前
個人
フレーバ用ブースター器具およびシーシャ装置
3か月前
日本たばこ産業株式会社
口腔用組成物
2か月前
日本たばこ産業株式会社
喫煙システム
2か月前
日本たばこ産業株式会社
香味発生物品
1か月前
東莞市佳かい精密金属制品有限公司
充電可能な電子タバコケース
3か月前
日本たばこ産業株式会社
香味吸引システム
2か月前
Future Technology株式会社
エアロゾル吸引カートリッジ
1か月前
日本たばこ産業株式会社
香味吸引システム
2か月前
エム・クリエイト株式会社
灰皿装置及び灰皿管理システム
4か月前
日本たばこ産業株式会社
低香味原料を含むたばこセグメント
1か月前
日本たばこ産業株式会社
粒状再生セルロースを含有する口腔用組成物
2か月前
日本たばこ産業株式会社
香味発生物品および香味吸引システム
2か月前
日本たばこ産業株式会社
電子装置
3か月前
Future Technology株式会社
芳香基材
3か月前
Future Technology株式会社
喫煙器具
1か月前
日本たばこ産業株式会社
吸引器
2か月前
日本たばこ産業株式会社
たばこ材料、その製造方法、および非燃焼加熱型喫煙物品
1か月前
Future Technology株式会社
芳香カートリッジ
3か月前
Future Technology株式会社
芳香カートリッジ
8日前
Future Technology株式会社
芳香カートリッジ
4か月前
Future Technology株式会社
芳香カートリッジ
3か月前
Future Technology株式会社
タバコ充填物集積体
1か月前
Future Technology株式会社
喫煙具用カートリッジ
3か月前
Future Technology株式会社
喫煙具用カートリッジ
3か月前
Future Technology株式会社
喫煙具用カートリッジ
3か月前
Future Technology株式会社
喫煙具用カートリッジ
3か月前
Future Technology株式会社
喫煙具用カートリッジ
2か月前
Future Technology株式会社
喫煙具用カートリッジ
2か月前
Future Technology株式会社
喫煙具用カートリッジ
1か月前
Future Technology株式会社
喫煙具用カートリッジ
2か月前
日本たばこ産業株式会社
たばこ用の組成物
4か月前
Future Technology株式会社
喫煙具用カートリッジ
22日前
Future Technology株式会社
被加熱芳香カートリッジ
3か月前
続きを見る
他の特許を見る