TOP
|
特許
|
意匠
|
商標
特許ウォッチ
Twitter
他の特許を見る
公開番号
2025157836
公報種別
公開特許公報(A)
公開日
2025-10-16
出願番号
2024060111
出願日
2024-04-03
発明の名称
測定システム、測定方法、測定プログラム、物体
出願人
大日本印刷株式会社
代理人
個人
,
個人
主分類
G01B
11/00 20060101AFI20251008BHJP(測定;試験)
要約
【課題】同一物体上における複数個所の位置や姿勢の変化を簡単かつ正確に測定することができる測定システム、測定方法、測定プログラム、物体を提供する。
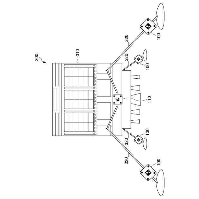
【解決手段】測定システム1は、物体の複数個所に設けられたマーカー100と、マーカー100を撮影する撮影部10と、撮影部10によって撮影された画像情報に基づいて、複数のマーカー100それぞれの位置及び姿勢の情報を演算する演算部20と、を備えた測定システムであって、撮影部10は、時刻t1及び時刻t2(t1<t2)のそれぞれの時刻においてマーカー100を撮影し、演算部20は、時刻t1及び時刻t2のそれぞれの時刻における、マーカー100それぞれの位置及び姿勢の情報を演算し、時刻t1から時刻t2の間におけるロケット200上でのマーカー100それぞれの位置及び姿勢の変化を演算する。
【選択図】図1
特許請求の範囲
【請求項1】
物体の複数個所に設けられたマーカーと、
前記マーカーを撮影する撮影部と、
前記撮影部によって撮影された画像情報に基づいて、複数の前記マーカーそれぞれの位置及び姿勢の情報を演算する演算部と、
を備えた測定システムであって、
前記撮影部は、時刻t1及び時刻t2(t1<t2)のそれぞれの時刻において前記マーカーを撮影し、
前記演算部は、前記時刻t1及び前記時刻t2のそれぞれの時刻における、前記マーカーそれぞれの位置及び姿勢の情報を演算し、前記時刻t1から前記時刻t2の間における前記物体上での前記マーカーそれぞれの位置及び姿勢の変化を演算する、測定システム。
続きを表示(約 1,200 文字)
【請求項2】
請求項1に記載の測定システムにおいて、
複数の前記マーカーのうちの少なくとも1つは、その他の前記マーカーが設けられた部位よりも前記物体において変位し難い部位に設けられていること、
を特徴とする測定システム。
【請求項3】
請求項2に記載の測定システムにおいて、
前記演算部は、前記物体において変位し難い部位に設けられている前記マーカーを基準として、その他の前記マーカーの位置及び姿勢の変化を演算すること、
を特徴とする測定システム。
【請求項4】
請求項2又は請求項3に記載の測定システムにおいて、
前記物体において変位し難い部位に設けられている前記マーカーは、前記物体に対して、埋め込み、塗装、印刷、接着のいずれかの形態で設けられていること、
を特徴とする測定システム。
【請求項5】
物体の複数個所に設けられたマーカーと、
前記マーカーを撮影する撮影部と、
前記撮影部によって撮影された画像情報に基づいて、複数の前記マーカーそれぞれの位置及び姿勢の情報を演算する演算部と、
を備えた測定システムにおける測定方法であって、
前記撮影部が、時刻t1及び時刻t2(t1<t2)のそれぞれの時刻において前記マーカーを撮影するステップと、
前記演算部が、前記時刻t1及び前記時刻t2のそれぞれの時刻における、前記マーカーそれぞれの位置及び姿勢の情報を演算するステップと、
前記演算部が、前記時刻t1から前記時刻t2の間における前記物体上での前記マーカーそれぞれの位置及び姿勢の変化を演算するステップと、
を備える測定システムにおける測定方法。
【請求項6】
物体の複数個所に設けられたマーカーと、
前記マーカーを撮影する撮影部と、
前記撮影部によって撮影された画像情報に基づいて、複数の前記マーカーそれぞれの位置及び姿勢の情報を演算する演算部と、
を備えた測定システムに用いられる測定プログラムであって、
コンピューターに、
前記撮影部が、時刻t1及び時刻t2(t1<t2)のそれぞれの時刻において前記マーカーを撮影するステップと、
前記演算部が、前記時刻t1及び前記時刻t2のそれぞれの時刻における、前記マーカーそれぞれの位置及び姿勢の情報を演算するステップと、
前記演算部が、前記時刻t1から前記時刻t2の間における前記物体上での前記マーカーそれぞれの位置及び姿勢の変化を演算するステップと、
を実行させるための測定プログラム。
【請求項7】
物体全体の基準となる本体部と、
前記本体部に対して変位可能、又は、変位のおそれがある変位可能部と、
を有し、
前記本体部に設けられたマーカーと、
前記変位可能部に設けられたマーカーと、
を有する物体。
発明の詳細な説明
【技術分野】
【0001】
本開示は、測定システム、測定方法、測定プログラム、物体に関するものである。
続きを表示(約 1,300 文字)
【背景技術】
【0002】
複数個所の相対的な位置の変化を正確に測定することが望まれている。例えば、ロケットのような飛行体の各部の変形や締結部品の緩み等を正確に測定することができれば、不具合の発生を未然に防ぐことが可能である。また、橋梁等の建築物についても所定の部位の相対的な変位等を定期的に測定することができれば、メンテナンスの要否を容易に判断することができる。
【0003】
特許文献1には、撮影画像から取得したワークの位置姿勢データを用いて、ワークの位置姿勢を算出する制御方法が記載されている。
【先行技術文献】
【特許文献】
【0004】
特開2020-11339号公報
【発明の概要】
【発明が解決しようとする課題】
【0005】
しかし、特許文献1では、同一物体上における複数個所の位置や姿勢の変化を簡単かつ正確に測定する技術は、開示も示唆もされていなかった。
【0006】
本開示の課題は、同一物体上における複数個所の位置や姿勢の変化を簡単かつ正確に測定することができる測定システム、測定方法、測定プログラム、物体を提供することである。
【課題を解決するための手段】
【0007】
本開示は、以下のような解決手段により、前記課題を解決する。なお、理解を容易にするために、本開示の実施形態に対応する符号を付して説明するが、これに限定されるものではない。
【0008】
第1の開示は、物体(200、300)の複数個所に設けられたマーカー(100、110)と、前記マーカー(100、110)を撮影する撮影部(10)と、前記撮影部(10)によって撮影された画像情報に基づいて、複数の前記マーカー(100、110)それぞれの位置及び姿勢の情報を演算する演算部(20)と、を備えた測定システム(1)であって、前記撮影部(10)は、時刻t1及び時刻t2(t1<t2)のそれぞれの時刻において前記マーカー(100、110)を撮影し、前記演算部(20)は、前記時刻t1及び前記時刻t2のそれぞれの時刻における、前記マーカー(100、110)それぞれの位置及び姿勢の情報を演算し、前記時刻t1から前記時刻t2の間における前記物体(200、300)上での前記マーカー(100、110)それぞれの位置及び姿勢の変化を演算する、測定システム(1)である。
【0009】
第2の開示は、第1の開示に記載の測定システム(1)において、複数の前記マーカー(100、110)のうちの少なくとも1つ(110)は、その他の前記マーカー(100)が設けられた部位よりも前記物体(200、300)において変位し難い部位に設けられていること、を特徴とする測定システム(1)である。
【0010】
第3の開示は、第2の開示に記載の測定システム(1)において、前記演算部(20)は、前記物体(300)において変位し難い部位に設けられている前記マーカー(110)を基準として、その他の前記マーカー(100)の位置及び姿勢の変化を演算すること、を特徴とする測定システム(1)である。
(【0011】以降は省略されています)
この特許をJ-PlatPat(特許庁公式サイト)で参照する
関連特許
大日本印刷株式会社
印刷物
3日前
大日本印刷株式会社
印刷物
3日前
大日本印刷株式会社
床用化粧材
6日前
大日本印刷株式会社
積層体および包装容器
6日前
大日本印刷株式会社
加飾シート及び樹脂成形品
6日前
大日本印刷株式会社
再配線層及びその製造方法
5日前
大日本印刷株式会社
測定システム、測定方法、測定プログラム、物体
4日前
大日本印刷株式会社
化粧シート、化粧材、及び、化粧シートの製造方法
6日前
大日本印刷株式会社
化粧シート、化粧材、及び、化粧シートの製造方法
6日前
大日本印刷株式会社
動画再生装置、装着装置、動画再生システム及びプログラム
3日前
大日本印刷株式会社
積層体及び包装材料
3日前
大日本印刷株式会社
空中入力装置、空中入力表示装置
5日前
大日本印刷株式会社
蒸着フィルム、積層体、包装材料及び包装容器
6日前
大日本印刷株式会社
ポリエチレン多層基材、印刷基材、積層体及び包装材料
6日前
大日本印刷株式会社
ベーパーチャンバ用のウィックシート、ベーパーチャンバおよび電子機器
5日前
大日本印刷株式会社
アレルゲン低減化性能を有する化粧シート、それを用いたアレルゲン低減化性能を有する粘着加工シート及びアレルゲン低減化性能を有する化粧板
6日前
大日本印刷株式会社
光学積層体、並びに、前記光学積層体を用いた偏光板、表面板、パネル及び画像表示装置、並びに、光学積層体の製造方法、並びに、光学積層体の選定方法
3日前
大日本印刷株式会社
金属端子用接着性フィルム及びその製造方法、金属端子用接着性フィルム付き金属端子、蓄電デバイス用外装材、蓄電デバイス用外装材と金属端子用接着性フィルムを備えるキット、並びに、蓄電デバイス及びその製造方法
5日前
個人
メジャー文具
13日前
個人
アクセサリー型テスター
6日前
個人
高精度同時多点測定装置
5日前
ユニパルス株式会社
ロードセル
12日前
日本精機株式会社
位置検出装置
19日前
日本精機株式会社
位置検出装置
19日前
日本精機株式会社
位置検出装置
19日前
大和製衡株式会社
組合せ秤
24日前
大和製衡株式会社
組合せ秤
24日前
アズビル株式会社
圧力センサ
18日前
エイブリック株式会社
磁気センサ回路
18日前
株式会社ユーシン
操作検出装置
21日前
株式会社ヨコオ
ソケット
11日前
株式会社東芝
センサ
24日前
株式会社ヨコオ
ソケット
12日前
株式会社東芝
センサ
24日前
トヨタ自動車株式会社
検査装置
21日前
株式会社チノー
放射光測温装置
12日前
続きを見る
他の特許を見る