TOP
|
特許
|
意匠
|
商標
特許ウォッチ
Twitter
他の特許を見る
公開番号
2025158771
公報種別
公開特許公報(A)
公開日
2025-10-17
出願番号
2024061639
出願日
2024-04-05
発明の名称
印刷物
出願人
大日本印刷株式会社
代理人
個人
,
個人
主分類
B41M
1/22 20060101AFI20251009BHJP(印刷;線画機;タイプライター;スタンプ)
要約
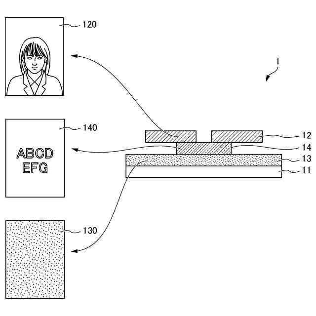
【課題】光源との関係によって視認される画像を切り替えることができ、高精細な画像を形成可能であって、製造が容易な印刷物を提供する。
【解決手段】印刷物1は、光輝性材料を含み一様に観察されて画像が観察されない光輝層13と、光透過性を備えた材料によって形成されて光輝層13と積層されて第1画像140を形成する第1印刷層14と、光輝性材料を含まない材料によって形成されて第1印刷層14よりも観察側に積層されて第2画像120を形成する第2印刷層12とを備える。
【選択図】図2
特許請求の範囲
【請求項1】
光輝性材料を含み一様に観察されて画像が観察されない光輝層と、
光透過性を備えた材料によって形成されて前記光輝層と積層されて第1画像を形成する第1印刷層と、
前記光輝性材料を含まない材料によって形成されて前記第1印刷層よりも観察側に積層されて第2画像を形成する第2印刷層と、
を備える印刷物。
続きを表示(約 570 文字)
【請求項2】
請求項1に記載の印刷物において、
基材層を備え、
前記基材層の観察側に前記光輝層が積層され、
前記光輝層の観察側に前記第1印刷層及び前記第2印刷層が積層されていること、
を特徴とする印刷物。
【請求項3】
請求項1に記載の印刷物において、
前記光輝層は前記第1印刷層と前記第2印刷層との間に配置されていること、
を特徴とする印刷物。
【請求項4】
請求項1に記載の印刷物において、
前記光輝層は前記第1印刷層及び前記第2印刷層よりも観察側に配置されていること、
を特徴とする印刷物。
【請求項5】
請求項1に記載の印刷物において、
前記光輝層及び前記第1印刷層及び前記第2印刷層よりも観察側に保護層が配置されていること、
を特徴とする印刷物。
【請求項6】
請求項1に記載の印刷物において、
光源との関係の変化に応じて前記第1画像及び前記第2画像のうち、より視認しやすい画像が切り替わること、
を特徴とする印刷物。
【請求項7】
請求項1に記載の印刷物において、
前記第2印刷層の膜厚は4μm以下であること、
を特徴とする印刷物。
発明の詳細な説明
【技術分野】
【0001】
本開示は、印刷物に関するものである。
続きを表示(約 1,400 文字)
【背景技術】
【0002】
光源との関係によって視認される画像を切り替える技術が従来から知られている。例えば、特許文献1に記載の技術は、光輝性の材料を含む印刷層によって画像を形成し、光輝性の材料における反射強度が光源との関係によって変化することを利用して視認される画像を切り替えている。
【先行技術文献】
【特許文献】
【0003】
特開2021-751号公報
【発明の概要】
【発明が解決しようとする課題】
【0004】
しかし、光輝性の材料(インキ等)は、光輝性を備えた粒子(顔料等)が含まれており、この光輝性を備えた粒子の粒径が比較的大きいことから、印刷版が目詰まりしやすかった。また、光輝性の材料は、ブランケット上へインキ残りが発生して汚れが発生する等の印刷不良が発生しやすかった。特に、光輝性の材料は、高精細な画像を形成しようとすると、印刷版の版形状も高精細となることから、より一層、目詰まりやブランケットへのインキ残り等の印刷不良が発生しやすい。そのため、光輝性の材料を用いる印刷物は、製造が困難であるという問題があった。したがって、従来の光輝性の材料を用いた印刷層は、高精細な画像の形成には不向きであり、簡単な図柄の画像を形成することが現実的であった。
【0005】
本開示の課題は、光源との関係によって視認される画像を切り替えることができ、高精細な画像を形成可能であって、製造が容易な印刷物を提供することである。
【課題を解決するための手段】
【0006】
本開示は、以下のような解決手段により、前記課題を解決する。なお、理解を容易にするために、本開示の実施形態に対応する符号を付して説明するが、これに限定されるものではない。
【0007】
第1の開示は、光輝性材料を含み一様に観察されて画像が観察されない光輝層(13、13B、13C)と、光透過性を備えた材料によって形成されて前記光輝層(13、13B、13C)と積層されて第1画像(140)を形成する第1印刷層(14、14B、14C)と、前記光輝性材料を含まない材料によって形成されて前記第1印刷層(14、14B、14C)よりも観察側に積層されて第2画像(120)を形成する第2印刷層(12、12C)と、を備える印刷物(1、1B、1C)である。
【0008】
第2の開示は、請求項1に記載の印刷物(1)において、基材層(11)を備え、前記基材層(11)の観察側に前記光輝層(13)が積層され、前記光輝層(13)の観察側に前記第1印刷層(14)及び前記第2印刷層(12)が積層されていること、を特徴とする印刷物(1)である。
【0009】
第3の開示は、請求項1に記載の印刷物(1B)において、前記光輝層(13B)は前記第1印刷層(14B)と前記第2印刷層(12)との間に配置されていること、を特徴とする印刷物(1B)である。
【0010】
第4の開示は、請求項1に記載の印刷物(1C)において、前記光輝層(13C)は前記第1印刷層(14C)及び前記第2印刷層(12C)よりも観察側に配置されていること、を特徴とする印刷物(1C)である。
(【0011】以降は省略されています)
この特許をJ-PlatPat(特許庁公式サイト)で参照する
関連特許
大日本印刷株式会社
移動体
1か月前
大日本印刷株式会社
印刷物
3日前
大日本印刷株式会社
印刷物
3日前
大日本印刷株式会社
移動体
1か月前
大日本印刷株式会社
床構成体
12日前
大日本印刷株式会社
積層シート
10日前
大日本印刷株式会社
床用化粧材
6日前
大日本印刷株式会社
写真撮影装置
1か月前
大日本印刷株式会社
発電モジュール
21日前
大日本印刷株式会社
パネルの固定方法
18日前
大日本印刷株式会社
積層体及び包装容器
19日前
大日本印刷株式会社
積層体および包装容器
6日前
大日本印刷株式会社
積層体および包装容器
21日前
大日本印刷株式会社
積層体および包装容器
21日前
大日本印刷株式会社
積層体および包装容器
10日前
大日本印刷株式会社
積層体および包装容器
21日前
大日本印刷株式会社
積層体および包装容器
21日前
大日本印刷株式会社
再配線層及びその製造方法
5日前
大日本印刷株式会社
加飾シート及び樹脂成形品
6日前
大日本印刷株式会社
情報処理装置及びプログラム
21日前
大日本印刷株式会社
学習支援装置及びプログラム
12日前
大日本印刷株式会社
情報処理装置及びプログラム
11日前
大日本印刷株式会社
クランプ装置及びウェブ搬送装置
21日前
大日本印刷株式会社
ポリエステルフィルム及び積層体
1か月前
大日本印刷株式会社
作業装置、作業システム、作業方法
17日前
大日本印刷株式会社
ウェブ搬送装置及びウェブ搬送方法
17日前
大日本印刷株式会社
水素センサおよび水素検知システム
11日前
大日本除蟲菊株式会社
薬剤揮散装置
13日前
大日本印刷株式会社
位相差板、光学部材、及び、表示装置
6日前
大日本印刷株式会社
熱転写シートと中間転写媒体との組合せ
10日前
大日本印刷株式会社
サーバ装置、動画配信方法及びプログラム
21日前
大日本印刷株式会社
バリア性フィルム、積層体および包装容器
21日前
大日本印刷株式会社
バリア性フィルム、積層体および包装容器
21日前
大日本印刷株式会社
バリア性フィルム、積層体および包装容器
21日前
大日本印刷株式会社
情報処理装置、情報処理方法及びプログラム
11日前
大日本印刷株式会社
情報処理装置、情報処理方法及びプログラム
11日前
続きを見る
他の特許を見る