TOP
|
特許
|
意匠
|
商標
特許ウォッチ
Twitter
他の特許を見る
10個以上の画像は省略されています。
公開番号
2025158116
公報種別
公開特許公報(A)
公開日
2025-10-16
出願番号
2025061535
出願日
2025-04-03
発明の名称
イメージセンサー
出願人
三星電子株式会社
,
Samsung Electronics Co.,Ltd.
代理人
弁理士法人ITOH
主分類
H10F
39/18 20250101AFI20251008BHJP()
要約
【課題】高速動作特性を維持することができるイメージセンサーを提供する。
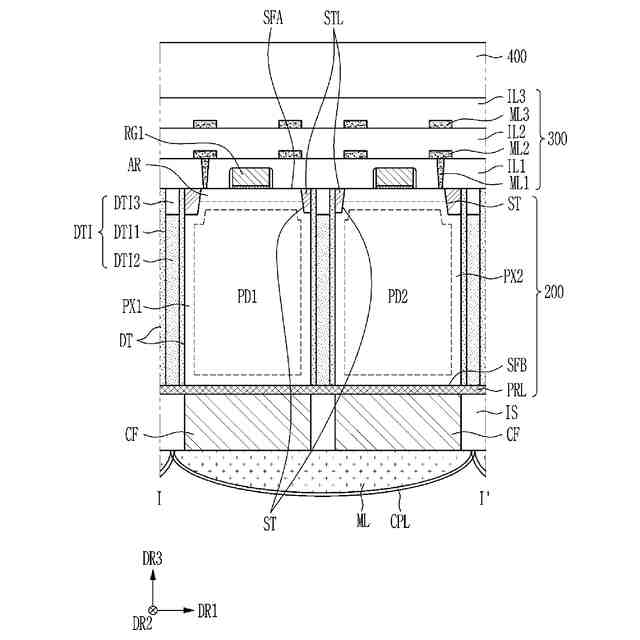
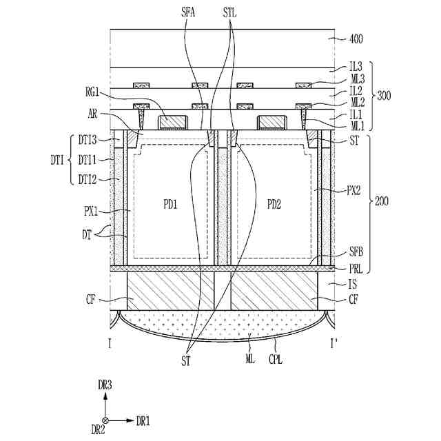
【解決手段】イメージセンサーは、第1色を感知する第1ピクセルPX1、第1色とは異なる第2色を感知する第2ピクセルPX2、第1ピクセルに位置する第1活性領域AR及び第2ピクセルに位置する第2活性領域ARを含み、第1活性領域と第2活性領域は、互いに直接的に連結されてもよい。
【選択図】図5
特許請求の範囲
【請求項1】
イメージセンサーであって、当該イメージセンサーは、
第1色を感知する第1ピクセル、
前記第1色とは異なる第2色を感知する第2ピクセル、
前記第1ピクセルに位置する第1活性領域;、および、
前記第2ピクセルに位置する第2活性領域を含み、
前記第1活性領域と前記第2活性領域は、互いに直接的に連結される、
イメージセンサー。
続きを表示(約 1,400 文字)
【請求項2】
前記第1ピクセルと前記第2ピクセルとの間に位置するとともに、基板の中に位置するピクセル分離構造体をさらに含み、
前記第1活性領域と前記第2活性領域は、連結部を介して互いに連結され、
前記第1活性領域、前記第2活性領域、そして前記連結部は、高さ方向に沿って前記ピクセル分離構造体とは重ならない、請求項1に記載のイメージセンサー。
【請求項3】
前記基板は、互いに向き合う第1面と第2面を含み、
前記ピクセル分離構造体は、前記第2面と前記第2面を貫通し、
前記第1活性領域、前記第2活性領域、そして前記連結部は、前記基板の前記第1面に隣接するように位置する、請求項2に記載のイメージセンサー。
【請求項4】
前記第1活性領域の上に位置する第1ゲート電極、および、
前記第2活性領域の上に位置する第2ゲート電極、をさらに含み、
前記第1ゲート電極は、第1ソースフォロワゲート電極であり、
前記第2ゲート電極は、第2ソースフォロワゲート電極である、請求項2に記載のイメージセンサー。
【請求項5】
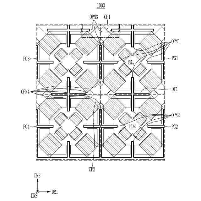
第1方向に沿って前記第1ピクセルに隣接して前記第1色とは異なる色を感知する第3ピクセル、
前記第1方向に沿って前記第2ピクセルに隣接して前記第2色とは異なる色を感知する第4ピクセル、
前記第3ピクセルに位置する第3活性領域、および、
前記第4ピクセルに位置する第4活性領域、をさらに含み、
前記第1活性領域および前記第2活性領域は、前記第3活性領域および前記第4活性領域と互いに直接的に連結される、請求項4に記載のイメージセンサー。
【請求項6】
前記第3活性領域の上に位置する第3ゲート電極、そして、
前記第4活性領域の上に位置する第4ゲート電極、をさらに含み、
前記第3ゲート電極と前記第4ゲート電極のうちの一つは、第3ソースフォロワゲート電極である、請求項5に記載のイメージセンサー。
【請求項7】
前記第3ゲート電極と前記第4ゲート電極のうちの残りの一つは、選択ゲート電極である、請求項6に記載のイメージセンサー。
【請求項8】
前記第3ゲート電極と前記第4ゲート電極のうちの残りの一つは、第4ソースフォロワゲート電極である、請求項6に記載のイメージセンサー。
【請求項9】
第1方向に沿って前記第1ピクセルに隣接して前記第1色を感知する第3ピクセル、
前記第1方向に沿って前記第2ピクセルに隣接して前記第2色を感知する第4ピクセル、
前記第3ピクセルに位置する第3活性領域、および、
前記第4ピクセルに位置する第4活性領域、をさらに含み、
前記第1活性領域と前記第2活性領域は、前記第3活性領域および前記第4活性領域と互いに直接的に連結される、請求項4に記載のイメージセンサー。
【請求項10】
前記第3活性領域の上に位置する第3ゲート電極、および、
前記第4活性領域の上に位置する第4ゲート電極、をさらに含み、
前記第3ゲート電極と前記第4ゲート電極のうちの一つは、第3ソースフォロワゲート電極である、請求項9に記載のイメージセンサー。
(【請求項11】以降は省略されています)
発明の詳細な説明
【技術分野】
【0001】
本開示は、イメージセンサーに関する。
続きを表示(約 1,400 文字)
【背景技術】
【0002】
イメージセンサーは、光学映像(Optical image)を電気信号に変換する半導体素子である。イメージセンサーは、CCD(Charge coupled device)とCMOS(Complementary metal oxide semiconductor)に分類することができる。
【0003】
CMOSイメージセンサーであるCIS(CMOS image sensor)は、高電圧アナログ回路を有するCCDイメージセンサーと比較して製造単価が低く素子の大きさが小さくて消費電力が少ないという長所があり、スマートフォン、デジタルカメラなどの携帯用機器をはじめとする家電製品に主にCISが搭載されている。
【0004】
CMOSイメージセンサーを構成するピクセルアレイ(pixel array)は、各ピクセルごとにフォトダイオードなどの光電変換部を含む。前記光電変換部は、入射される光の量に応じて可変の電気信号を生成し、CMOSイメージセンサーは、前記電気信号を処理して映像を合成することができる。
【0005】
CMOSイメージセンサーは、光電変換部を駆動するための複数のトランジスターを含んでもよい。
【発明の概要】
【発明が解決しようとする課題】
【0006】
近年、高解像度イメージに対する要求によりイメージセンサーのピクセルの大きさが小さくなりピクセル数が増えている。したがって、イメージセンサーの中のトランジスターの高速動作特性が必要である。
【課題を解決するための手段】
【0007】
実施例は、高速動作特性を維持することができるイメージセンサーを提供する。
【0008】
しかし、実施例が解決しようとする課題は、上述した課題に限定されず、実施例に含まれている技術的な思想の範囲で多様に拡張することができる。
【0009】
実施例に係るイメージセンサーは、第1色を感知する第1ピクセル、前記第1色とは異なる第2色を感知する第2ピクセル、前記第1ピクセルに位置する第1活性領域、そして前記第2ピクセルに位置する第2活性領域を含んでもよく、前記第1活性領域と前記第2活性領域は、互いに直接的に連結されてもよい。
【0010】
実施例に係るイメージセンサーは、第1色を感知し、第1ピクセルを含む複数のピクセルを含む第1ピクセルグループ、そして前記第1色とは異なる第2色を感知し、前記第1ピクセルグループに隣接した第2ピクセルを含む複数のピクセルを含む第2ピクセルグループを含んでもよく、前記第1ピクセルグループ及び前記第2ピクセルグループは、リセットトランジスター、ソースフォロワトランジスター、そして選択トランジスターを共有することができ、前記ソースフォロワトランジスターは、前記第1ピクセルの中に位置する第1ソースフォロワトランジスター及び前記第2ピクセルの中に位置する第2ソースフォロワトランジスターを含んでもよく、前記第1ソースフォロワトランジスター及び前記第2ソースフォロワトランジスターを直接的に連結することができる。
(【0011】以降は省略されています)
この特許をJ-PlatPat(特許庁公式サイト)で参照する
関連特許
三星電子株式会社
保持装置
9日前
三星電子株式会社
実装装置
9日前
三星電子株式会社
半導体素子
4日前
三星電子株式会社
半導体装置
1日前
三星電子株式会社
半導体装置
19日前
三星電子株式会社
半導体素子
19日前
三星電子株式会社
半導体素子
1か月前
三星電子株式会社
半導体素子
15日前
三星電子株式会社
固体二次電池
8日前
三星電子株式会社
電気集塵装置
1か月前
三星電子株式会社
固体撮像素子
1か月前
三星電子株式会社
固体撮像素子
1か月前
三星電子株式会社
半導体接合装置
9日前
三星電子株式会社
モータ駆動装置
1日前
三星電子株式会社
イメージセンサ
1か月前
三星電子株式会社
半導体パッケージ
3日前
三星電子株式会社
イメージセンサー
2日前
三星電子株式会社
半導体パッケージ
1か月前
三星電子株式会社
半導体パッケージ
3日前
三星電子株式会社
帯電装置及び電気集塵装置
1か月前
三星電子株式会社
周辺回路領域を含む半導体素子
3日前
三星電子株式会社
イメージセンサー及びその動作方法
15日前
三星電子株式会社
イメージセンサー及びその製造方法
1か月前
三星電子株式会社
半導体パッケージ装置及びこの製造方法
23日前
三星電子株式会社
回転磁気アレイ装置及び磁気冷凍システム
19日前
三星電子株式会社
回転磁気アレイ装置及び磁気冷凍システム
19日前
三星電子株式会社
シンプロビジョニングを通じたSSD仮想化
19日前
三星電子株式会社
半導体装置及びそれを含むデータ格納システム
1か月前
三星電子株式会社
ハイブリッドピクセル及びハイブリッドセンサ
29日前
三星電子株式会社
トランスフォーマー加速装置およびその動作方法
1か月前
三星電子株式会社
半導体装置およびこれを含む電力半導体システム
4日前
三星電子株式会社
画像処理装置、画像処理方法、撮像装置及びプログラム
1か月前
三星電子株式会社
複数の波長を使用するライダーシステム及びその動作方法
4日前
三星電子株式会社
ニューロモルフィックコンピューティング装置及びその動作方法
17日前
三星電子株式会社
イメージセンサ、それを含む装置、及びイメージセンサの動作方法
1か月前
三星電子株式会社
キャパシタ構造物を含む半導体装置及びこれを含むデータ記憶システム
17日前
続きを見る
他の特許を見る