TOP
|
特許
|
意匠
|
商標
特許ウォッチ
Twitter
他の特許を見る
10個以上の画像は省略されています。
公開番号
2025131513
公報種別
公開特許公報(A)
公開日
2025-09-09
出願番号
2025003757
出願日
2025-01-09
発明の名称
半導体装置及びそれを含むデータ格納システム
出願人
三星電子株式会社
,
Samsung Electronics Co.,Ltd.
代理人
弁理士法人共生国際特許事務所
主分類
H10B
43/50 20230101AFI20250902BHJP()
要約
【課題】信頼性が向上した半導体素子及びそれを含むデータ格納システムを提供する。
【解決手段】本発明による半導体装置は、プレート層、プレート層上においてプレート層の上面に垂直な第1方向に沿って互いに離隔し、第1方向に垂直な第2方向に沿って互いに異なる長さで延びるゲート電極、ゲート電極と交互に積層される層間絶縁層、ゲート電極の少なくとも一部を貫通し、第1方向に沿って延びるチャネル構造物、及びゲート電極とそれぞれ連結され、第1方向に沿って延びるコンタクトプラグを含み、ゲート電極のそれぞれは、下部領域及び層間絶縁層から露出するように下部領域上に配置された上部領域を含み、上部領域は、第2方向において上面のレベルが低くなる領域を含み、上部領域の第2方向における外側面は、下部領域の第2方向における外側面から離隔して下部領域上に位置する。
【選択図】図2a
特許請求の範囲
【請求項1】
基板、前記基板上の回路素子、及び前記回路素子上の回路配線ラインを含む第1半導体構造物と、
前記第1半導体構造物上に配置され、第1及び第2領域を有する第2半導体構造物と、を含み、
前記第2半導体構造物は、
プレート層と、
前記プレート層上において前記プレート層の上面に垂直な第1方向に沿って互いに離隔し、前記第1方向に垂直な第2方向に沿って互いに異なる長さで延び、前記第1領域から延びる下部領域及び前記第2領域において前記下部領域上に配置された上部領域をそれぞれ含むゲート電極と、
前記ゲート電極と交互に積層された層間絶縁層と、
前記第1領域において前記ゲート電極の少なくとも一部を貫通し、前記第1方向に沿って延びるチャネル構造物と、
前記第2領域において前記ゲート電極とそれぞれ連結され、前記第1方向に沿って延びるコンタクトプラグと、
前記ゲート電極のそれぞれの前記下部領域と前記上部領域との間に介在し、前記層間絶縁層から離隔したパッド絶縁層と、を含むことを特徴とする半導体装置。
続きを表示(約 980 文字)
【請求項2】
前記上部領域の上面は、前記ゲート電極のそれぞれの全体厚さが減少するように折れ曲がった領域を含むことを特徴とする請求項1に記載の半導体装置。
【請求項3】
前記上部領域は、前記第1領域に隣接する第1端部領域において、上面が第1レベルに位置し、前記第2方向に沿って前記第1端部領域に対向する第2端部領域において、上面が前記第1レベルよりも低い第2レベルに位置することを特徴とする請求項1に記載の半導体装置。
【請求項4】
前記第1レベルと前記第2レベルとの差は、3nm~7nmの範囲であることを特徴とする請求項3に記載の半導体装置。
【請求項5】
前記上部領域は、前記下部領域の前記第2方向に沿った側面から前記第1領域に向かって内側に離隔して前記下部領域上に位置することを特徴とする請求項1に記載の半導体装置。
【請求項6】
前記下部領域は、前記層間絶縁層のうちの前記下部領域と接触する層間絶縁層によって覆われる領域において第1厚さを有し、前記層間絶縁層の側面と前記上部領域との間の領域において前記第1厚さよりも小さい第2厚さを有することを特徴とする請求項1に記載の半導体装置。
【請求項7】
前記ゲート電極は、第1ゲート電極及び前記第1ゲート電極上に配置された第2ゲート電極を含み、
前記第1ゲート電極の前記上部領域の最上面の第3レベルは、前記第2ゲート電極の下面の第4レベルよりも高いことを特徴とする請求項1に記載の半導体装置。
【請求項8】
前記第3レベルは、前記第2ゲート電極の上面と前記下面との間のレベルであることを特徴とする請求項7に記載の半導体装置。
【請求項9】
前記ゲート電極のそれぞれは、前記上部領域の前記第1領域に隣接する内側端部領域において最大厚さを有し、前記下部領域の前記第1領域から最も離隔した外側端部領域において最小厚さを有することを特徴とする請求項1に記載の半導体装置。
【請求項10】
前記パッド絶縁層において、少なくとも前記第2方向に沿った側面は、前記ゲート電極のそれぞれから露出することを特徴とする請求項1に記載の半導体装置。
(【請求項11】以降は省略されています)
発明の詳細な説明
【技術分野】
【0001】
本発明は、半導体装置及びそれを含むデータ格納システムに関する。
続きを表示(約 3,200 文字)
【背景技術】
【0002】
データ格納を必要とするデータ格納システムにおいて、大容量のデータを格納することができる半導体装置が求められている。このため、半導体装置のデータ格納容量を増加させる方案が研究されている。例えば、半導体装置のデータ格納容量を増加させるための方法の一つとして、二次元的に配列されるメモリセルの代わりに、三次元的に配列されるメモリセルを含む半導体装置が提案されている。
【発明の概要】
【発明が解決しようとする課題】
【0003】
本発明は、上記従来技術に鑑みてなされたものであって、本発明の目的は、信頼性が向上した半導体装置を提供することにある。
【0004】
また、本発明の目的は、信頼性が向上した半導体装置を含むデータ格納システムを提供することにある。
【課題を解決するための手段】
【0005】
上記目的を達成するためになされた本発明の一態様による半導体装置は、基板、上記基板上の回路素子、及び上記回路素子上の回路配線ラインを含む第1半導体構造物と、上記第1半導体構造物上に配置され、第1及び第2領域を有する第2半導体構造物と、を含み、上記第2半導体構造物は、プレート層と、上記プレート層上において上記プレート層の上面に垂直な第1方向に沿って互いに離隔し、上記第1方向に垂直な第2方向に沿って互いに異なる長さで延び、上記第1領域から延びる下部領域及び上記第2領域において上記下部領域上に配置された上部領域をそれぞれ含むゲート電極と、上記ゲート電極と交互に積層された層間絶縁層と、上記第1領域において上記ゲート電極の少なくとも一部を貫通し、上記第1方向に沿って延びるチャネル構造物と、上記第2領域において上記ゲート電極とそれぞれ連結され、上記第1方向に沿って延びるコンタクトプラグと、上記ゲート電極のそれぞれの上記下部領域と上記上部領域との間に介在し、上記層間絶縁層から離隔したパッド絶縁層と、を含むことができる。
【0006】
上記目的を達成するためになされた本発明の他の態様による半導体装置は、プレート層と、上記プレート層上において上記プレート層の上面に垂直な第1方向に沿って互いに離隔し、上記第1方向に垂直な第2方向に沿って互いに異なる長さで延びたゲート電極と、上記ゲート電極と交互に積層される層間絶縁層と、上記ゲート電極の少なくとも一部を貫通し、上記第1方向に沿って延びるチャネル構造物と、上記ゲート電極とそれぞれ連結され、上記第1方向に沿って延びるコンタクトプラグと、を含み、上記ゲート電極のそれぞれは、下部領域及び上記層間絶縁層から露出するように上記下部領域上に配置された上部領域を含み、上記上部領域は、上記第2方向において上面のレベルが低くなる領域を含み、上記上部領域の上記第2方向における外側面は、上記下部領域の上記第2方向における外側面から離隔して上記下部領域上に位置することができる。
【0007】
上記目的を達成するためになされた本発明の一態様によるデータ格納システムは、回路素子を含む第1半導体構造物、上記第1半導体構造物の一面上に配置され、第1及び第2領域を有する第2半導体構造物、及び上記回路素子と電気的に連結された入出力パッドを含む半導体格納装置と、上記入出力パッドを介して上記半導体格納装置と電気的に連結され、上記半導体格納装置を制御するコントローラと、を含み、上記第2半導体構造物は、プレート層と、上記プレート層上において上記プレート層の上面に垂直な第1方向に沿って互いに離隔し、上記第1方向に垂直な第2方向に沿って上記第1領域から延びる下部領域及び上記第2領域において上記下部領域上に配置された上部領域をそれぞれ含むゲート電極と、上記第1領域において上記ゲート電極の少なくとも一部を貫通し、上記第1方向に沿って延びるチャネル構造物と、上記第2領域において上記ゲート電極とそれぞれ連結され、上記第1方向に沿って延びるコンタクトプラグと、上記ゲート電極のそれぞれの上記下部領域と上記上部領域との間に介在するパッド絶縁層と、を含むことができる。
【発明の効果】
【0008】
本発明によれば、ゲート電極が、コンタクトプラグに連結されるパッド領域を含み、このようなパッド領域の製造方法及び構造を最適化することによって、信頼性が向上した半導体装置及びそれを含むデータ格納システムを提供することができる。
【0009】
本発明の多様でありながらも有益な利点及び効果は、上述した内容に限定されず、本発明の具体的な実施形態を説明する過程でより容易に理解することができる。
【図面の簡単な説明】
【0010】
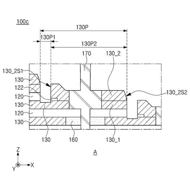
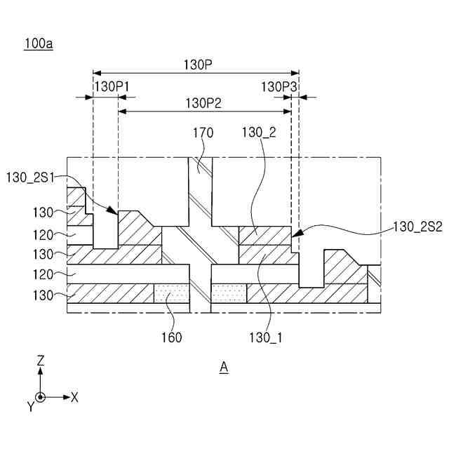
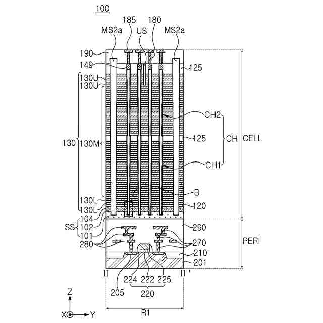
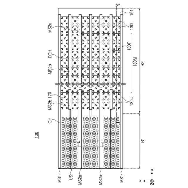
例示的な実施形態による半導体装置の概略的な平面図である。
例示的な実施形態による半導体装置の概略的な断面図である。
例示的な実施形態による半導体装置の概略的な断面図である
例示的な実施形態による半導体装置の一部の領域を拡大して示す概略的な部分拡大図である。
例示的な実施形態による半導体装置の一部の領域を拡大して示す概略的な部分拡大図である。
例示的な実施形態による半導体装置の概略的な部分拡大図である。
例示的な実施形態による半導体装置の概略的な部分拡大図である。
例示的な実施形態による半導体装置の概略的な部分拡大図である。
例示的な実施形態による半導体装置の概略的な断面図である。
例示的な実施形態による半導体装置の概略的な断面図である。
例示的な実施形態による半導体装置の概略的な断面図である。
例示的な実施形態による半導体装置の製造方法を説明するための概略的な断面図である。
例示的な実施形態による半導体装置の製造方法を説明するための概略的な断面図である。
例示的な実施形態による半導体装置の製造方法を説明するための概略的な断面図である。
例示的な実施形態による半導体装置の製造方法を説明するための概略的な断面図である。
例示的な実施形態による半導体装置の製造方法を説明するための概略的な断面図である。
例示的な実施形態による半導体装置の製造方法を説明するための概略的な断面図である。
例示的な実施形態による半導体装置の製造方法を説明するための概略的な断面図である。
例示的な実施形態による半導体装置の製造方法を説明するための概略的な断面図である。
例示的な実施形態による半導体装置の製造方法を説明するための概略的な断面図である。
例示的な実施形態による半導体装置の製造方法を説明するための概略的な断面図である。
例示的な実施形態による半導体装置の製造方法を説明するための概略的な断面図である。
例示的な実施形態による半導体装置の製造方法を説明するための概略的な断面図である。
例示的な実施形態による半導体装置の製造方法を説明するための概略的な断面図である。
例示的な実施形態による半導体装置の製造方法を説明するためのフローチャートである。
例示的な実施形態による半導体装置を含むデータ格納システムを概略的に示す図である。
例示的な実施形態による半導体装置を含むデータ格納システムを概略的に示す斜視図である。
例示的な実施形態による半導体パッケージを概略的に示す断面図である。
【発明を実施するための形態】
(【0011】以降は省略されています)
この特許をJ-PlatPat(特許庁公式サイト)で参照する
関連特許
個人
半導体装置
今日
エイブリック株式会社
半導体装置
1か月前
エイブリック株式会社
半導体装置
6日前
東レ株式会社
太陽電池モジュール
今日
富士電機株式会社
半導体装置
27日前
富士電機株式会社
半導体装置
9日前
富士電機株式会社
半導体装置
1か月前
富士電機株式会社
半導体装置
1か月前
富士電機株式会社
半導体装置
1か月前
富士電機株式会社
半導体装置
1か月前
ローム株式会社
半導体装置
1日前
三菱電機株式会社
半導体装置
1か月前
AGC株式会社
太陽電池モジュール
12日前
三菱電機株式会社
半導体装置
1か月前
国立大学法人 和歌山大学
光検出器
1か月前
キヤノン株式会社
有機発光素子
19日前
ミツミ電機株式会社
半導体装置
6日前
日亜化学工業株式会社
発光装置
27日前
株式会社半導体エネルギー研究所
半導体装置
28日前
株式会社半導体エネルギー研究所
半導体装置
1か月前
ミツミ電機株式会社
センサ装置
1か月前
日亜化学工業株式会社
発光素子
7日前
株式会社半導体エネルギー研究所
半導体装置
1か月前
ローム株式会社
窒化物半導体装置
27日前
ローム株式会社
窒化物半導体装置
1か月前
株式会社東芝
熱電変換装置
7日前
デクセリアルズ株式会社
受光装置
5日前
サンケン電気株式会社
半導体装置
5日前
TDK株式会社
光検知装置
6日前
ローム株式会社
窒化物半導体装置
1か月前
ローム株式会社
TVSダイオード
7日前
住友電気工業株式会社
半導体装置
19日前
ローム株式会社
TVSダイオード
7日前
ローム株式会社
半導体装置
7日前
株式会社半導体エネルギー研究所
発光デバイス
1か月前
住友電気工業株式会社
半導体装置
19日前
続きを見る
他の特許を見る