TOP
|
特許
|
意匠
|
商標
特許ウォッチ
Twitter
他の特許を見る
10個以上の画像は省略されています。
公開番号
2025129053
公報種別
公開特許公報(A)
公開日
2025-09-03
出願番号
2025025701
出願日
2025-02-20
発明の名称
イメージセンサ
出願人
三星電子株式会社
,
Samsung Electronics Co.,Ltd.
代理人
弁理士法人共生国際特許事務所
主分類
H10F
39/18 20250101AFI20250827BHJP()
要約
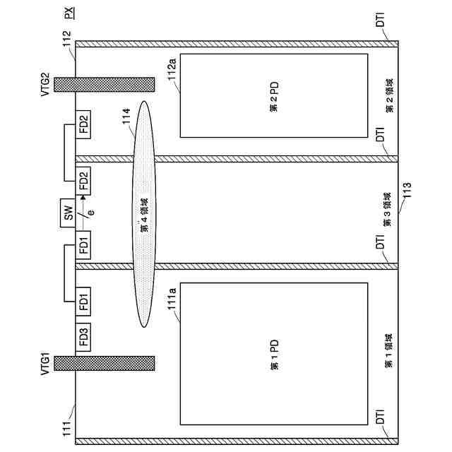
【課題】フォトダイオードの飽和による隣接フォトダイオードの劣化を防止するピクセルを含むイメージセンサを提供する。
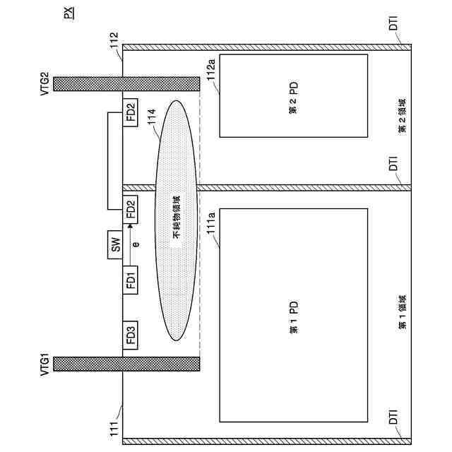
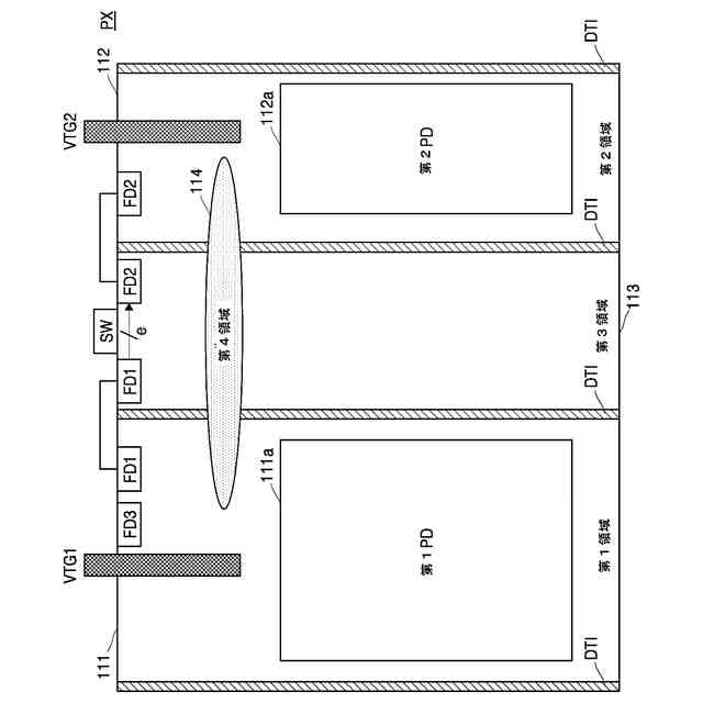
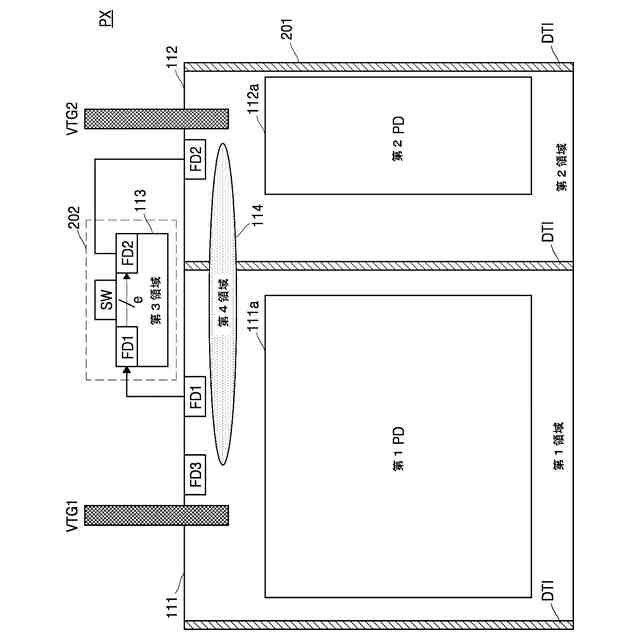
【解決手段】本発明による複数のピクセルを含むイメージセンサの少なくとも1つのピクセルは、第1フォトダイオードを含む第1領域、第1フォトダイオードと比較して小さいサイズの第2フォトダイオードを含む第2領域、及び第1領域と第2領域とを物理的に区分する第3領域を含み、第3領域は、第1領域の第1フローティングディフュージョンノードから放出される電子の第2領域の第2フローティングディフュージョンノードへの移動を遮断するスイッチを含むように構成される。
【選択図】図2
特許請求の範囲
【請求項1】
イメージセンサであって、
第1面及び前記第1面に対向する第2面を含む基板と、
第1フローティングディフュージョンノード、第3フローティングディフュージョンノード、及び第1フォトダイオードを含む第1領域と、
第2フローティングディフュージョンノード、及び前記第1フォトダイオードよりも小さいサイズの第2フォトダイオードを含む第2領域と、
前記第1フローティングディフュージョンノードと前記第2フローティングディフュージョンノードとを連結するスイッチと、
前記第1フローティングディフュージョンノードと前記第3フローティングディフュージョンノードとを連結する利得制御トランジスタと、
前記第1フォトダイオードと前記第2フォトダイオードとを分離する第1ディープトレンチ離隔構造(DTI:Deep Trench Isolation)と、
前記第1フォトダイオードで生成された光電荷を前記第3フローティングディフュージョンノードに伝送するように構成された第1伝送トランジスタと、
前記第2フォトダイオードで生成された光電荷を前記第2フローティングディフュージョンノードに伝送するように構成された第2伝送トランジスタと、を備え、
前記スイッチの前記第1フォトダイオードに垂直に重なる部分は、平面視において、前記スイッチの全体面積の0%以上50%未満であることを特徴とするイメージセンサ。
続きを表示(約 1,000 文字)
【請求項2】
前記第2領域は、平面視において、前記第1領域とは対角線に配置されることを特徴とする請求項1に記載のイメージセンサ。
【請求項3】
前記第1フォトダイオードに垂直に重なる前記スイッチの部分は、前記スイッチの全体面積の0%以上20%未満であることを特徴とする請求項1に記載のイメージセンサ。
【請求項4】
前記スイッチは、平面視において、前記第1フォトダイオードと前記第2フォトダイオードとの間に配置されることを特徴とする請求項3に記載のイメージセンサ。
【請求項5】
第4フローティングディフュージョンノード、及び前記第1フォトダイオードよりも小さいサイズの第3フォトダイオードを含む第3領域を更に含み、
前記第3領域は、平面視において、第1方向に前記第2領域に隣接して配置され、
前記スイッチは、平面視において、前記第2フォトダイオードと前記第3フォトダイオードとの間に配置されることを特徴とする請求項3に記載のイメージセンサ。
【請求項6】
第4フローティングディフュージョンノード、及び前記第1フォトダイオードと同じサイズの第3フォトダイオードを含む第3領域を更に含み、
前記第3領域は、平面視において、第2方向に前記第1領域に隣接して配置され、
前記スイッチは、平面視において、前記第1フォトダイオードと前記第3フォトダイオードとの間に配置されることを特徴とする請求項3に記載のイメージセンサ。
【請求項7】
平面視において、前記第1フォトダイオードと前記スイッチとの間に配置される第2DTIを更に含むように構成されることを特徴とする請求項3に記載のイメージセンサ。
【請求項8】
前記第1DTIは、前記第1面及び前記第2面に接触することを特徴とする請求項3に記載のイメージセンサ。
【請求項9】
前記第1伝送トランジスタは、前記基板の内部に拡張されることを特徴とする請求項8に記載のイメージセンサ。
【請求項10】
前記第1フォトダイオードと前記スイッチとの間に配置される第2DTIを更に含むように構成され、
前記第2DTIは、前記第1面及び前記第2面に接触することを特徴とする請求項8に記載のイメージセンサ。
(【請求項11】以降は省略されています)
発明の詳細な説明
【技術分野】
【0001】
本発明は、イメージセンサに係り、より詳細には、光に対する感度が異なる複数のフォトダイオードを含むピクセルにおいて、それぞれのフォトダイオードの電子飽和による隣接フォトダイオードの劣化を防止するピクセルに関する。
続きを表示(約 1,800 文字)
【背景技術】
【0002】
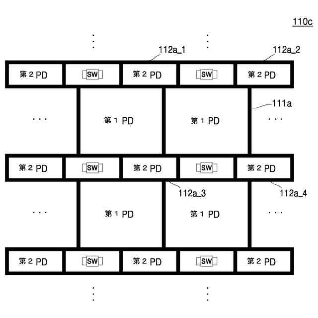
最近、開発されるイメージセンサのピクセルは、高解像度のイメージを生成するために、フォトダイオード分割(Split Photo Diode)技術が適用されている。フォトダイオード分割技術は、主にイメージセンサのコーナーピクセル(Coner Pixel)に適用される技術であり、フォトダイオード分割技術が適用されたイメージセンサのピクセルは、ピクセルアレイ状に符合するように分割された複数のフォトダイオードを含む。
【0003】
しかし、それぞれのフォトダイオードは、光に対する感度が異なるため、飽和する順序も異なり、先に飽和したフォトダイオードは、隣接フォトダイオードに影響を与える。例えば、先に飽和したフォトダイオードは、隣接フォトダイオードに電子を伝達し、隣接フォトダイオードの劣化を発生させる問題を引き起こす。具体的に、複数のフォトダイオードは、その大きさが異なり得るが、それぞれのフォトダイオードの電子伝達を制御するスイッチが大型フォトダイオードに位置する場合、フローティングディフュージョンノードが大型フォトダイオードに位置することになるため、隣接するフォトダイオードに影響を与える問題点が存在する。
【先行技術文献】
【特許文献】
【0004】
特開2024-12182号公報
【発明の概要】
【発明が解決しようとする課題】
【0005】
本発明は、上記従来の問題点に鑑みてなされたものであって、本発明の目的は、フォトダイオードの飽和による隣接フォトダイオードの劣化を防止するピクセルを含むイメージセンサを提供することにある。
【課題を解決するための手段】
【0006】
一実施形態による複数のピクセルを含むイメージセンサの少なくとも1つのピクセルは、第1フォトダイオードを含む第1領域、第1フォトダイオードと比較して小さいサイズの第2フォトダイオードを含む第2領域、及び第1領域と第2領域とを物理的に区分する第3領域を含み、第3領域は、第1領域の第1フローティングディフュージョンノードから放出される電子の第2領域の第2フローティングディフュージョンノードへの移動を遮断するスイッチを含むように構成される。
【0007】
また、一実施形態によるイメージセンサを構成するピクセルは、第1フォトダイオードを含む第1領域、第1フォトダイオードと比較して小さいサイズの第2フォトダイオードを含む第2領域、及び第1領域と第2領域とを物理的に区分する第3領域を含み、第3領域は、第1領域の第1フローティングディフュージョンノードから放出される電子の第2領域の第2フローティングディフュージョンノードへの移動を遮断するスイッチを含むように構成される。
【0008】
また、一実施形態による複数のピクセルを含むイメージセンサにおいて、複数のピクセルのうちの少なくとも1つのピクセルは、第1フォトダイオードを含む第1領域、及び第1フォトダイオードと比較して小さいサイズの第2フォトダイオードを含み、第1領域から物理的に離隔された第2領域、第1領域の第1フローティングディフュージョンノードと第2領域の第2フローティングディフュージョンノードとの連結を制御するスイッチ、及び第1領域と第2領域との電子伝達を抑制する不純物領域を含み、不純物領域は、第1領域及び第2領域に位置して第2フローティングディフュージョンノードに伝達する電子の移動を抑制するように構成された第1不純物領域、及び第1領域に位置して第2フローティングディフュージョンノードに伝達する電子の移動を抑制する第2不純物領域を含むように構成される。
【発明の効果】
【0009】
本発明のイメージセンサによれば、イメージセンサのピクセルに含まれる複数のフォトダイオードを物理的に離隔していずれかのフォトダイオードの飽和による隣接フォトダイオードの劣化を防止するピクセルを提供することができる。
【0010】
また、本発明のイメージセンサによれば、先に飽和したフォトダイオードの電子が隣接フォトダイオードに伝達することを抑制するピクセルを提供することができる。
【図面の簡単な説明】
(【0011】以降は省略されています)
この特許をJ-PlatPat(特許庁公式サイト)で参照する
関連特許
三星電子株式会社
半導体素子
25日前
三星電子株式会社
半導体素子
1か月前
三星電子株式会社
半導体素子
5日前
三星電子株式会社
半導体装置
5日前
三星電子株式会社
半導体素子
1日前
三星電子株式会社
電気集塵装置
29日前
三星電子株式会社
固体撮像素子
16日前
三星電子株式会社
固体撮像素子
16日前
三星電子株式会社
電力半導体素子
1か月前
三星電子株式会社
イメージセンサ
1か月前
三星電子株式会社
半導体パッケージ
24日前
三星電子株式会社
イメージセンサー
1か月前
三星電子株式会社
半導体パッケージ
1か月前
三星電子株式会社
集積回路装置の製造方法
1か月前
三星電子株式会社
帯電装置及び電気集塵装置
29日前
三星電子株式会社
撮像装置、および撮像プログラム
1か月前
三星電子株式会社
イメージセンサー及びその動作方法
1日前
三星電子株式会社
半導体パッケージ及びその製造方法
1か月前
三星電子株式会社
LED表示装置用Tiling基板
1か月前
三星電子株式会社
イメージセンサー及びその製造方法
1か月前
三星電子株式会社
演算装置を制御するホストの動作方法
1か月前
三星電子株式会社
半導体パッケージ装置及びこの製造方法
9日前
三星電子株式会社
回転磁気アレイ装置及び磁気冷凍システム
5日前
三星電子株式会社
回転磁気アレイ装置及び磁気冷凍システム
5日前
三星電子株式会社
シンプロビジョニングを通じたSSD仮想化
5日前
三星電子株式会社
ハイブリッドピクセル及びハイブリッドセンサ
15日前
三星電子株式会社
半導体装置及びそれを含むデータ格納システム
25日前
三星電子株式会社
トランスフォーマー加速装置およびその動作方法
17日前
三星電子株式会社
画像処理装置、画像処理方法、撮像装置及びプログラム
1か月前
三星電子株式会社
ニューロモルフィックコンピューティング装置及びその動作方法
3日前
三星電子株式会社
イメージセンサ、それを含む装置、及びイメージセンサの動作方法
25日前
三星電子株式会社
キャパシタ構造物を含む半導体装置及びこれを含むデータ記憶システム
3日前
三星電子株式会社
光半導体封止用樹脂組成物、硬化物、光半導体装置、および画像表示装置
1か月前
三星電子株式会社
化合物、高分子化合物、レジスト組成物、およびレジストパターン形成方法
23日前
三星電子株式会社
近赤外線遮断フィルタ用組成物、及び近赤外線遮断フィルタを含むイメージセンサ
1か月前
三星電子株式会社
熱交換器、この熱交換器を用いた熱交換システム及びこの熱交換器を用いた空気調和機
2日前
続きを見る
他の特許を見る