TOP
|
特許
|
意匠
|
商標
特許ウォッチ
Twitter
他の特許を見る
10個以上の画像は省略されています。
公開番号
2025160661
公報種別
公開特許公報(A)
公開日
2025-10-23
出願番号
2024063348
出願日
2024-04-10
発明の名称
プローブ
出願人
株式会社日本マイクロニクス
代理人
個人
,
個人
主分類
G01R
1/067 20060101AFI20251016BHJP(測定;試験)
要約
【課題】コイルスプリング部を有し、電気抵抗の増大と座屈の発生を抑制できるプローブを提供する。
【解決手段】プローブ10は、先端部11と、複数のコイルスプリング部121が弾性を有さない連結部122を介して軸方向に沿って連結されたバネ部12と、基端部13と、バネ部12の内側に配置され、先端部11と基端部13を電気的に接続する電流経路部材114Aを備える。プローブ10は、軸方向から見て4つの側面を有する矩形状であり、バネ部12が軸方向に収縮する際に電流経路部材114Aの端部が挿入する凹部が先端部11、基端部13および連結部122の少なくともいずれかに形成されている。
【選択図】図1
特許請求の範囲
【請求項1】
検査対象物の電気的特性の検査に使用されるプローブであって、
前記検査対象物に接触させる先端部と、
一方の端部が前記先端部に接続し、弾性を有する複数のコイルスプリング部が弾性を有さない連結部を介して軸方向に沿って連結されたバネ部と、
前記バネ部の他方の端部に接続する基端部と、
前記バネ部の内側に配置され、前記先端部と前記基端部を電気的に接続する電流経路部材と、
を備え、
前記軸方向から見て4つの側面を有する矩形状であり、
前記バネ部が前記軸方向に収縮する際に前記電流経路部材の端部が挿入する凹部が前記先端部、前記基端部および前記連結部の少なくともいずれかに形成されている、
プローブ。
続きを表示(約 620 文字)
【請求項2】
前記電流経路部材が、
一方の端部が前記先端部、前記連結部および前記基端部のいずれかに接続し、
他方の端部が前記凹部に対向し、
前記先端部と前記連結部の間、2つの前記連結部の間、および前記基端部と前記連結部の間の少なくともいずれかを架橋する、
請求項1に記載のプローブ。
【請求項3】
単一の前記電流経路部材が、前記連結部を前記軸方向に貫通する貫通孔の内側を通過して、前記先端部と前記基端部とを架橋する、請求項1に記載のプローブ。
【請求項4】
前記貫通孔の内壁面と前記電流経路部材を接続する接続部品を更に備える、請求項3に記載のプローブ。
【請求項5】
前記バネ部が複数の金属板を積層した構造を有する、請求項1乃至4のいずれか1項に記載のプローブ。
【請求項6】
弾性力が互いに異なる前記コイルスプリング部を少なくとも2つ含む、請求項1乃至4のいずれか1項に記載のプローブ。
【請求項7】
前記弾性力が互いに異なる2つの前記コイルスプリング部の一方の前記コイルスプリング部は、他方の前記コイルスプリング部と巻き数が異なる、請求項6に記載のプローブ。
【請求項8】
前記軸方向に垂直な方向から見て、前記コイルスプリング部の各線が湾曲する部分を含む、請求項1乃至4のいずれか1項に記載のプローブ。
発明の詳細な説明
【技術分野】
【0001】
本発明は、検査対象物の電気的特性の検査に使用するプローブに関する。
続きを表示(約 2,600 文字)
【背景技術】
【0002】
半導体集積回路などの検査対象物の電気的特性をウェハ状態で検査するために、プローブを含む電気的接続装置が使用されている。プローブを用いた検査では、プローブの一方の端部が検査対象物の電極に接触し、プローブの他方の端部が電気的接続装置に含まれる基板に配置された端子(以下において「ランド」も称する。)に接触する。ランドは、テスタなどの検査装置と電気的に接続される。
【先行技術文献】
【特許文献】
【0003】
特開2018-4260号公報
【発明の概要】
【発明が解決しようとする課題】
【0004】
検査対象物の電気的特性を正確に検査するために、検査対象物とランドとをプローブを介して安定して電気的に接続する必要がある。このため、軸方向に弾性を有するようにらせん状のコイルスプリング部を含むプローブの使用が有効であるが、コイルスプリング部を電流が流れるため、プローブの電流経路が長くなる。その結果、プローブの電気抵抗が増大し、電気的特性の測定精度が低下する。また、コイルスプリング部で座屈する問題が生じる。
【0005】
上記問題点に鑑み、本発明は、コイルスプリング部を有し、電気抵抗の増大と座屈の発生を抑制できるプローブを提供することを目的とする。
【課題を解決するための手段】
【0006】
本発明の一態様に係るプローブは、先端部と、複数のコイルスプリング部が弾性を有さない連結部を介して軸方向に沿って連結されたバネ部と、基端部と、バネ部の内側に配置され、先端部と基端部を電気的に接続する電流経路部材を備える。プローブは、軸方向から見て4つの側面を有する矩形状であり、バネ部が軸方向に収縮する際に電流経路部材の端部が挿入する凹部が先端部、基端部および連結部の少なくともいずれかに形成されている。
【発明の効果】
【0007】
本発明によれば、コイルスプリング部を有し、電気抵抗の増大と座屈の発生を抑制できるプローブを提供できる。
【図面の簡単な説明】
【0008】
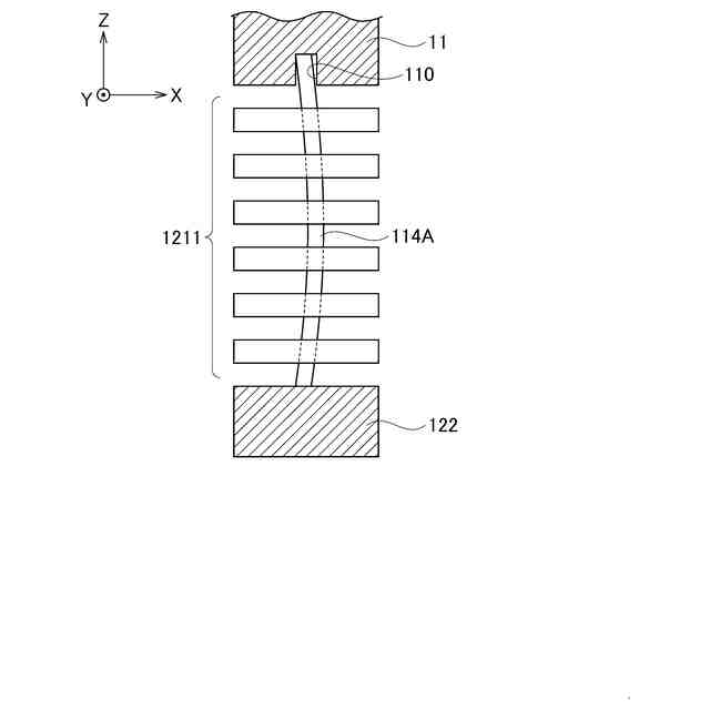
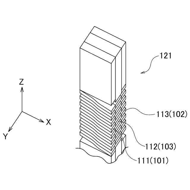
図1は、第1の実施形態に係るプローブの構成を示す模式的な側面図である。
図2は、第1の実施形態に係るプローブの構成を示す模式的な平面図である。
図3は、図1に示すプローブを構成する第1部品を示す模式図である。
図4は、図1に示すプローブを構成する第2部品を示す模式図である。
図5は、図1に示すプローブを構成する第3部品を示す模式図である。
図6は、第1の実施形態に係るプローブのコイルスプリング部の構成を示す模式図である。
図7は、第1の実施形態に係るプローブのコイルスプリング部を示す模式的な斜視図である。
図8は、図1に示すプローブを構成する電流経路部材を含む第4部品を示す模式図である。
図9は、図1に示すプローブの先端部と電流経路部材の接続を示す模式図である。
図10は、図1に示すプローブの連結部と電流経路部材の接続を示す模式図である。
図11は、第1の実施形態に係るプローブのコイルスプリング部の各線の形状を示す模式図である。
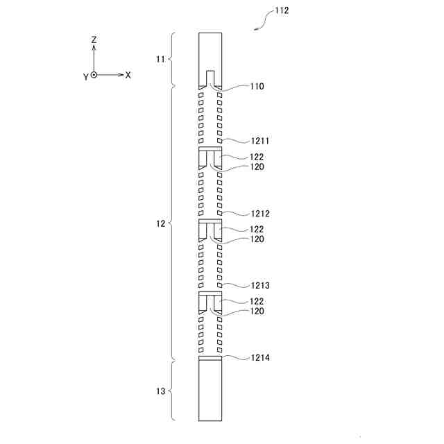
図12は、第2の実施形態に係るプローブの構成を示す模式的な側面図である。
図13は、図12に示すプローブを構成する第1部品を示す模式図である。
図14は、図12に示すプローブを構成する第2部品を示す模式図である。
図15は、図12に示すプローブを構成する第3部品を示す模式図である。
図16は、図12に示すプローブを構成する電流経路部材を示す模式図である。
図17は、図17に示すプローブの電流経路部材の接続方法を示す模式図である。
図18は、第2の実施形態の変形例に係るプローブの構成を示す模式的な側面図である。
図19は、図18に示すプローブを構成する第1部品を示す模式図である。
図20は、図18に示すプローブを構成する第2部品を示す模式図である。
図21は、図18に示すプローブを構成する第3部品を示す模式図である。
図22は、図18に示すプローブの電流経路部材の接続方法を示す模式図である。
図23は、その他の実施形態に係るプローブの連結部の開口形状の例を示す模式的な断面図である。
図24は、その他の実施形態に係るプローブの連結部の開口形状の他の例を示す模式的な断面図である。
【発明を実施するための形態】
【0009】
次に、図面を参照して、本発明の実施形態を説明する。以下の図面の記載において、同一又は類似の部分には同一又は類似の符号を付している。ただし、図面は模式的なものであり、各部の厚みの比率などは現実のものとは異なることに留意すべきである。また、図面相互間においても互いの寸法の関係や比率が異なる部分が含まれていることはもちろんである。以下に示す実施形態は、この発明の技術的思想を具体化するための装置や方法を例示するものであって、この発明の実施形態は、構成部品の材質、形状、構造および配置などを下記のものに特定するものでない。
【0010】
(第1の実施形態)
図1に示す第1の実施形態に係るプローブ10は、検査対象物の電気的特性の検査に使用される。プローブ10の軸方向の一方の端部に検査対象物に接触させる先端部11が配置され、他方の端部にランドと接触させる基端部13が配置されている。プローブ10では、先端部11と基端部13の間に、弾性を有する第1コイルスプリング部1211~第4コイルスプリング部1214が、弾性を有さない連結部122を介して軸方向に沿って連結されている。以下において、第1コイルスプリング部1211~第4コイルスプリング部1214のそれぞれを限定しない場合は、「コイルスプリング部121」と表記する。プローブ10において、先端部11と基端部13の間に位置し、コイルスプリング部121と連結部122を含む部分をバネ部12と称する。
(【0011】以降は省略されています)
この特許をJ-PlatPat(特許庁公式サイト)で参照する
関連特許
個人
メジャー文具
29日前
日本精機株式会社
検出装置
今日
個人
採尿及び採便具
6日前
個人
高精度同時多点測定装置
21日前
個人
アクセサリー型テスター
22日前
ユニパルス株式会社
ロードセル
28日前
甲神電機株式会社
電流検出装置
今日
株式会社ミツトヨ
測定器
12日前
アズビル株式会社
電磁流量計
15日前
株式会社ヨコオ
ソケット
28日前
株式会社チノー
放射光測温装置
28日前
ダイキン工業株式会社
監視装置
26日前
株式会社ヨコオ
ソケット
27日前
トヨタ自動車株式会社
監視装置
27日前
TDK株式会社
磁気センサ
27日前
長崎県
形状計測方法
22日前
双庸電子株式会社
誤配線検査装置
1日前
TDK株式会社
ガスセンサ
28日前
愛知時計電機株式会社
ガスメータ
12日前
大和製衡株式会社
組合せ計量装置
9日前
愛知電機株式会社
軸部材の外観検査装置
9日前
個人
システム、装置及び実験方法
15日前
TDK株式会社
ガスセンサ
1か月前
ローム株式会社
半導体装置
20日前
ローム株式会社
半導体装置
20日前
大和製衡株式会社
組合せ計量装置
9日前
三恵技研工業株式会社
融雪レドーム
27日前
日本特殊陶業株式会社
センサ
12日前
日東精工株式会社
振動波形検査装置
1日前
トヨタ自動車株式会社
測定システム
19日前
ダイハツ工業株式会社
移動支援装置
27日前
株式会社デンソー
電流センサ
20日前
三菱マテリアル株式会社
温度センサ
29日前
中国電力株式会社
電柱管理システム
26日前
日本特殊陶業株式会社
センサ
26日前
日本特殊陶業株式会社
センサ
26日前
続きを見る
他の特許を見る