TOP
|
特許
|
意匠
|
商標
特許ウォッチ
Twitter
他の特許を見る
10個以上の画像は省略されています。
公開番号
2025162347
公報種別
公開特許公報(A)
公開日
2025-10-27
出願番号
2024065588
出願日
2024-04-15
発明の名称
組合せ計量装置
出願人
大和製衡株式会社
代理人
個人
主分類
G01G
19/387 20060101AFI20251020BHJP(測定;試験)
要約
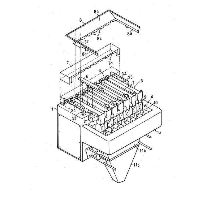
【課題】 並列配備された複数のベルトコンベヤを本体ケースの上部に脱着可能に搭載配備し、各ベルトコンベヤで搬送した被計量物をそれぞれ計量ユニットに送り込むよう構成した組合せ計量装置において、被計量物を円滑に並列搬送して計量箇所に送り込むことができるとともに、部材や機構を取り外しての清掃などのメンテナンス作業を容易に行うことができるようにする。
【解決手段】 隣接するベルトコンベヤ2の間に形成された隙間を塞ぐカバーガイド6を、ベルトコンベヤ2のコンベヤフレーム24に脱着可能に連結支持するとともに、供給された被計量物をベルトコンベヤ2の始端部に導く供給ガイド8、及び、本体ケース1の上部に並列設置したコンベヤ駆動用の駆動ケース5群を覆うカバーケース7を、それぞれ脱着可能に本体ケースの上部に設置してある。
【選択図】 図3
特許請求の範囲
【請求項1】
並列配備された複数のベルトコンベヤを本体ケースの上部に脱着可能に搭載配備し、各ベルトコンベヤで搬送した被計量物をそれぞれ計量ユニットに送り込むよう構成した組合せ計量装置において、
隣接する前記ベルトコンベヤの間に形成された隙間を塞ぐカバーガイドを、ベルトコンベヤのコンベヤフレームに脱着可能に連結支持するとともに、供給された被計量物をベルトコンベヤの始端部に導く供給ガイド、及び、本体ケースの上部に並列設置したコンベヤ駆動用の駆動ケース群を覆うカバーケースを、それぞれ脱着可能に本体ケースの上部に設置してある、
ことを特徴とする組合せ計量装置。
続きを表示(約 440 文字)
【請求項2】
前記供給ガイドに、最外側端のベルトコンベヤの横外側に沿う搬送ガイド部を備えてある、
請求項1に記載の組合せ計量装置。
【請求項3】
前記供給ガイドの前記搬送ガイド部を本体ケースに備えた取付け座に連結するよう構成してある、
請求項2に記載の組合せ計量装置。
【請求項4】
前記カバーガイドを、隣接するベルトコンベヤの対向するコンベヤフレームに亘って上方から係合支持してある、
請求項3に記載の組合せ計量装置。
【請求項5】
前記供給ガイドに、被計量物をベルトコンベヤの始端部に導く流下案内部を備えるとともに、この流下案内部の下端部に、前記カバーガイドの端部が入込む凹部を形成してある、
請求項4に記載の組合せ計量装置。
【請求項6】
前記カバーケースを、前記供給ガイドにおける流下案内部の下方に潜り込み近接させてある、
請求項5に記載の組合せ計量装置。
発明の詳細な説明
【技術分野】
【0001】
本発明は、計量処理する食品などの各種の被計量物を分散搬送して計量するようにした組合せ計量装置に関する。
続きを表示(約 1,100 文字)
【背景技術】
【0002】
ベルトコンベヤを利用して被計量物を分散搬送する組合せ計量装置としては、例えば、特許文献1に示されているように、複数のベルトコンベヤを並列配備するとともに、各ベルトコンベヤで分散して搬送した被計量物を、複数連の計量ユニットを備えた計量箇所に送り込むよう構成したものが提案されている。
特開2023-175545号
【発明の概要】
【発明が解決しようとする課題】
【0003】
食品を取扱う組合せ計量装置においては、比較的頻繁に洗浄などのメンテナンス作業を行うことが多く、この際、組み付けられた部材や機構を容易に脱着できることが望まれる。
【0004】
本発明は、このような点に着目してなされたものであって、被計量物を円滑に並列搬送して計量箇所に送り込むことができるとともに、部材や機構を取り外しての清掃などのメンテナンス作業を容易に行うことができるようにすることを目的としている。
【課題を解決するための手段】
【0005】
上記目的を達成するために、本発明では次のように構成している。
【0006】
(1)本発明に係る組合せ計量装置は、
並列配備された複数のベルトコンベヤを本体ケースの上部に脱着可能に搭載配備し、各ベルトコンベヤで搬送した被計量物をそれぞれ計量ユニットに送り込むよう構成した組合せ計量装置において、
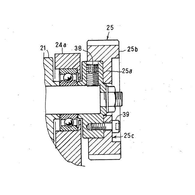
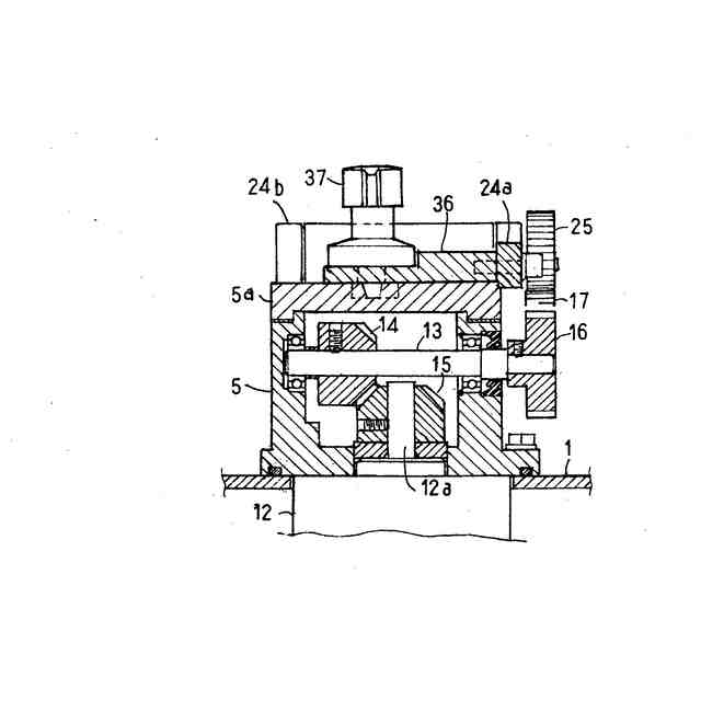
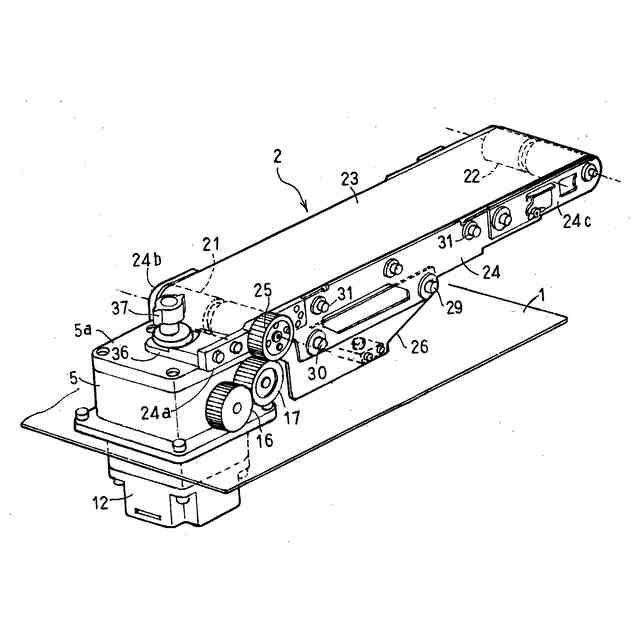
隣接する前記ベルトコンベヤの間に形成された隙間を塞ぐカバーガイドを、ベルトコンベヤのコンベヤフレームに脱着可能に連結支持するとともに、供給された被計量物をベルトコンベヤの始端部に導く供給ガイド、及び、本体ケースの上部に並列設置したコンベヤ駆動用の駆動ケース群を覆うカバーケースを、それぞれ脱着可能に本体ケースの上部に設置してある。
【0007】
この構成によると、供給された被計量物は、供給ガイドによってベルトコンベヤの搬送始端部に円滑に導かれ、隣接するベルトコンベヤの間からこぼれ落ちることなく、的確に計量ユニットに送り込まれる。
【0008】
また、コンベヤ駆動用の駆動ケース群は、カバーケースで覆われて保護され、被計量物の欠片や遊離した汁が駆動箇所に降りかかることが防止される。
【0009】
そして、カバーガイド、供給ガイド、及び、カバーケースをベルトコンベヤ共々に取り外すことで、清掃等のメンテナンス作業時を容易に行うことができる。
【0010】
(2)本発明の好ましい実施態様では、
前記供給ガイドに、最外側端のベルトコンベヤの横外側に沿う搬送ガイド部を備えてある。
(【0011】以降は省略されています)
この特許をJ-PlatPat(特許庁公式サイト)で参照する
関連特許
大和製衡株式会社
組合せ秤
1か月前
大和製衡株式会社
組合せ秤
1か月前
大和製衡株式会社
物品供給装置
2日前
大和製衡株式会社
組合せ計量装置
2日前
大和製衡株式会社
組合せ計量装置
2日前
大和製衡株式会社
箱詰め装置及び箱詰め方法
1か月前
大和製衡株式会社
層厚調整装置及び組合せ秤
1か月前
個人
メジャー文具
22日前
個人
アクセサリー型テスター
15日前
個人
高精度同時多点測定装置
14日前
日本精機株式会社
位置検出装置
28日前
日本精機株式会社
位置検出装置
28日前
日本精機株式会社
位置検出装置
28日前
株式会社ミツトヨ
測定器
5日前
ユニパルス株式会社
ロードセル
21日前
アズビル株式会社
電磁流量計
8日前
アズビル株式会社
圧力センサ
27日前
トヨタ自動車株式会社
監視装置
20日前
エイブリック株式会社
磁気センサ回路
27日前
株式会社ヨコオ
ソケット
21日前
株式会社チノー
放射光測温装置
21日前
ダイキン工業株式会社
監視装置
19日前
株式会社ヨコオ
ソケット
20日前
個人
システム、装置及び実験方法
8日前
TDK株式会社
ガスセンサ
27日前
愛知電機株式会社
軸部材の外観検査装置
2日前
株式会社東芝
重量測定装置
26日前
大和製衡株式会社
組合せ計量装置
2日前
大和製衡株式会社
組合せ計量装置
2日前
ローム株式会社
半導体装置
13日前
TDK株式会社
ガスセンサ
26日前
ローム株式会社
半導体装置
13日前
長崎県
形状計測方法
15日前
愛知時計電機株式会社
ガスメータ
5日前
TDK株式会社
ガスセンサ
21日前
TDK株式会社
磁気センサ
20日前
続きを見る
他の特許を見る