TOP
|
特許
|
意匠
|
商標
特許ウォッチ
Twitter
他の特許を見る
公開番号
2025158683
公報種別
公開特許公報(A)
公開日
2025-10-17
出願番号
2024061467
出願日
2024-04-05
発明の名称
測定システム
出願人
トヨタ自動車株式会社
代理人
個人
主分類
G01R
19/00 20060101AFI20251009BHJP(測定;試験)
要約
【課題】電池の電圧をより正確に検出することに寄与する測定システムを提供する。
【解決手段】一実施形態にかかる測定システムSは、電池セルユニット11から駆動電力が供給されるIC16であって、電池セルXがインバータ20に接続されていない場合に、電池セルXからの電圧を第1の検出値として検出し、電池セルXがインバータ20に接続されている場合に、電池セルXからの電圧を第2の検出値として検出するIC16と、電池セルXがインバータ20に接続されていない場合に、電池セルXからの電圧を第3の検出値として検出するIC17と、第1の検出値と、第3の検出値との差分を用いて、第2の検出値を補正する電池ECU18を備える。
【選択図】図1
特許請求の範囲
【請求項1】
電池セルから駆動電力が供給される第1の電圧検出部であって、前記電池セルがインバータに接続されていない場合に、前記電池セルからの電圧を第1の検出値として検出し、前記電池セルが前記インバータに接続されている場合に、前記電池セルからの電圧を第2の検出値として検出する第1の電圧検出部と、
前記電池セルが前記インバータに接続されていない場合に、前記電池セルからの電圧を第3の検出値として検出する第2の電圧検出部と、
前記第1の検出値と、前記第3の検出値との差分を用いて、前記第2の検出値を補正する制御部と、を備える、
測定システム。
発明の詳細な説明
【技術分野】
【0001】
本開示は測定システムに関する。
続きを表示(約 1,300 文字)
【背景技術】
【0002】
電池の状態を監視する技術が開発されている。例えば、特許文献1は、測定用IC(Integrated Circuit)で検出された複数の単位電池の電圧と、単位電池に隣接する導電部材の電圧とに基づき、単位電池の状態を監視する電池監視装置を記載している。
【先行技術文献】
【特許文献】
【0003】
特開2016-146728号公報
【発明の概要】
【発明が解決しようとする課題】
【0004】
特許文献1において、測定対象である単位電池が測定用ICの駆動用電源となり、測定用ICの電力線と単位電池の電圧検出線とが同じ経路で構成される場合には、電圧の検出精度が劣化する可能性があった。これは、測定用ICの消費電流が、単位電池と測定用ICとの間に存在する配線抵抗に流れることで電圧降下が発生し得ることに起因する。
【0005】
本開示は、電池の電圧をより正確に検出することに寄与する測定システムを提供するものである。
【課題を解決するための手段】
【0006】
本開示の例示的な一態様に係る測定システムは、電池セルから駆動電力が供給される第1の電圧検出部であって、前記電池セルがインバータに接続されていない場合に、前記電池セルからの電圧を第1の検出値として検出し、前記電池セルが前記インバータに接続されている場合に、前記電池セルからの電圧を第2の検出値として検出する第1の電圧検出部と、前記電池セルが前記インバータに接続されていない場合に、前記電池セルからの電圧を第3の検出値として検出する第2の電圧検出部と、前記第1の検出値と、前記第3の検出値との差分を用いて、前記第2の検出値を補正する制御部と、を備える。
【発明の効果】
【0007】
本開示により、電池の電圧をより正確に検出することに寄与する測定システムを提供することができる。
【図面の簡単な説明】
【0008】
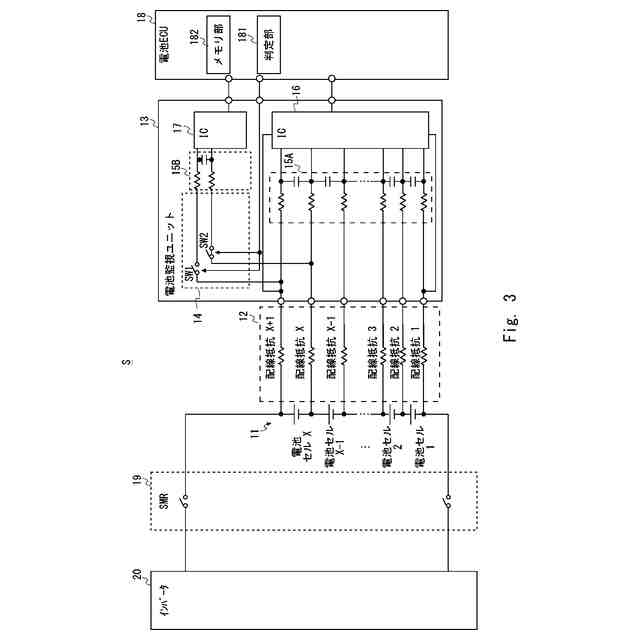
測定システムのブロック図である。
測定システムの動作を示すフローチャートである。
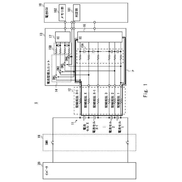
測定システムの別のブロック図である。
【発明を実施するための形態】
【0009】
実施の形態1
以下、図面を参照して本発明の実施の形態について説明する。なお、以下の記載及び図面は、説明の明確化のため、適宜、省略及び簡略化がなされている。
【0010】
図1は、測定システムの第1のブロック図を示す。測定システムSは、車両に搭載される電池の測定システムであり、電池セルユニット11、フレキシブルプリント基板(FPC)12、電池監視ユニット13、電池ECU(Electronic Control Unit)18、システムメインリレー(SMR)19及びインバータ20を備える。電池監視ユニット13は、同一基板上に構成された部品である、スイッチ(SW)ユニット14、ノイズフィルタ15A及び15B、IC16並びにIC17を有する。以下、ノイズフィルタを単にフィルタとも記載する。
(【0011】以降は省略されています)
この特許をJ-PlatPat(特許庁公式サイト)で参照する
関連特許
トヨタ自動車株式会社
車両
14日前
トヨタ自動車株式会社
車両
8日前
トヨタ自動車株式会社
椅子
9日前
トヨタ自動車株式会社
車両
6日前
トヨタ自動車株式会社
車体
2日前
トヨタ自動車株式会社
車両
1日前
トヨタ自動車株式会社
車両
今日
トヨタ自動車株式会社
電池
15日前
トヨタ自動車株式会社
方法
1日前
トヨタ自動車株式会社
車両
13日前
トヨタ自動車株式会社
方法
今日
トヨタ自動車株式会社
方法
今日
トヨタ自動車株式会社
電池
16日前
トヨタ自動車株式会社
車両
20日前
トヨタ自動車株式会社
方法
9日前
トヨタ自動車株式会社
方法
9日前
トヨタ自動車株式会社
電池
6日前
トヨタ自動車株式会社
電動車
9日前
トヨタ自動車株式会社
電動車
20日前
トヨタ自動車株式会社
電解液
20日前
トヨタ自動車株式会社
電磁弁
9日前
トヨタ自動車株式会社
電動車
20日前
トヨタ自動車株式会社
電動車
20日前
トヨタ自動車株式会社
モータ
1日前
トヨタ自動車株式会社
電動車
16日前
トヨタ自動車株式会社
加熱器
13日前
トヨタ自動車株式会社
自動車
今日
トヨタ自動車株式会社
モータ
7日前
トヨタ自動車株式会社
ケース
15日前
トヨタ自動車株式会社
固定子
14日前
トヨタ自動車株式会社
飛行体
6日前
トヨタ自動車株式会社
冷却構造
1日前
トヨタ自動車株式会社
端末装置
6日前
トヨタ自動車株式会社
塗工装置
14日前
トヨタ自動車株式会社
塗工装置
1日前
トヨタ自動車株式会社
切断装置
20日前
続きを見る
他の特許を見る