TOP
|
特許
|
意匠
|
商標
特許ウォッチ
Twitter
他の特許を見る
10個以上の画像は省略されています。
公開番号
2025161371
公報種別
公開特許公報(A)
公開日
2025-10-24
出願番号
2024064498
出願日
2024-04-12
発明の名称
検体搬送装置、検体分析システム、及び検体前処理装置
出願人
株式会社日立ハイテク
代理人
ポレール弁理士法人
主分類
G01N
35/04 20060101AFI20251017BHJP(測定;試験)
要約
【課題】被搬送体の停止時の位置の推定精度が高く、かつ、被搬送体の動き出し時の推力が大きい搬送装置を提供する。
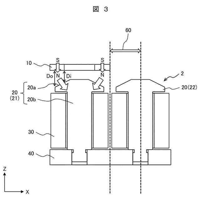
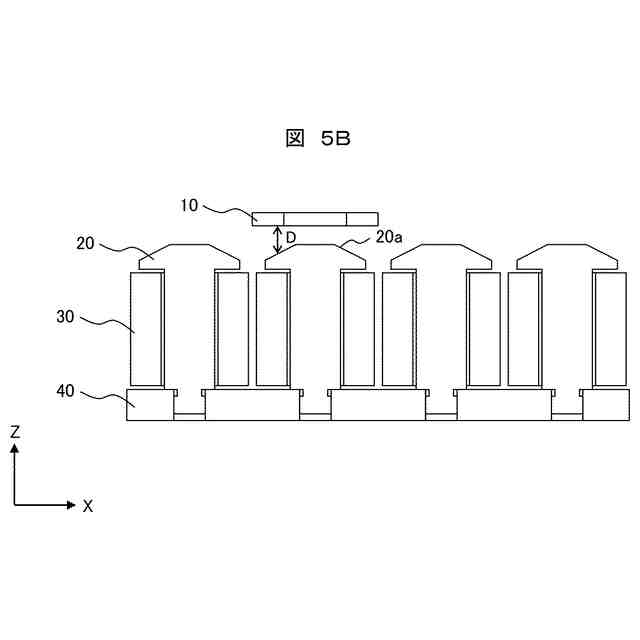
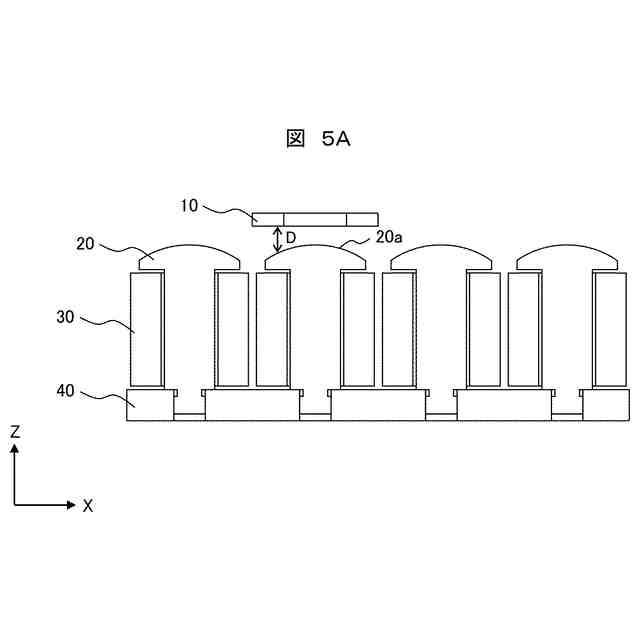
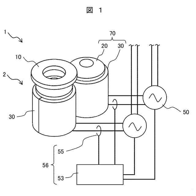
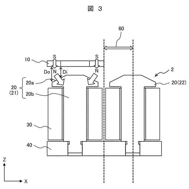
【解決手段】本発明による搬送装置は、磁性体で構成されたティース20とティース20に巻かれたコイル30とをそれぞれが備える複数の電磁石70と、永久磁石10を備え、電磁石70より上方に配置された被搬送体11と、永久磁石10の位置を検出する位置検出部56とを備える。被搬送体は、生体試料である検体を収容した検体容器を保持する容器キャリアである。位置検出部56は、コイル30に鎖交する永久磁石10の磁束の変化に基づいて、永久磁石10の位置を求める。永久磁石10は、リング形状である。永久磁石10の中心がティース20の中心の直上に位置するときにおいて、このティース20の上面部20aと永久磁石10の下面との距離は、永久磁石10の内周部と永久磁石10の外周部とで互いに異なる。
【選択図】図3
特許請求の範囲
【請求項1】
磁性体で構成されたティースと前記ティースに巻かれたコイルとをそれぞれが備える複数の電磁石と、
永久磁石を備え、前記電磁石より上方に配置された被搬送体と、
前記永久磁石の位置を検出する位置検出部と、
を備え、
前記被搬送体は、生体試料である検体を収容した検体容器を保持する容器キャリアであり、分析部までの搬送ラインの少なくとも一部で搬送され、
前記分析部では、試薬で反応した前記生体試料について、前記生体試料に含まれる成分が分析され、
前記位置検出部は、前記コイルに鎖交する前記永久磁石の磁束の変化に基づいて、前記永久磁石の位置を求め、
前記永久磁石は、リング形状であり、
前記永久磁石の中心が前記ティースの中心の直上に位置するときにおいて、この前記ティースの上面部と前記永久磁石の下面との距離は、前記永久磁石の内周部と前記永久磁石の外周部とで互いに異なる、
ことを特徴とする検体搬送装置。
続きを表示(約 1,800 文字)
【請求項2】
前記永久磁石の中心が前記ティースの中心の直上に位置するときにおいて、前記永久磁石の内周部における前記距離は、前記永久磁石の外周部における前記距離よりも小さい、
請求項1に記載の検体搬送装置。
【請求項3】
前記位置検出部は、電流検出装置と位置演算部を備え、
電流検出装置は、前記コイルに流れる電流を検出し、
前記位置演算部は、前記電流検出装置が検出した電流の時間変化を用いて前記コイルのインダクタンスを推定し、推定したインダクタンスの変化に基づいて前記永久磁石の位置を求める、
請求項1に記載の検体搬送装置。
【請求項4】
前記ティースの前記上面部は、前記距離が、前記上面部の周縁部から中央部に向かうにつれて小さくなる形状を持つ、
請求項1に記載の検体搬送装置。
【請求項5】
前記ティースの前記上面部は、前記中央部が、前記永久磁石の下面と平行な平面部であり、前記周縁部が、前記距離が前記中央部に向かうにつれて小さくなるように傾斜している平面である、
請求項4に記載の検体搬送装置。
【請求項6】
前記永久磁石の中心が前記ティースの中心の直上に位置するときには、前記ティースの前記上面部は、前記周縁部がリング形状の前記永久磁石の下面と対向する、
請求項5に記載の検体搬送装置。
【請求項7】
前記ティースの前記上面部は、前記永久磁石の下面と平行な平面である周縁部と中央部を備え、前記中央部での前記距離が前記周縁部での前記距離よりも小さい、
請求項1に記載の検体搬送装置。
【請求項8】
被搬送体が、生体試料である検体を収容した検体容器を保持する容器キャリアであり、
前記被搬送体が配置される搬入部と、
搬送された前記検体を分析する分析部と、
前記搬入部から前記分析部に前記被搬送体を搬送する検体搬送装置と、
を備え、
前記分析部は、試薬で反応した前記生体試料について、前記生体試料に含まれる成分を分析し、
前記検体搬送装置は、
磁性体で構成されたティースと前記ティースに巻かれたコイルとをそれぞれが備える複数の電磁石と、
永久磁石を備え、前記電磁石より上方に配置された前記被搬送体と、
前記永久磁石の位置を検出する位置検出部と、
を備え、
前記位置検出部は、前記コイルに鎖交する前記永久磁石の磁束の変化に基づいて、前記永久磁石の位置を求め、
前記永久磁石は、リング形状であり、
前記永久磁石の中心が前記ティースの中心の直上に位置するときにおいて、この前記ティースの上面部と前記永久磁石の下面との距離は、前記永久磁石の内周部と前記永久磁石の外周部とで互いに異なる、
ことを特徴とする検体分析システム。
【請求項9】
被搬送体が、生体試料である検体を収容した検体容器を保持する容器キャリアであり、
前記検体を分析するための検体分析システムが接続されており、
前記検体分析システムに搬送される前記検体に前処理を実行する前処理ユニットと、
前記検体分析システムに前記被搬送体を搬送する検体搬送装置と、
を備え、
前記検体分析システムは、試薬で反応した前記生体試料について、前記生体試料に含まれる成分を分析する分析部を備え、
前記検体搬送装置は、
磁性体で構成されたティースと前記ティースに巻かれたコイルとをそれぞれが備える複数の電磁石と、
永久磁石を備え、前記電磁石より上方に配置された前記被搬送体と、
前記永久磁石の位置を検出する位置検出部と、
を備え、
前記位置検出部は、前記コイルに鎖交する前記永久磁石の磁束の変化に基づいて、前記永久磁石の位置を求め、
前記永久磁石は、リング形状であり、
前記永久磁石の中心が前記ティースの中心の直上に位置するときにおいて、この前記ティースの上面部と前記永久磁石の下面との距離は、前記永久磁石の内周部と前記永久磁石の外周部とで互いに異なる、
ことを特徴とする検体前処理装置。
発明の詳細な説明
【技術分野】
【0001】
本発明は、生体試料である検体を搬送する検体搬送装置、検体の分析を行う検体分析システム、及び検体に前処理を行う検体前処理装置に関する。
続きを表示(約 1,900 文字)
【背景技術】
【0002】
臨床検査のための検体分析システムでは、血液、血漿、血清、尿、その他の体液などの生体試料(検体)に対し、指示された分析項目の検査を実行する。このような検体分析システムでは、複数種類の装置が接続されており、自動的に各工程を処理することができる。つまり、検査室の業務合理化のために、生化学や免疫などの複数の分野の分析部や分析に必要な前処理を行う前処理部が搬送装置(搬送ライン)で接続され、これらが1つのシステムとして運用されている。
【0003】
従来の検体分析システムでは、搬送装置は、主にベルト駆動方式によって検体を搬送する。このベルト駆動方式では、ベルトになんらかの異常が発生して検体の搬送が停止すると、各装置へ検体を供給できなくなり、検体の分析が中断される。このため、ベルト駆動方式を用いた搬送装置では、ベルトの異常(例えば摩耗)について十分に注意を払う必要がある。そういうわけで、電磁吸引力を推力に利用して検体を搬送する方式が注目されている。
【0004】
医療の高度化及び高齢化社会の進展により、検体処理の重要性が高まってきている。そこで、検体分析システムの分析処理能力の向上のために、検体に対し、高速搬送、大量同時搬送、及び複数方向への搬送の可能な装置が望まれている。このような搬送を実現する従来の技術の例は、特許文献1に記載されている。
【0005】
特許文献1に記載された搬送装置は、非常に柔軟であり高い搬送性能を有し、磁性体が設けられた搬送容器を目的位置に搬送する。特許文献1に記載された搬送装置は、コアとコアに巻かれているコイルを有する複数の磁極と、複数の磁極のコイルの各々に電圧を印加する駆動部と、コイルに流れる電流値を検出する電流検出部と、電流検出部で検出された電流値に基づいて搬送容器の位置を推定する演算部と、磁性体が搬送面上に無い状態において、複数の磁極のコイルの各々に固定値のパルス電圧が印加された際の各磁極毎の電流変化量を記憶する記憶部とを備える。演算部は、搬送容器の位置検出時に取得するコイルの電流変化量と、記憶部に記憶されている磁性体が無い状態での該当するコイルの電流変化量との偏差に基づいて搬送容器の位置を推定する。
【先行技術文献】
【特許文献】
【0006】
特開2021-189069号公報
【発明の概要】
【発明が解決しようとする課題】
【0007】
特許文献1に記載されたような従来の搬送装置では、ティース(コア)に巻かれたコイルに流れる電流値に基づいて、磁石が設置された被搬送体(例えば、搬送容器)の位置を推定する。ティースの直上は、被搬送体の停止位置であり、検体分析システムにおいて分注やキャップの開栓と閉栓を行う際に、高い精度で被搬送体が停止することが求められている。また、ティースの直上は、被搬送体が動き出して移動を開始する位置である。
【0008】
ティースの直上での被搬送体の位置の推定精度が低下すると、被搬送体の停止の目標位置からのずれや、目標位置からのオーバーシュートやアンダーシュートが生じることがある。また、被搬送体の位置の推定精度が低下すると、位置の推定誤差により、被搬送体の速度や推力を指令通りに制御できず、被搬送体を安定して搬送するのが困難になる場合もある。さらには、被搬送体が液状の検体を収容している場合には、被搬送体の速度むらにより検体が揺れて泡立ちや液こぼれが生じ、検体の分析に悪い影響を及ぼすことがある。
【0009】
また、搬送装置では、被搬送体を安定して搬送するとともに、搬送時間を短縮し、搬送装置の駆動時の発熱を抑制することも重要である。このためには、搬送装置は、搬送の開始時に、小さな電流で大きな推力を発生させる必要がある。推力を大きくするためには、被搬送体に設置される磁石の径や厚さを大きくするのが有効である。しかし、この磁石の径や厚さを大きくすると、被搬送体がティースの直上近傍に近づいた際に、被搬送体の磁石の磁束の影響により磁路に飽和が発生し、被搬送体の位置が変化してもコイルの電流変化量が変化せず、被搬送体の位置の推定精度が低下することがある。
【0010】
このため、被搬送体の停止時の位置の推定精度が高く、かつ、被搬送体の動き出し時の推力が大きい搬送装置が望まれている。
(【0011】以降は省略されています)
この特許をJ-PlatPat(特許庁公式サイト)で参照する
関連特許
個人
メジャー文具
22日前
個人
高精度同時多点測定装置
14日前
個人
アクセサリー型テスター
15日前
ユニパルス株式会社
ロードセル
21日前
株式会社ミツトヨ
測定器
5日前
アズビル株式会社
電磁流量計
8日前
株式会社ヨコオ
ソケット
21日前
株式会社ヨコオ
ソケット
20日前
株式会社チノー
放射光測温装置
21日前
エイブリック株式会社
磁気センサ回路
27日前
ダイキン工業株式会社
監視装置
19日前
トヨタ自動車株式会社
監視装置
20日前
大和製衡株式会社
組合せ計量装置
2日前
ローム株式会社
半導体装置
13日前
ローム株式会社
半導体装置
13日前
株式会社東芝
重量測定装置
26日前
愛知電機株式会社
軸部材の外観検査装置
2日前
TDK株式会社
ガスセンサ
21日前
個人
システム、装置及び実験方法
8日前
長崎県
形状計測方法
15日前
TDK株式会社
ガスセンサ
26日前
大和製衡株式会社
組合せ計量装置
2日前
愛知時計電機株式会社
ガスメータ
5日前
TDK株式会社
磁気センサ
20日前
三菱マテリアル株式会社
温度センサ
22日前
トヨタ自動車株式会社
測定システム
12日前
日本特殊陶業株式会社
センサ
5日前
ダイハツ工業株式会社
移動支援装置
20日前
三恵技研工業株式会社
融雪レドーム
20日前
日本特殊陶業株式会社
センサ
19日前
多摩川精機株式会社
冗長エンコーダ
20日前
日本特殊陶業株式会社
センサ
19日前
株式会社デンソー
電流センサ
13日前
日本特殊陶業株式会社
センサ
19日前
日本特殊陶業株式会社
センサ
19日前
中国電力株式会社
電柱管理システム
19日前
続きを見る
他の特許を見る